DMC:V2500-A5-72-32-72-02A-941A-DIssue No:003.00Issue Date:2020-02-01
Export Control
EAR Export Classification: Not subject to the EAR per 15 C.F.R. Chapter 1, Part 734.3(b)(3), except for the following Service Bulletins which are currently published as EAR Export Classification 9E991: SBE70-0992, SBE72-0483, SBE72-0580, SBE72-0588, SBE72-0640, SBE73-0209, SBE80-0024 and SBE80-0025.Copyright
© IAE International Aero Engines AG (2001, 2014 - 2021) The information contained in this document is the property of © IAE International Aero Engines AG and may not be copied or used for any purpose other than that for which it is supplied without the express written authority of © IAE International Aero Engines AG. (This does not preclude use by engine and aircraft operators for normal instructional, maintenance or overhaul purposes.).Applicability
All
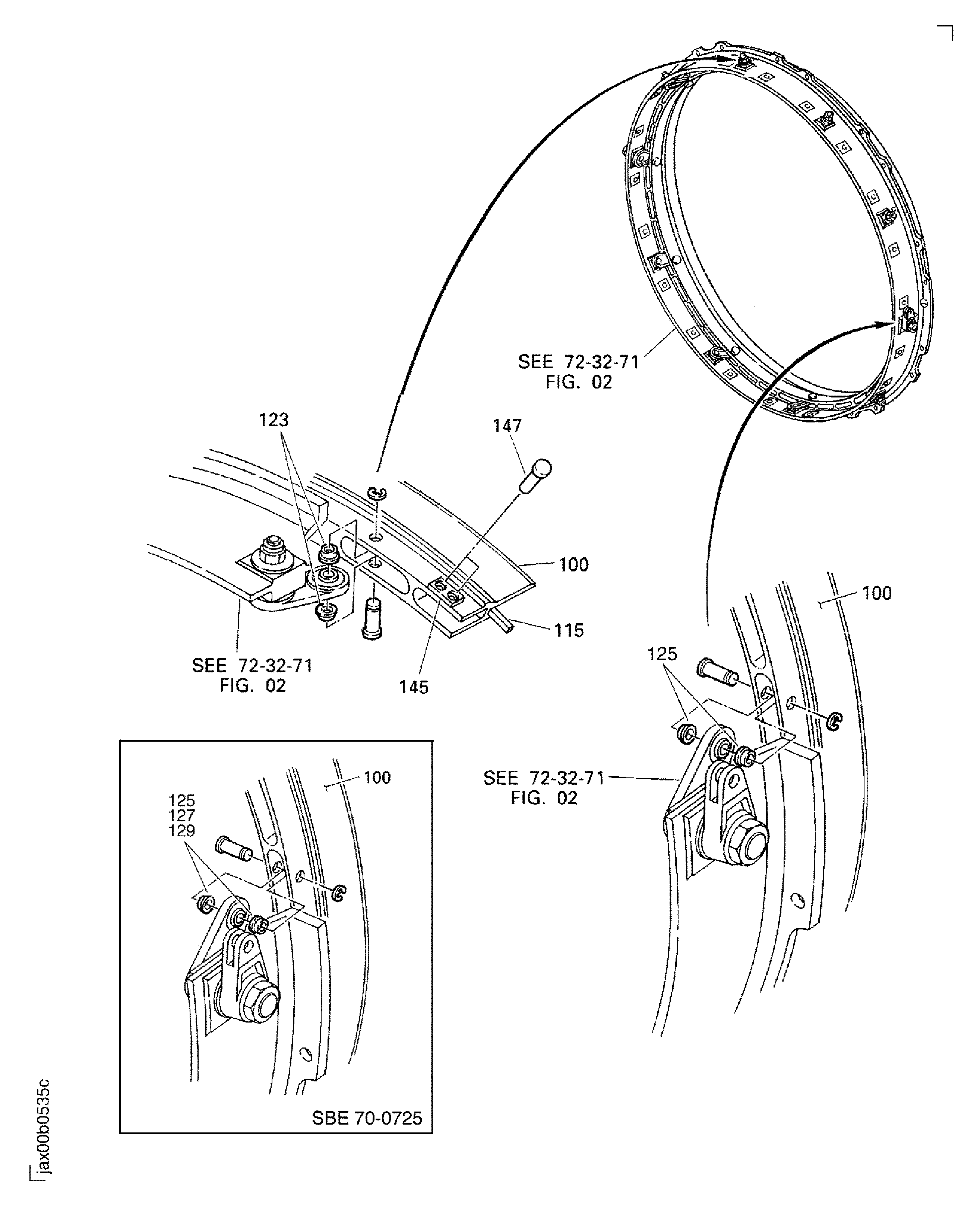
| Fig. Item | Part No. | Description | Effect/Model Applic. | UPA |
|---|---|---|---|---|
| 02 | ||||
| - | B72327202 | ENGINE - BLEED VALVE, PRE SBE70-0262 | aa | |
| - | SBE0262-01 | ENGINE - BLEED VALVE, PRE SBE70-0470 | ab | |
| - | SBE0470-01 | ENGINE - BLEED VALVE, PRE SBE70-0725 | ac | |
| - | SBE0725-01 | ENGINE - BLEED VALVE, PRE SBE70-0824 | ad | |
| - | SBE0824-01 | ENGINE - BLEED VALVE ACTUATING RING, PRE SBE72-0704 | ae | |
| - | SBE0704-01 | ENGINE - BLEED VALVE ACTUATING RING | af | |
| 100 | 5A1450 | • RING - VALVE, ASSEMBLY OF PRE SBE70-0470 | aa-ab/01 | 1 |
| 100A | 5A1450 | • RING - VALVE, ASSEMBLY OF | aa-ae/02 | 1 |
| 100B | 5A1686 | • RING - VALVE, ASSEMBLY OF POST SBE70-0470 PRE SBE70-0824 | ac-ad/02 | 1 |
| 100C | 5A1686 | • RING - VALVE, ASSEMBLY OF PRE SBE70-0824 PRE SBE72-0704 | aa-ad/02 | 1 |
| 100D | 5A1872 | • RING - VALVE, ASSEMBLY OF POST SBE70-0824 PRE SBE72-0704 | ae/02 | 1 |
| 100E | 5A2225 | • RING - VALVE, ASSEMBLY OF POST SBE72-0704 | af/02 | 1 |
| 115 | 5A0468 | • • SEAL | aa-ae/02 | 1 |
| 118 | 5A1952 | • • BUSHING POST SBE70-0725 PRE SBE72-0704 | ad-ae/02 | AR |
| 118A | 5A2231 | • • BUSH POST SBE72-0704 | af/02 | AR |
| 120 | 5A1953 | • • BUSHING POST SBE70-0725 PRE SBE72-0704 | ad-ae/02 | AR |
| 120A | 5A2232 | • • BUSH POST SBE72-0704 | af/02 | AR |
| 123 | 5A0469 | • • BUSHING PRE SBE70-0725 PRE SBE72-0704 | aa-ac/01 | 16 |
| 123A | 5A0469 | • • BUSHING POST SBE70-0725 PRE SBE72-0704 | ad-ae/02 | 16 |
| 123B | 5A2227 | • • BUSHING POST SBE72-0704 | af/02 | 16 |
| 125 | 5A0470 | • • BUSHING PRE SBE70-0725 PRE SBE72-0704 | aa-ac/01 | 4 |
| 125A | 5A0470 | • • BUSHING POST SBE70-0725 PRE SBE72-0704 | ad-ae/02 | 4 |
| 125B | 5A2228 | • • BUSH POST SBE72-0704 | af/02 | 4 |
| 127 | 5A1843 | • • BUSHING POST SBE70-0725 PRE SBE72-0704 | ad-ae/02 | AR |
| 127A | 5A2233 | • • BUSH POST SBE72-0704 | af/02 | AR |
| 129 | 5A1844 | • • BUSHING POST SBE70-0725 PRE SBE72-0704 | ad-ae/02 | AR |
| 129A | 5A2234 | • • BUSH POST SBE72-0704 | af/02 | AR |
| 145 | 5A0789 | • • GUIDE | aa-ae/02 | 40 |
| 147 | 5A0499 | • • RIVET PRE SBE70-0262 | aa/01 | 40 |
| 147A | 5A0499 | • • RIVET | aa-ae/02 | 40 |
| 147B | 5A1506 | • • RIVET POST SBE70-0262 PRE SBE70-0824 | ab-ad/02 | 40 |
| 147C | 5A1506 | • • RIVET PRE SBE70-0824 | aa-ad/02 | 40 |
| 147D | 5A1873 | • • RIVET POST SBE70-0824 | ae/02 | 40 |
| - ITEM NOT ILLUSTRATED, ***** EFFECTIVITY NOT AVAILABLE | ||||
Figure: LPC Bleed Valve Ring
LPC Bleed Valve Ring

