Export Control
EAR Export Classification: Not subject to the EAR per 15 C.F.R. Chapter 1, Part 734.3(b)(3), except for the following Service Bulletins which are currently published as EAR Export Classification 9E991: SBE70-0992, SBE72-0483, SBE72-0580, SBE72-0588, SBE72-0640, SBE73-0209, SBE80-0024 and SBE80-0025.Copyright
© IAE International Aero Engines AG (2001, 2014 - 2021) The information contained in this document is the property of © IAE International Aero Engines AG and may not be copied or used for any purpose other than that for which it is supplied without the express written authority of © IAE International Aero Engines AG. (This does not preclude use by engine and aircraft operators for normal instructional, maintenance or overhaul purposes.).Applicability
V2500-A5
Common Information
TASK 72-32-82-300-016 LPC Stage 1.5 Blade - Blend Repair, Repair-016 (VRS1867)
General
The practices and processes referred to in the procedure by the TASK numbers are in the SPM.
Price and availability - none
NOTE
NOTE
Preliminary Requirements
Pre-Conditions
NONESupport Equipment
| Name | Manufacturer | Part Number / Identification | Quantity | Remark |
|---|---|---|---|---|
| Fluorescent Penetrant Inspection Equipment | LOCAL | Fluorescent penetrant inspection equipment | ||
| Glass bead peening equipment | LOCAL | Glass bead peening equipment | ||
| Shot peening equipment | LOCAL | Shot peening equipment | ||
| IAE 3J12779 Glass peening fixture | 0AM53 | IAE 3J12779 | 1 | |
| IAE 3J12780 Glass peening fixture | 0AM53 | IAE 3J12780 | 1 | |
| IAE 3J12781 Shot peening fixture | 0AM53 | IAE 3J12781 | 1 |
Consumables, Materials and Expendables
| Name | Manufacturer | Part Number / Identification | Quantity | Remark |
|---|---|---|---|---|
| CoMat 01-293 GLASS BEADS | LOCAL | CoMat 01-293 | ||
| CoMat 02-003 ADHESIVE TAPE BLACK WATERPROOF | LOCAL | CoMat 02-003 | ||
| CoMat 05-006 GLASS BEADS | LOCAL | CoMat 05-006 | ||
| CoMat 05-019 WATERPROOF SILICON CARBIDE | LOCAL | CoMat 05-019 | ||
| CoMat 05-020 WATERPROOF SILICON CARBIDE | LOCAL | CoMat 05-020 | ||
| CoMat 05-021 WATERPROOF SILICON CARBIDE | 44197 | CoMat 05-021 | ||
| CoMat 05-030 CAST STEEL SHOT DELETED | 0AM53 | CoMat 05-030 |
Spares
NONESafety Requirements
NONEProcedure
Refer to Figure.

CAUTION
WHEELS, STONES AND ABRASIVE PAPERS USED TO DRESS, MAKE SMOOTH OR POLISH A TITANIUM COMPONENT MUST BE OF THE SILICON CARBIDE TYPE. ALUMINUM OXIDE TYPES MUST NOT BE USED.
CAUTION
THE MATERIAL WILL OXIDIZE AND CRACK IF MECHANICAL CUTTERS ARE USED HEAVILY. THIS HAS OCCURRED IF THE COMPONENT SHOWS DARK STRAW TO BLUE DISCOLORATION. IF AT ANY TIME THIS DISCOLORATION OCCURS THE COMPONENT MUST BE REJECTED.Scallop, make smooth and/or hand polish to remove nicks, scratches and/or damage.
Remove the minimum quantity of material necessary to give the correct radius.
Refer to the SPM TASK 70-35-03-300-501.
Use CoMat 05-019 WATERPROOF SILICON CARBIDE, CoMat 05-020 WATERPROOF SILICON CARBIDE and CoMat 05-021 WATERPROOF SILICON CARBIDE.
Hand polish the blade leading and/or trailing edge radius and the blade profile to make a smooth shape.
SUBTASK 72-32-82-350-088 Remove the Damage from the LPC Stage 1.5 Blades
Use a 10X magnifying glass.
Refer to TASK 72-32-82-200-000 (INSPECTION-000).
Visually examine the repaired area for nicks, scratches and/or damage.
Do a visual and dimensional inspection of the blades.
SUBTASK 72-32-82-220-111 Examine the LPC Stage 1.5 Blades
Refer to TASK 72-32-82-200-000 (INSPECTION-000).
Cracks are not permitted.
Use penetrant crack test equipment.
Refer to the SPM TASK 70-23-03-230-501.
Do a penetrant crack test.
SUBTASK 72-32-82-230-067 Do a Crack Test
Refer to Figure.
Apply CoMat 02-003 ADHESIVE TAPE BLACK WATERPROOF to the areas which are not to be given glass bead peening.
Apply the adhesive tape.
Use IAE 3J12780 Glass peening fixture 1 off.
Install the blades in to the glass peening fixture.
Use IAE 3J12779 Glass peening fixture 1 off to hold an Almen test strip.
Refer to the SPM TASK 70-38-04-300-503.
Use CoMat 01-293 GLASS BEADS or CoMat 05-006 GLASS BEADS at an intensity of 7N-11N.
Glass bead peen the airfoil.
Refer to the SPM TASK 70-38-04-300-503.
Visually examine the peened surface for uniform coverage and complete over-lapping of the shot impressions.
Examine the blades.
SUBTASK 72-32-82-350-089 Glass Bead Peen the LPC Stage 1.5 Blades
Refer to Figure.
Use IAE 3J12781 Shot peening fixture 1 off.
Install the blades in to the shot peening fixture.
Refer to the SPM TASK 70-38-04-300-503.
Use CoMat 05-030 CAST STEEL SHOT DELETED at an intensity of 6A-9A.
Shot peen the repaired area of the blade shank.
Refer to the SPM TASK 70-38-04-300-503.
Visually examine the peened surface for uniform coverage and complete over-lapping of the shot impressions.
Examine the blades.
SUBTASK 72-32-82-380-062 Shot Peen the LPC Stage 1.5 Blades
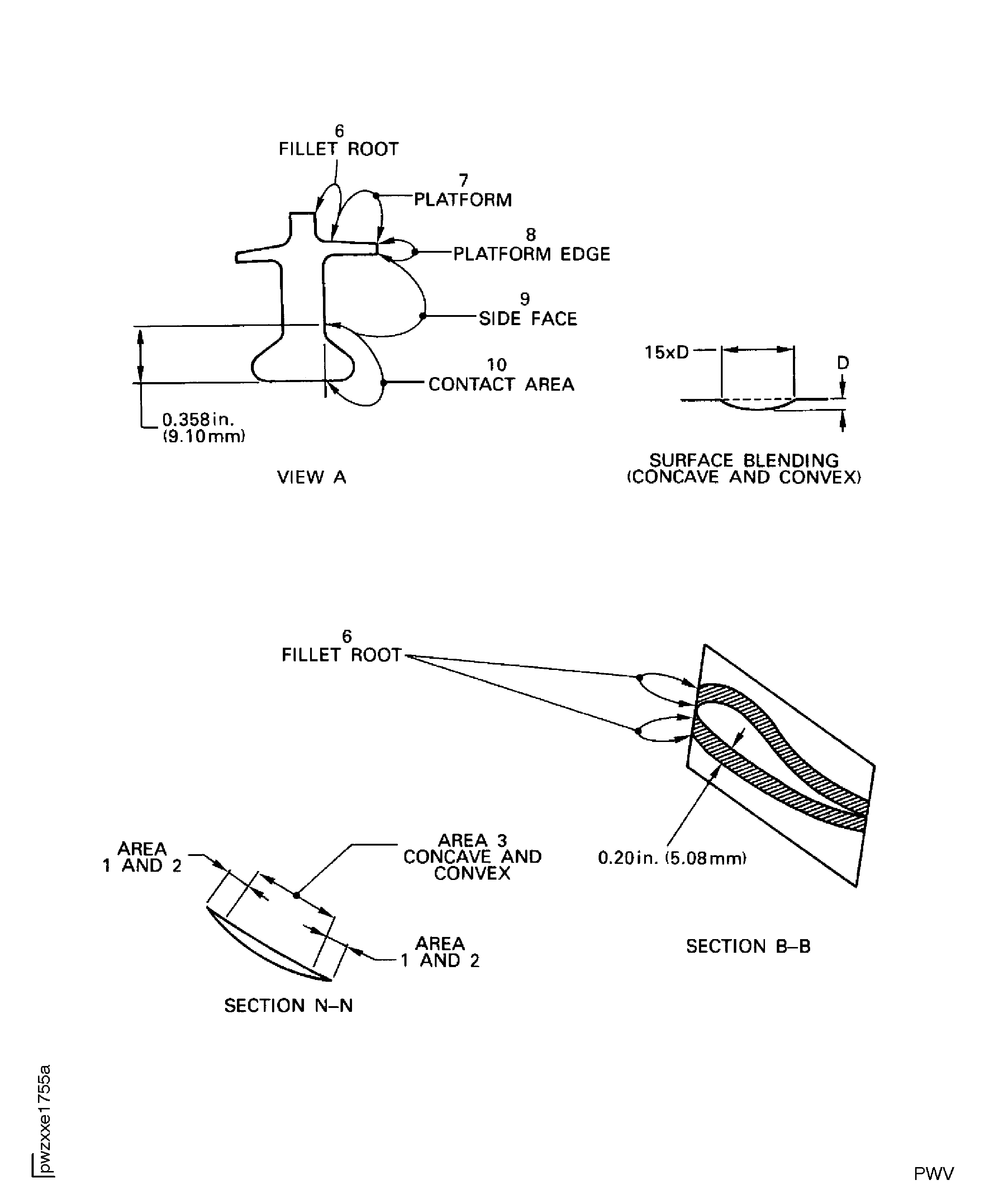
Figure: LP Compressor Stage 1.5 Blades, Dressing Dimensions
Sheet 1

Figure: LP Compressor Stage 1.5 Blades, Dressing Dimensions
Sheet 2

LP Compressor Stage 1.5 Blades, Dressing Dimensions

Figure: LP Compressor Stage 1.5 Blades, Dressing Dimensions
Sheet 3

Figure: LP Compressor Stage 1.5 Blades, Dressing Dimensions
Sheet 4

Figure: LP Compressor Stage 1.5 Blades - Glass Bead Peening Area
LP Compressor Stage 1.5 Blades - Glass Bead Peening Area

Figure: LP Compressor Stage 1.5 Blades - Shot Peening Area
LP Compressor Stage 1.5 Blades - Shot Peening Area

