DMC:V2500-A5-72-32-85-01A-941A-DIssue No:003.00Issue Date:2018-05-01
Export Control
EAR Export Classification: Not subject to the EAR per 15 C.F.R. Chapter 1, Part 734.3(b)(3), except for the following Service Bulletins which are currently published as EAR Export Classification 9E991: SBE70-0992, SBE72-0483, SBE72-0580, SBE72-0588, SBE72-0640, SBE73-0209, SBE80-0024 and SBE80-0025.Copyright
© IAE International Aero Engines AG (2001, 2014 - 2021) The information contained in this document is the property of © IAE International Aero Engines AG and may not be copied or used for any purpose other than that for which it is supplied without the express written authority of © IAE International Aero Engines AG. (This does not preclude use by engine and aircraft operators for normal instructional, maintenance or overhaul purposes.).Applicability
V2500-A5
| Fig. Item | Part No. | Description | Effect/Model Applic. | UPA |
|---|---|---|---|---|
| 01 | ||||
| - | B72328501 | ENGINE - FAN CASE, PRE SBE72-0160 | aa | |
| - | SBE0160-01 | ENGINE - FAN CASE, PRE SBE70-0433 | ab | |
| - | SBE0433-01 | ENGINE - FAN CASE, PRE SBE72-0249 | ac | |
| - | SBE0249-01 | ENGINE - FAN CASE, PRE SBE70-0492 | ad | |
| - | SBE0492-01 | ENGINE - FAN CASE, PRE SBE72-0382 | ae | |
| - | SBE0382-01 | ENGINE - FAN CASE, PRE SBE72-0392 | af | |
| - | SBE0392-01 | ENGINE - FAN CASE, PRE SBE72-0435 | ag | |
| - | SBE0435-01 | ENGINE - FAN CASE, PRE SBE72-0578 | ah | |
| - | SBE0578-01 | ENGINE - FAN CASE, PRE SBE72-0579 | ai | |
| - | SBE0579-01 | ENGINE - FAN CASE, PRE SBE72-0691 | aj | |
| - | SBE0691-01 | ENGINE-FAN CASE, PRE SBE72-0692 | ak | |
| - | SBE0692-01 | ENGINE-FAN CASE | al | |
| 092 | 5R0196 | • RING - TRANSITION, ASSEMBLY OF | aa-aj/01 | 1 |
| 093 | 5R0198 | • • PAD - RUBBER, FRONT | aa-aj/01 | 12 |
| 094 | 5R0199 | • • PAD - OUTER, ASSEMBLY OF | aa-aj/01 | 17 |
| 100 | 5W0144 | • CASE - FAN, ASSEMBLY OF PRE SBE72-0435 | aa-ag/01 | 1 |
| 100A | 5W0149 | • CASE - FAN, ASSEMBLY OF POST SBE72-0160 PRE SBE72-0249 | ab-ac/01 | 1 |
| 100B | 5W0169 | • CASE - FAN, ASSEMBLY OF POST SBE72-0249 PRE SBE72-0382 | ad-ae/02 | 1 |
| 100C | 5W0172 | • CASE - FAN, ASSEMBLY OF POST SBE72-0382 PRE SBE72-0435 | af-ag/02 | 1 |
| 100D | 5W0198 | • CASE - FAN, ASSEMBLY OF POST SBE72-0435 PRE SBE72-0578 | ah/02 | 1 |
| 100E | 5W0194 | • CASE - FAN, ASSEMBLY OF POST SBE72-0435 PRE SBE72-0435 | *****/02 | 1 |
| 100F | 5W0195 | • CASE - FAN, ASSEMBLY OF POST SBE72-0435 PRE SBE72-0435 | *****/02 | 1 |
| 100G | 5W0196 | • CASE - FAN, ASSEMBLY OF POST SBE72-0435 PRE SBE72-0435 | *****/02 | 1 |
| 100H | 5W0197 | • CASE - FAN, ASSEMBLY OF POST SBE72-0435 PRE SBE72-0435 | *****/02 | 1 |
| 100I | 5W0307 | • CASE - FAN, ASSEMBLY OF POST SBE72-0578 PRE SBE72-0691 | ai-aj/02 | 1 |
| 100J | 5W0313 | • CASE - FAN, ASSEMBLY OF POST SBE72-0691 | ak/02 | 1 |
| 550 | CR2663-3-3 | • • • RIVET - BLIND 81349 PRE SBE70-0433 | aa-aj/01 | 40 |
| 550A | CR2663-3-03 | • • • RIVET - BLIND 81349 POST SBE70-0433 | ac-aj/01 | 40 |
| 550B | CR2663-3-3 | • • • RIVET - BLIND 81349 | aa-aj/03 | 40 |
| 552 | MS21060L4 | • • • NUT - ANCHOR 96906 | aa-aj/02 | 20 |
| 665 | 5A0993 | • • • BUSHING | aa-aj/02 | 2 |
| 670 | AGS3732 | • • • INSERT - SCREW THREAD, .250 DIA X 1.5D U1653 | aa-aj/02 | 4 |
| 690 | CR2663-3-3 | • • • RIVET - BLIND 81349 PRE SBE70-0433 | aa-aj/01 | 148 |
| -690A | CR2663-3-03 | • • • RIVET - BLIND 81349 ALT CR2673-3-03 POST SBE70-0433 | ac-aj/02 | REF |
| 695 | MS21060-4 | • • • NUT - ANCHOR 96906 | aa-aj/02 | 74 |
| 715 | CR2663-3-3 | • • • RIVET - BLIND 81349 PRE SBE70-0433 | aa-aj/01 | 100 |
| -715A | CR2663-3-03 | • • • RIVET - BLIND 81349 ALT CR2673-3-03 POST SBE70-0433 | ac-aj/02 | REF |
| 720 | MS21062-4 | • • • NUT - ANCHOR 96906 | aa-aj/02 | 50 |
| 730 | CR2663-3-4 | • • • RIVET - BLIND 81349 PRE SBE70-0433 | aa-aj/01 | 80 |
| 730A | CR2673-3-04 | • • • RIVET 11815 ALT CR2663-3-04 POST SBE70-0433 | ac-aj/02 | 80 |
| 735 | MS21060-4 | • • • NUT - ANCHOR 96906 | aa-aj/02 | 40 |
| 740 | 5A2128 | • • • BUSHING | aa-aj/02 | 2 |
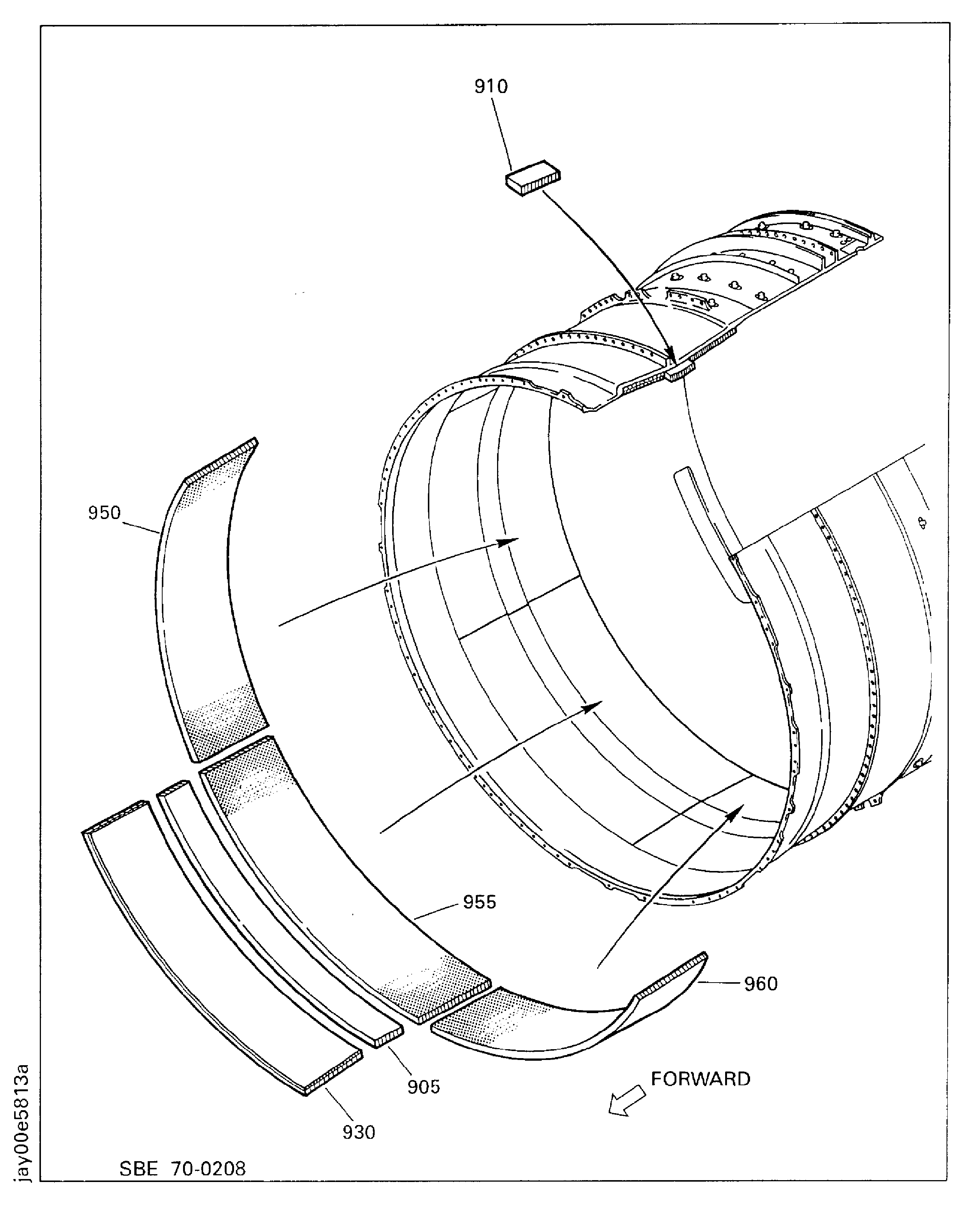
| 905 | 5R0272 | • • PANEL - ICE IMPACT, REPAIR, ASSEMBLY OF POST SBE70-0208 PRE SBE72-0579 | *****/01 | 6 |
| 905A | 5R0308 | • • PANEL - ICE IMPACT, REPAIR, ASSEMBLY OF POST SBE72-0579 | *****/02 | 6 |
| 910 | 5R0273 | • • PANEL - ICE IMPACT, REPAIR, ASSEMBLY OF POST SBE70-0208 PRE SBE72-0579 | *****/01 | 1 |
| 910A | 5R0309 | • • PANEL - ICE IMPACT, REPAIR, ASSEMBLY OF POST SBE72-0579 | *****/02 | 1 |
| 930 | 5R0274 | • • LINER - REPAIR, ATTRITION, ASSEMBLY OF POST SBE70-0208 PRE SBE72-0579 | *****/01 | 6 |
| 930A | 5R0310 | • • LINER - REPAIR, ATTRITION, ASSEMBLY OF POST SBE72-0579 | *****/02 | 6 |
| 950 | 5R0185 | • • LINER - ACOUSTIC, ASSEMBLY OF POST SBE70-0208 PRE SBE70-0492 | *****/01 | 4 |
| 950A | 5R0279 | • • LINER - ACOUSTIC, ASSEMBLY OF POST SBE70-0492 PRE SBE72-0392 | *****/02 | 4 |
| 950B | 5R0291 | • • LINER - ACOUSTIC, ASSEMBLY OF POST SBE72-0392 PRE SBE72-0579 | ag-ai/02 | 8 |
| 950C | 5R0311 | • • LINER - ACOUSTIC, ASSEMBLY OF POST SBE72-0579 PRE SBE72-0692 | aj-ak/02 | 8 |
| 950D | 5R0325 | • • LINER - ACOUSTIC, ASSEMBLY OF POST SBE72-0692 | al/02 | 8 |
| 955 | 5R0186 | • • LINER - ACOUSTIC, ASSEMBLY OF POST SBE70-0208 PRE SBE70-0492 | *****/01 | 1 |
| 955A | 5R0280 | • • LINER - ACOUSTIC, ASSEMBLY OF POST SBE70-0492 PRE SBE72-0392 | *****/02 | 1 |
| 955B | 5R0291 | • • LINER - ACOUSTIC, ASSEMBLY OF POST SBE72-0392 PRE SBE72-0579 | ag-ai/02 | 2 |
| 955C | 5R0311 | • • LINER - ACOUSTIC, ASSEMBLY OF POST SBE72-0579 PRE SBE72-0692 | aj-ak/02 | 2 |
| 955D | 5R0325 | • • LINER - ACOUSTIC, ASSEMBLY OF POST SBE72-0692 | al/02 | 2 |
| 960 | 5R0187 | • • LINER - ACOUSTIC, ASSEMBLY OF POST SBE70-0208 PRE SBE70-0492 | *****/01 | 1 |
| 960A | 5R0281 | • • LINER - ACOUSTIC, ASSEMBLY OF POST SBE70-0492 PRE SBE72-0392 | *****/02 | 1 |
| 960B | 5R0291 | • • LINER - ACOUSTIC, ASSEMBLY OF POST SBE72-0392 PRE SBE72-0579 | ag-ai/02 | 2 |
| 960C | 5R0311 | • • LINER - ACOUSTIC, ASSEMBLY OF POST SBE72-0579 PRE SBE72-0692 | aj-ak/02 | 2 |
| 960D | 5R0325 | • • LINER - ACOUSTIC, ASSEMBLY OF POST SBE72-0692 | al/02 | 2 |
| - ITEM NOT ILLUSTRATED, ***** EFFECTIVITY NOT AVAILABLE | ||||
Figure: Fan Case And Related Parts
Fan Case And Related Parts

Fan Case And Related Parts

Fan Case And Related Parts

Fan Case And Related Parts

Fan Case And Related Parts

Fan Case And Related Parts

Fan Case And Related Parts

Fan Case And Related Parts

Fan Case And Related Parts

Fan Case And Related Parts

Fan Case And Related Parts

Fan Case And Related Parts

