DMC:V2500-A5-72-32-87-03A-941A-DIssue No:001.00Issue Date:2014-05-01
Export Control
EAR Export Classification: Not subject to the EAR per 15 C.F.R. Chapter 1, Part 734.3(b)(3), except for the following Service Bulletins which are currently published as EAR Export Classification 9E991: SBE70-0992, SBE72-0483, SBE72-0580, SBE72-0588, SBE72-0640, SBE73-0209, SBE80-0024 and SBE80-0025.Copyright
© IAE International Aero Engines AG (2001, 2014 - 2021) The information contained in this document is the property of © IAE International Aero Engines AG and may not be copied or used for any purpose other than that for which it is supplied without the express written authority of © IAE International Aero Engines AG. (This does not preclude use by engine and aircraft operators for normal instructional, maintenance or overhaul purposes.).Applicability
V2500-A5
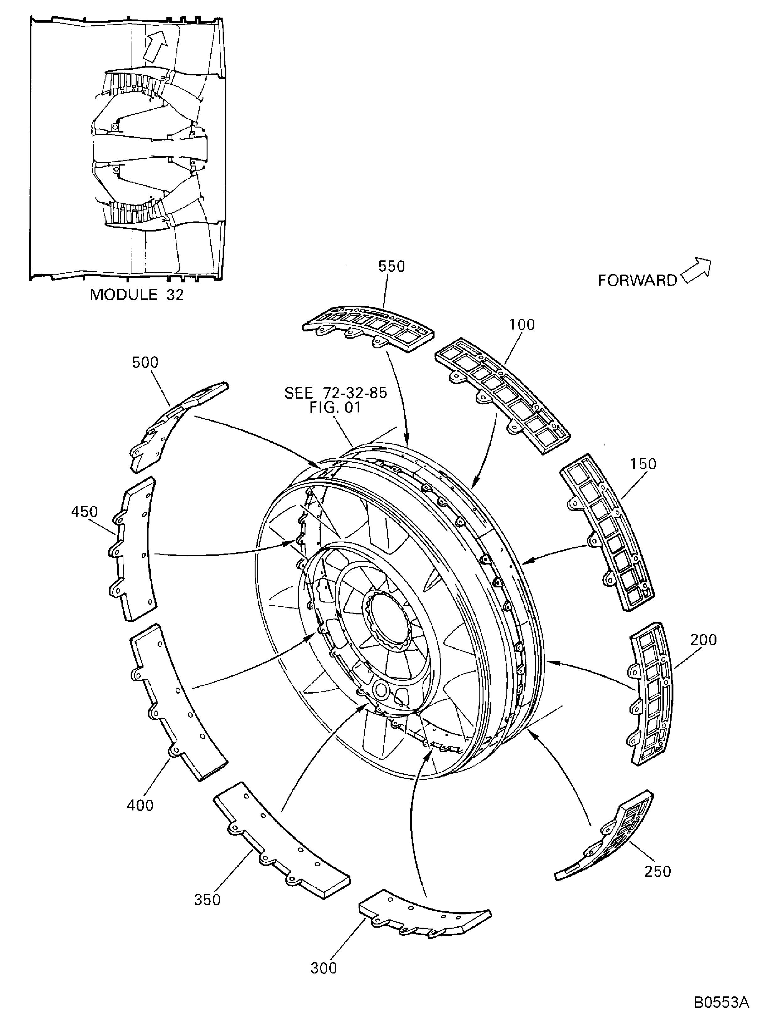
| Fig. Item | Part No. | Description | Effect/Model Applic. | UPA |
|---|---|---|---|---|
| 03 | ||||
| - | B72328703 | ENGINE-FAN CASE REAR PANELS, PRE SBE70-0452 (ALL) | aa | |
| - | SBE0452-01 | ENGINE-FAN CASE REAR PANELS (ALL) | ab | |
| 100 | 5A0807 | • PANEL, A/O LINER FRONT PRE SBE70-0452 | aa-ab/01 | 1 |
| 100A | 5A1615 | • PANEL, LINER FRONT POST SBE70-0452 | ab/01 | 1 |
| 100B | 5A1615 | • PANEL, LINER FRONT | aa-ab/02 | 1 |
| 150 | 5A0807 | • PANEL, A/O LINER FRONT PRE SBE70-0452 | aa-ab/01 | 1 |
| 150A | 5A1615 | • PANEL, LINER FRONT POST SBE70-0452 | ab/01 | 1 |
| 150B | 5A1615 | • PANEL, LINER FRONT | aa-ab/02 | 1 |
| 200 | 5A0807 | • PANEL, A/O LINER FRONT PRE SBE70-0452 | aa-ab/01 | 1 |
| 200A | 5A1615 | • PANEL, LINER FRONT POST SBE70-0452 | ab/01 | 1 |
| 200B | 5A1615 | • PANEL, LINER FRONT | aa-ab/02 | 1 |
| 250 | 5A0807 | • PANEL, A/O LINER FRONT PRE SBE70-0452 | aa-ab/01 | 1 |
| 250A | 5A1615 | • PANEL, LINER FRONT POST SBE70-0452 | ab/01 | 1 |
| 250B | 5A1615 | • PANEL, LINER FRONT | aa-ab/02 | 1 |
| 300 | 5A0807 | • PANEL, A/O LINER FRONT PRE SBE70-0452 | aa-ab/01 | 1 |
| 300A | 5A1615 | • PANEL, LINER FRONT POST SBE70-0452 | ab/01 | 1 |
| 300B | 5A1615 | • PANEL, LINER FRONT | aa-ab/02 | 1 |
| 350 | 5A0807 | • PANEL, A/O LINER FRONT PRE SBE70-0452 | aa-ab/01 | 1 |
| 350A | 5A1615 | • PANEL, LINER FRONT POST SBE70-0452 | ab/01 | 1 |
| 350B | 5A1615 | • PANEL, LINER FRONT | aa-ab/02 | 1 |
| 400 | 5A0807 | • PANEL, A/O LINER FRONT PRE SBE70-0452 | aa-ab/01 | 1 |
| 400A | 5A1615 | • PANEL, LINER FRONT POST SBE70-0452 | ab/01 | 1 |
| 400B | 5A1615 | • PANEL, LINER FRONT | aa-ab/02 | 1 |
| 450 | 5A0807 | • PANEL, A/O LINER FRONT PRE SBE70-0452 | aa-ab/01 | 1 |
| 450A | 5A1615 | • PANEL, LINER FRONT POST SBE70-0452 | ab/01 | 1 |
| 450B | 5A1615 | • PANEL, LINER FRONT | aa-ab/02 | 1 |
| 500 | 5A0807 | • PANEL, A/O LINER FRONT PRE SBE70-0452 | aa-ab/01 | 1 |
| 500A | 5A1615 | • PANEL, LINER FRONT POST SBE70-0452 | ab/01 | 1 |
| 500B | 5A1615 | • PANEL, LINER FRONT | aa-ab/02 | 1 |
| 550 | 5A0807 | • PANEL, A/O LINER FRONT PRE SBE70-0452 | aa-ab/01 | 1 |
| 550A | 5A1615 | • PANEL, LINER FRONT POST SBE70-0452 | ab/01 | 1 |
| 550B | 5A1615 | • PANEL, LINER FRONT | aa-ab/02 | 1 |
| - ITEM NOT ILLUSTRATED, ***** EFFECTIVITY NOT AVAILABLE | ||||
Figure: Fan Case Liner Panels And Related Parts
Fan Case Liner Panels And Related Parts

