DMC:V2500-A5-72-40-00-01A-941A-DIssue No:004.00Issue Date:2019-05-01
Export Control
EAR Export Classification: Not subject to the EAR per 15 C.F.R. Chapter 1, Part 734.3(b)(3), except for the following Service Bulletins which are currently published as EAR Export Classification 9E991: SBE70-0992, SBE72-0483, SBE72-0580, SBE72-0588, SBE72-0640, SBE73-0209, SBE80-0024 and SBE80-0025.Copyright
© IAE International Aero Engines AG (2001, 2014 - 2021) The information contained in this document is the property of © IAE International Aero Engines AG and may not be copied or used for any purpose other than that for which it is supplied without the express written authority of © IAE International Aero Engines AG. (This does not preclude use by engine and aircraft operators for normal instructional, maintenance or overhaul purposes.).Applicability
V2500-A5
| Fig. Item | Part No. | Description | Effect/Model Applic. | UPA |
|---|---|---|---|---|
| 01 | ||||
| - | B72400001 | ENGINE - ATTACH PARTS AND FITTINGS - HP SYSTEM, PRE SBE72-0191 | aa | |
| - | SBE0191-01 | ENGINE - ATTACH PARTS AND FITTINGS - HP SYSTEM, PRE SBE71-0162 | ab | |
| - | SBE0162-01 | ENGINE - ATTACH PARTS AND FITTINGS - HP SYSTEM, PRE SBE73-0131 | ac | |
| - | SBE0131-01 | ENGINE - ATTACH PARTS AND FITTINGS - HP SYSTEM, PRE SBE72-0329 | ad | |
| - | SBE0329-01 | ENGINE - ATTACH PARTS AND FITTINGS - HP SYSTEM, PRE SBE73-0147 | ae | |
| - | SBE0147-01 | ENGINE - ATTACH PARTS AND FITTINGS - HP SYSTEM, PRE SBE70-0797 | af | |
| - | SBE0797-01 | ENGINE - ATTACH PARTS AND FITTINGS - HP SYSTEM, PRE SBE72-0394 | ag | |
| - | SBE0394-01 | ENGINE - ATTACH PARTS AND FITTINGS - HP SYSTEM, PRE SBE70-0991 | ah | |
| - | SBE0991-01 | ENGINE - ATTACH PARTS AND FITTINGS - HP SYSTEM, PRE SB73-0139 | ai | |
| - | SBE0139-01 | ENGINE - ATTACH PARTS AND FITTINGS - HP SYSTEM | aj | |
| -001 | 4W6495 | MODULE - HPC, ASSEMBLY OF POST SBE70-0991 | ai/01 | REF |
| -001A | 4W6517 | MODULE - HP SELECTRICAL RETROFIT POST SBE70-0991 | ai/01 | REF |
| 001B | 4W6509 | MODULE - HP SYSTEM | aa-ai/01 | 1 |
| -001C | 4W6518 | MODULE - HP SYSTEM SELECTRICAL POST SBE70-0991 | ai/01 | REF |
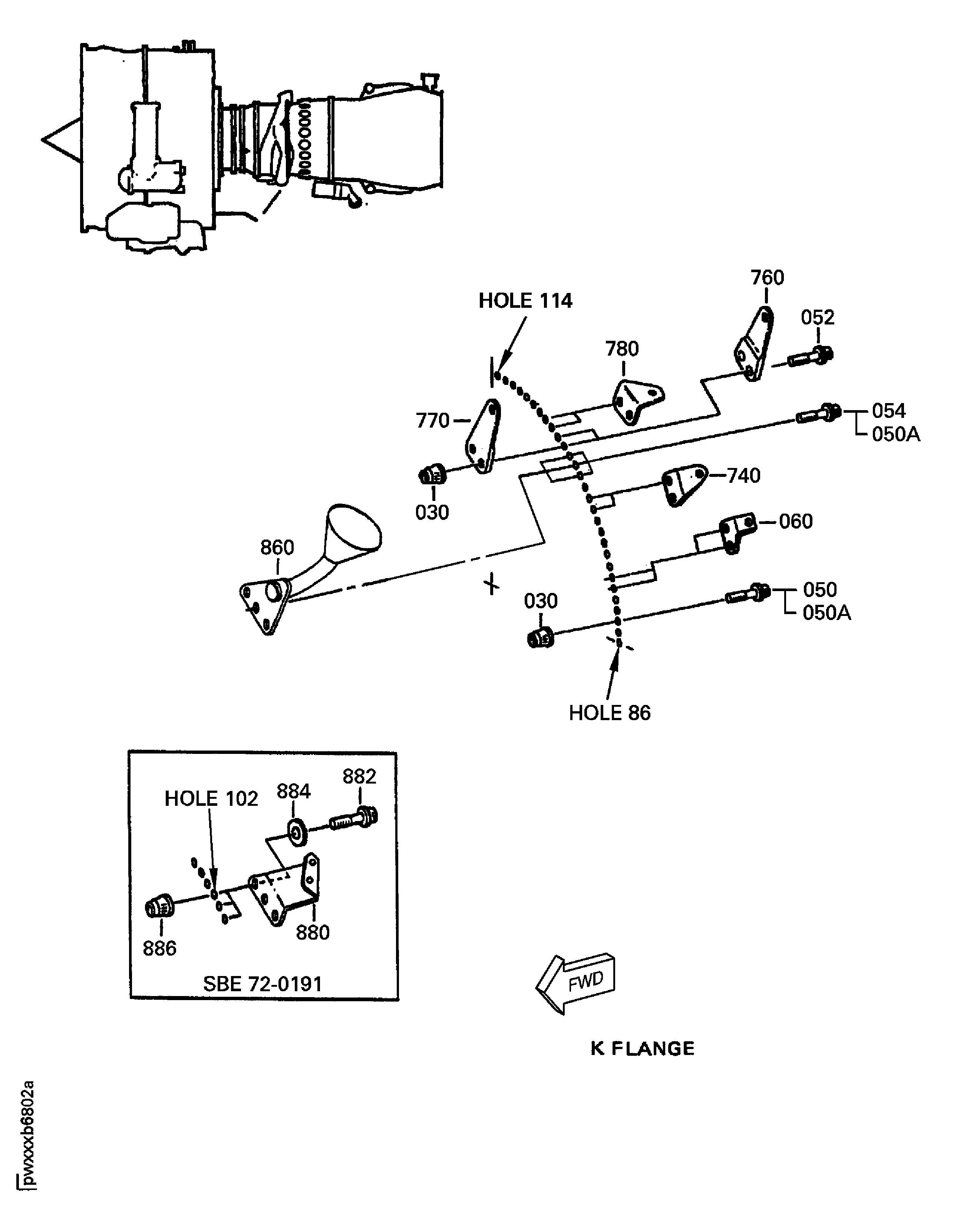
| 030 | 4W0003 | • NUT - 0.3125 DIA | aa-ai/01 | 114 |
| 050 | 4W0649 | • BOLT - 0.3125 DIA X 1.000 PRE SBE72-0191 | aa/02 | 109 |
| 050A | 4W0649 | • BOLT - 0.3125 DIA X 1.000 POST SBE72-0191 | ab-ai/02 | 112 |
| 050B | 4W0649 | • BOLT - 0.3125 DIA X 1.000 | aa-ai/03 | 112 |
| 052 | 4W0656 | • BOLT - 0.3125 DIA X 1.438 | aa-ai/01 | 2 |
| 054 | 4W0651 | • BOLT - 0.3125 DIA X 1.125 PRE SBE72-0191 | aa/02 | 3 |
| 060 | 2A0406 | • BRACKET - LOOP CLAMP PRE SBE73-0147 | aa-ae/01 | 1 |
| 060A | 2A0406 | • BRACKET - LOOP CLAMP POST SBE72-0394 PRE SBN36-0007 | *****/01 | 1 |
| 070 | 2A1225 | • BRACKET - LOOP CLAMP PRE SBE73-0131 | aa-ac/02 | 1 |
| 070A | 2A3281 | • BRACKET - LOOP CLAMP POST SBE73-0131 | ad-ai/01 | 1 |
| 075 | 6A3992 | • PLATE - ATTACHING AIR DEFLECT PRE SBE71-0162 | aa-ai/01 | 1 |
| 075A | 6A5911 | • BRACKET - ATTACHING POST SBE71-0162 PRE SBE72-0329 | ac-ad/01 | 1 |
| 075B | 6A7458 | • BRACKET - ATTACHING ALT 6A7459 POST SBE72-0329 | ae-ai/01 | 1 |
| 075C | 6A7459 | • BRACKET - ATTACHING ALT 6A7458 POST SBE72-0329 | ae-ai/01 | 1 |
| 080 | 2A1939 | • BRACKET - LOOP CLAMP PRE SBE73-0131 PRE SBE73-0139 | aa-ac/01 | 1 |
| 080A | 2A3373 | • BRACKET - LOOP CLAMP POST SBE73-0131 | ad-ai/01 | 1 |
| 090 | 2A1939 | • BRACKET - LOOP CLAMP POST SBE73-0131 | ad-ai/01 | 1 |
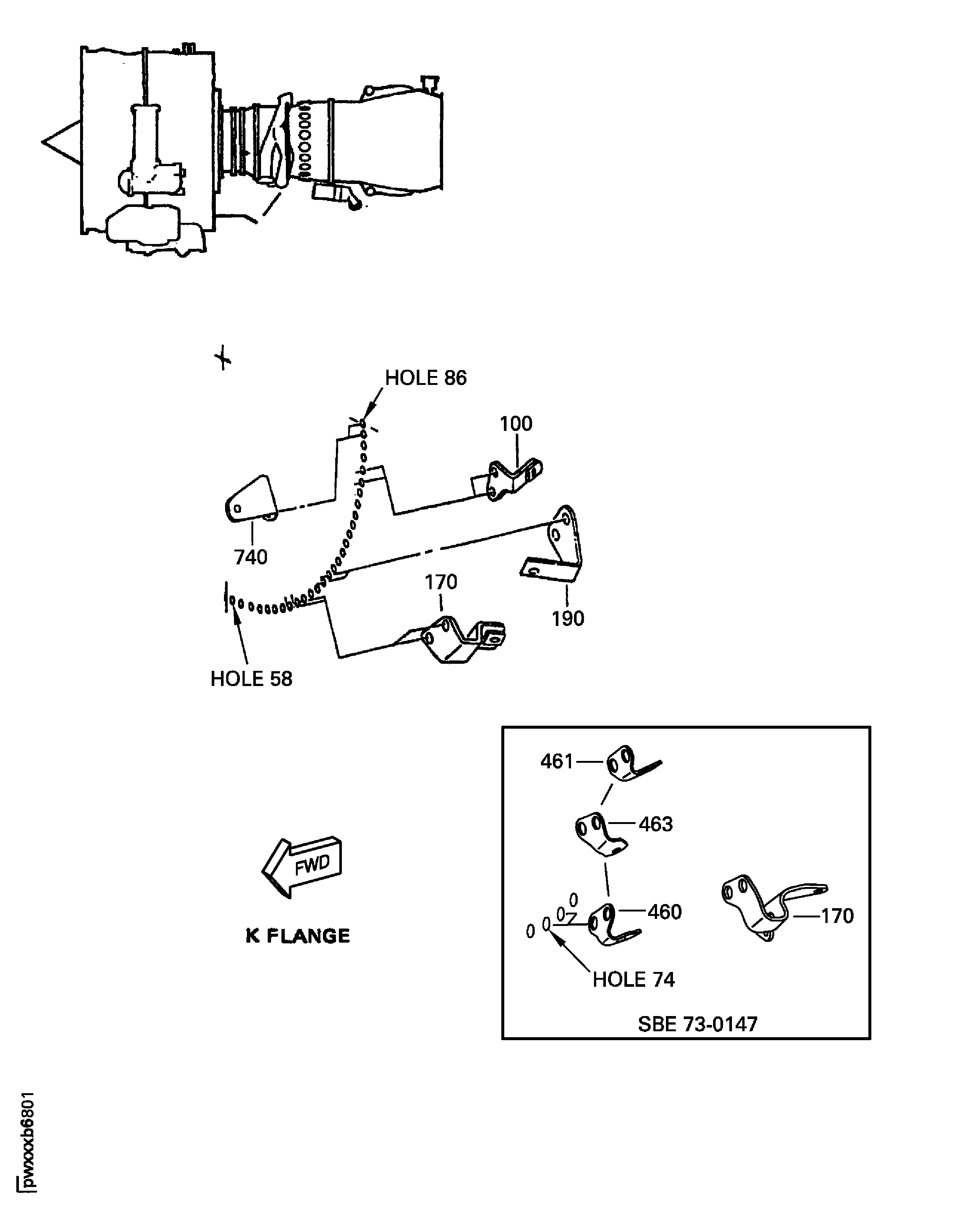
| 100 | 2A1196 | • BRACKET - LOOP CLAMP, ASSEMBLY OF PRE SBE73-0147 | aa-ae/01 | 1 |
| 140 | 2A1938-01 | • BRACKET - LOOP CLAMP PRE SBE73-0131 PRE SBE73-0139 | aa-ac/02 | 1 |
| 140A | 2A1938-01 | • BRACKET - LOOP CLAMP POST SBE73-0131 PRE SBE73-0139 | ad-aj/01 | 1 |
| 140B | 2A3276 | • BRACKET- LOOP CLAMP, ASSEMBLY OF 77445 POST SBE73-0139 | aj/01 | 1 |
| 160 | 2A1963 | • BRACKET - LOOP CLAMP PRE SBE73-0147 | aa-ae/01 | 1 |
| 161 | 2A1964 | • BRACKET - LOOP CLAMP PRE SBE73-0147 | aa-ae/01 | 1 |
| 161A | 2A3389 | • BRACKET - LOOP CLAMP POST SBE73-0147 PRE SBE72-0394 | af-ag/01 | 1 |
| 161B | 2A3553 | • BRACKET - LOOP CLAMP POST SBE72-0394 | ah-ai/01 | 1 |
| 170 | 2A1952-01 | • BRACKET PRE SBE73-0147 | aa-ai/01 | 1 |
| 170A | 2A3391 | • BRACKET - LOOP CLAMP ALT 2A3379 POST SBE73-0147 | af-ai/01 | 1 |
| 170B | 2A3379 | • BRACKET - LOOP CLAMP ALT 2A3391 POST SBE73-0147 | af-ai/01 | 1 |
| 182 | 5W8386 | • BRACKET - ASSEMBLY OF | aa-ai/01 | 1 |
| -190 | 5W8378 | • BRACKET | aa-ai/01 | 1 |
| 194 | 2A2529-01 | • BRACKET - LOOP CLAMP, ASSEMBLY OF PRE SBE73-0131 | aa-ac/01 | 1 |
| 194A | 2A3275 | • BRACKET - LOOP CLAMP POST SBE73-0131 | ad-ai/01 | 1 |
| 197 | 2A2537 | • BRACKET - LOOP CLAMP PRE SBE73-0131 | aa-ac/01 | 1 |
| 225 | 2A3288-01 | • BRACKET - LOOP CLAMP, ASSEMBLY OF POST SBE73-0131 | ad-ai/01 | 1 |
| 230 | ST5030-09 | • • NUT 77445 POST SBE73-0131 | ad-ai/01 | 1 |
| -231 | ST5032-09 | • • • NUT 77445 POST SBE73-0131 | ad-ai/01 | 1 |
| -232 | ST5033-09 | • • • NUT - PLATE, SELF LOCKING, 1 LUG, FLOATING, 0.190 - 32 X 0.250 77445 POST SBE73-0131 | ad-ai/01 | 1 |
| 235 | AN123469 | • • RIVET - SOLID, 100 DEGREE FLUSH HEAD, 0.094 X 0.250 88044 POST SBE73-0131 | ad-ai/01 | 2 |
| 250 | 2A2546 | • BRACKET - LOOP CLAMP PRE SBE73-0131 | aa-ac/01 | 1 |
| 260 | 2A2073-01 | • BRACKET - FUEL FLOW DIVIDER VALVE | aa-ai/01 | 1 |
| 270 | 2A3277 | • BRACKET - LOOP CLAMP POST SBE70-0797 | ag-ai/01 | 1 |
| 300 | 5W8363 | • BRACKET PRE SBE72-0329 | aa-ad/01 | 1 |
| 300A | 6A7457 | • BRACKET - CLIPPING POST SBE72-0329 | ae-ai/01 | 1 |
| 310 | 2A3279 | • BRACKET - LOOP CLAMP POST SBE73-0131 | ad-ai/01 | 1 |
| 460 | 2A3388 | • BRACKET - LOOP CLAMP POST SBE73-0147 | af-ai/01 | 1 |
| 461 | 2A3405 | • BRACKET - LOOP CLAMP POST SBE73-0147 | af-ai/01 | 1 |
| 463 | 2A3406 | • BRACKET - LOOP CLAMP POST SBE73-0147 | af-ai/01 | 1 |
| 470 | 2A3387 | • BRACKET - LOOP CLAMP POST SBE73-0147 | af-ai/01 | 1 |
| 475 | 2A3381 | • BRACKET - LOOP CLAMP POST SBE73-0147 | af-ai/01 | 1 |
| 740 | 740-5070-503 | • BRACKET 51563 PRE SBN36-0007 | *****/01 | 2 |
| 760 | 740-5063-501 | • BRACKET - SUPPORT 51563 | aa-ai/01 | 1 |
| 770 | 740-5064-501 | • BRACKET - SUPPORT 51563 | aa-ai/01 | 1 |
| 780 | 740-5464-501 | • SUPPORT PRE SBN36-0007 | *****/01 | 1 |
| 790 | 5W2242 | • BRACKET | aa-ai/01 | 1 |
| 860 | 6A5663 | • FUNNEL - DEFLECTOR, ASSEMBLY OF PRE SBE72-0191 | aa/02 | 1 |
| 880 | 6A5884 | • BRACKET PRE SBE72-0191 | ab-ai/02 | 1 |
| 880A | 6A5899 | • BRACKET POST SBE72-0191 | ab-ai/02 | 1 |
| 880B | 6A5899 | • BRACKET | ab-ai/03 | 1 |
| 882 | 4W0105 | • BOLT - MACHINE DOUBLE HEX, .190 DIA X .625 (SEE APPENDIX 5) POST SBE72-0191 | ab-ai/02 | 2 |
| 882A | 4W0105 | • BOLT - MACHINE DOUBLE HEX, .190 DIA X .625 (SEE APPENDIX 5) | aa-ai/03 | 2 |
| 884 | 4W2621 | • WASHER (SEE APPENDIX 5) POST SBE72-0191 | ab-ai/02 | 4 |
| 884A | 4W2621 | • WASHER (SEE APPENDIX 5) | aa-ai/03 | 4 |
| 886 | 4W0001 | • NUT, OPTION - .190 DIA (SEE APPENDIX 5) POST SBE72-0191 | ab-ai/02 | 2 |
| 886A | 4W0001 | • NUT, OPTION - .190 DIA (SEE APPENDIX 5) | aa-ai/03 | 2 |
| - ITEM NOT ILLUSTRATED, ***** EFFECTIVITY NOT AVAILABLE | ||||
Figure: HPC Module - Attaching Parts
HPC Module - Attaching Parts

HPC Module - Attaching Parts

HPC Module - Attaching Parts

HPC Module - Attaching Parts

