Export Control
EAR Export Classification: Not subject to the EAR per 15 C.F.R. Chapter 1, Part 734.3(b)(3), except for the following Service Bulletins which are currently published as EAR Export Classification 9E991: SBE70-0992, SBE72-0483, SBE72-0580, SBE72-0588, SBE72-0640, SBE73-0209, SBE80-0024 and SBE80-0025.Copyright
© IAE International Aero Engines AG (2001, 2014 - 2021) The information contained in this document is the property of © IAE International Aero Engines AG and may not be copied or used for any purpose other than that for which it is supplied without the express written authority of © IAE International Aero Engines AG. (This does not preclude use by engine and aircraft operators for normal instructional, maintenance or overhaul purposes.).Applicability
V2500-A5
Common Information
TASK 72-50-10-430-001-B00 LPT Case And Rotor Assembly - Assemble The LPT Stage 3 Stator Vanes And Diffuser Outer Segments, Assembly-001
General
Fig/item numbers in parentheses in the procedure agree with those used in the IPC. Only the primary Fig/item numbers are used. For the service bulletin alpha variants refer to the IPC.
For all parts identified in a different Chapter/Section/Subject, the applicable Chapter/Section/Subject comes before the Fig/item number.
For standard torque data and procedures, refer to the SPM TASK 70-41-01-400-501 and SPM TASK 70-41-02-400-501.
Special torque data and assembly tolerances are included in the procedure.
Lubricate all threads and abutment faces of nuts and bolts with CoMat 10-129A ANTI-SEIZE PASTE, unless other lubricants are referred to in the procedure.
To identify, lubricate and install seal rings, refer to the SPM TASK 70-44-01-400-501.
After assembly apply CoMat 07-038 AIR DRYING ENAMEL to any damaged surface protection, joint flanges and attach parts. Use the correct color of the air drying enamel. Refer to the SPM TASK 70-63-02-630-501.
The number for each radial location must be identified in a clockwise direction. These start at the engine top position when you look from the rear of the engine, unless stated differently in the procedure.
NOTE
NOTE
Preliminary Requirements
Pre-Conditions
NONESupport Equipment
| Name | Manufacturer | Part Number / Identification | Quantity | Remark |
|---|---|---|---|---|
| IAE 1F10052 Two cables sling | 0AM53 | IAE 1F10052 | 1 | |
| IAE 1M14031 Assembly stand | 0AM53 | IAE 1M14031 | 1 | |
| IAE 1M14032 Mounting plate | 0AM53 | IAE 1M14032 | 1 | |
| IAE 1M14036 Assembly fixture | 0AM53 | IAE 1M14036 | 1 | |
| IAE 1M14037 Assembly plate | 0AM53 | IAE 1M14037 | 1 | |
| IAE 1M14039 Lifting bracket | 0AM53 | IAE 1M14039 | 2 | |
| IAE 1M14040 Guide pin | 0AM53 | IAE 1M14040 | 2 | |
| IAE 1M14147 Lifting fixture | 0AM53 | IAE 1M14147 | 1 |
Consumables, Materials and Expendables
| Name | Manufacturer | Part Number / Identification | Quantity | Remark |
|---|---|---|---|---|
| CoMat 02-119 LOCKWIRE | 0AM53 | CoMat 02-119 | ||
| CoMat 07-038 AIR DRYING ENAMEL | K3504 | CoMat 07-038 | ||
| CoMat 10-062 ASSEMBLY FLUID | 0AM53 | CoMat 10-062 | ||
| CoMat 10-129A ANTI-SEIZE PASTE | 71984 | CoMat 10-129A | ||
| CoMat 10-129 ANTI-SEIZE PASTE | 34568 | CoMat 10-129 |
Spares
NONESafety Requirements
WARNING
Procedure
Put the IAE 1M14037 Assembly plate 1 off in the center of the IAE 1M14031 Assembly stand 1 off.
SUBTASK 72-50-10-430-302 Install the Assembly Plate on the Assembly Stand
Refer to Figure.
Attach the IAE 1M14039 Lifting bracket 2 off at the rear flange of the LP turbine case with the seven screws.
Use hoist equipment. Install the IAE 1F10052 Two cables sling 1 off to the lifting brackets.
SUBTASK 72-50-10-430-303 Lift the LP Turbine Case on to the Assembly Plate
Refer to Figure.
Install the eight strip seals to the eight diffuser outer duct assembly supports. Use the CoMat 10-062 ASSEMBLY FLUID.
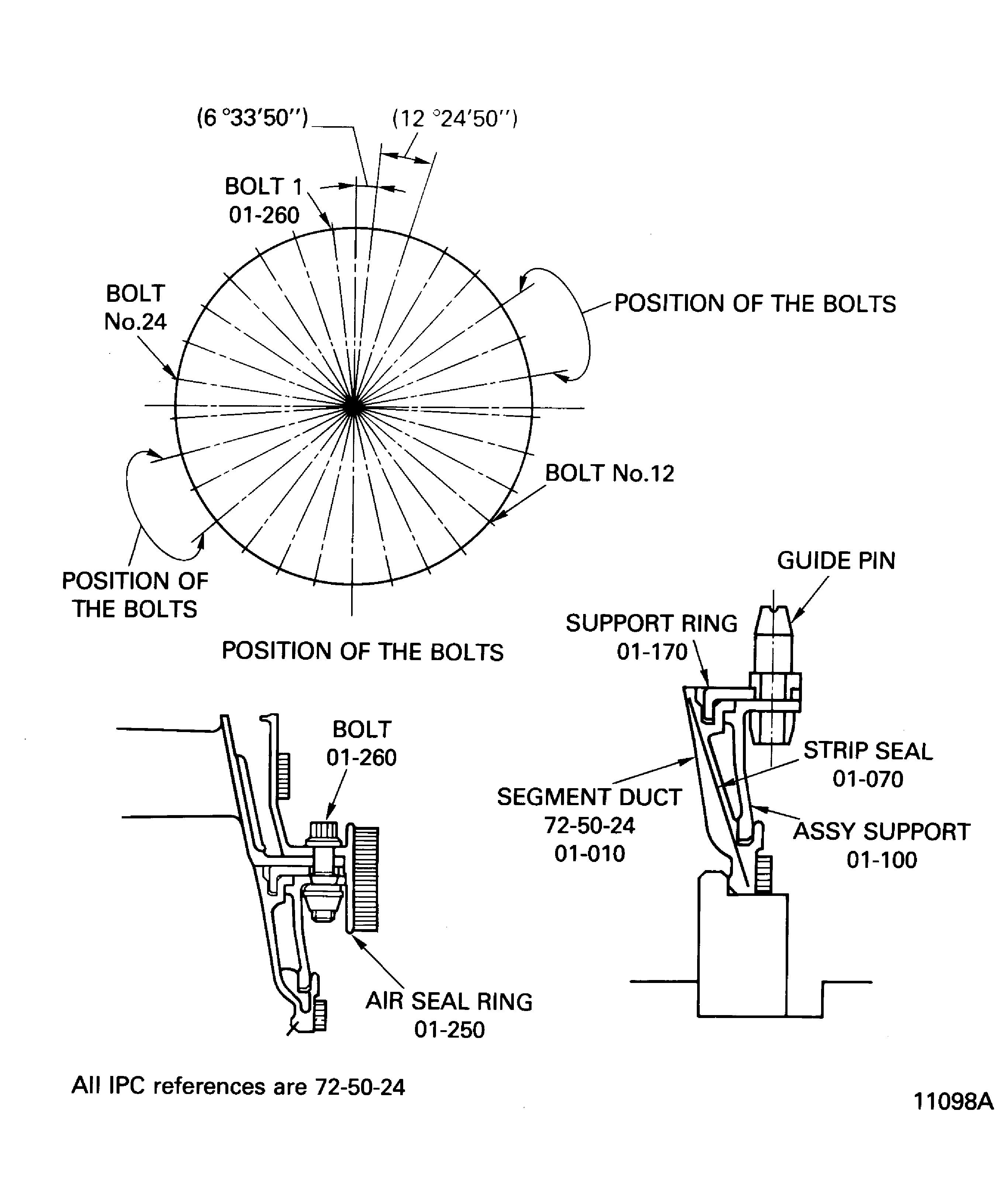
SUBTASK 72-50-10-430-304 Install the Diffuser Outer Duct Assembly Support
Refer to Figure.
SUBTASK 72-50-10-430-305 Install the Stage 3 Front Heatshields
Refer to Figure.
Check each stage 3 vane segment for total number of "+" markings on the part.
NOTE
The total number of vane segments which show each two "+" markings is limited to five parts per LPT module assembly. Make sure that not more than five vane segments each marked with two "+" symbols are installed per LPT module assembly.NOTE
Make sure that all the strip seals are correctly installed in the grooves of the stage 3 vane segments.Install the five strip seals in the right grooves of the inner and outer platform of all the vane segments. Use CoMat 10-062 ASSEMBLY FLUID.
NOTE
Put the vane segments on to the mounting plate in the accurate sequence. Make sure that the vane segments with the borescope hole are in the position shown on the mounting plate.Put the vane segments on to the IAE 1M14032 Mounting plate 1 off. Engage the outer front groove of the vane segments with the annular flange of the mounting plate.
SUBTASK 72-50-10-430-306 Prepare the Stage 3 Vanes for Assembly
Refer to Figure.
Install the IAE 1M14036 Assembly fixture 1 off on to the assembly plate. Make sure that the dowel pin is in the guide slot in the center hole of the assembly plate. Turn the assembly fixture counterclockwise until the outer front flange touches the assembly plate.
SUBTASK 72-50-10-430-307 Install the Assembly Fixture on to the Assembly Plate
Lift the IAE 1M14147 Lifting fixture 1 off above the stage 3 vane assembly.

CAUTION
MAKE SURE THAT EACH TAIL OF THE HOOKS IS ATTACHED CORRECTLY TO THE STAGE 3 VANES. IF NOT THE PARTS CAN BE DAMAGED. THE HOOKS CAN BE SEEN THROUGH THE APERTURE OF THE LIFTING FIXTURE.Push the 15 hooks down. Turn the hooks by 90 degrees so that they engage the front edges of the second vane airfoils.
SUBTASK 72-50-10-430-308 Install the Lifting Fixture
Refer to Figure.
NOTE
Make sure that not more than five vane segments each marked with two "+" symbols are installed per LPT module assembly.Turn the lifting shaft, part of the assembly fixture, clockwise to lift the assembly fixture. Make sure that the rear outer locating dogs of the stage 3 vanes fully engage with the mating annular slot of the LP turbine case. Make sure that the stage 3 vanes are correctly installed in the LP turbine case slots.
SUBTASK 72-50-10-430-309 Install the Stage 3 Vane Assembly in to the LP Turbine Case
Refer to Figure.
Use hoist equipment. Lift the LP turbine case with the IAE 1F10052 Two cables sling 1 off.
Install the 12 strip seals to the 12 inner duct segments. Use CoMat 10-062 ASSEMBLY FLUID.
Install the IAE 1M14040 Guide pin 2 off in the two clinching nuts of the diffuser inner duct assembly. Install the guide pins at 180 degrees apart from each other.
SUBTASK 72-50-10-430-310 Prepare the Inner Duct of the Diffuser
Refer to Figure.

WARNING
DO NOT GET ANTI-SEIZE PASTE ON YOUR SKIN WHEN YOU LUBRICATE THREADS AND ABUTMENT FACES OF NUTS AND BOLTS. WEAR PROTECTIVE GLOVES.Apply CoMat 10-129A ANTI-SEIZE PASTE to the 29 bolts. Install the bolts which attach the stage 3 vane assembly, the stage 3 air seal ring and the inner duct assembly. Wipe off excess paste.
SUBTASK 72-50-10-430-311 Install the Inner Duct of the Diffuser
Refer to Figure.

WARNING
DO NOT GET ANTI-SEIZE PASTE ON YOUR SKIN WHEN YOU LUBRICATE THREADS AND ABUTMENT FACES OF NUTS AND BOLTS. WEAR PROTECTIVE GLOVES.Lubricate all threads and mating faces with CoMat 10-129A ANTI-SEIZE PASTE.
SUBTASK 72-50-10-430-312 Install the Outer Duct of the Diffuser
Refer to Figure.
NOTE
The blanking plug surface must be continuous to the stage 3 vane outer platform surface. A tolerance of maximum minus 0.024 in. (0.6 mm) against the stage 3 vane outer platform surface is permitted. If necessary spacer plate(s) must be used. Usually one spacer plate is necessary.Make an estimate by finger touch how many spacer plates are necessary.
Install the blanking plug.

WARNING
DO NOT GET ANTI-SEIZE PASTE ON YOUR SKIN WHEN YOU LUBRICATE THREADS AND ABUTMENT FACES OF NUTS AND BOLTS. WEAR PROTECTIVE GLOVES.Apply CoMat 10-129A ANTI-SEIZE PASTE to the two bolts.
Safety the bolts with CoMat 02-119 LOCKWIRE lockwire.
SUBTASK 72-50-10-430-313 Install the Blanking Plugs to the LP Turbine Borescope Ports
Figure: Lift and Turn the LP Turbine Case
Lift and Turn the LP Turbine Case

Figure: V2500-A5 Install the Stage 3 LP Turbine Diffuser Outer Duct and the Front Heatshields
V2500-A5 Install the Stage 3 LP Turbine Diffuser Outer Duct and the Front Heatshields

Figure: Prepare the Stage 3 Vane Assembly for Assembly
Prepare the Stage 3 Vane Assembly for Assembly

Figure: Position of the Assembly Segments and the Assembly Supports of the Stage 3 Outer Duct
Position of the Assembly Segments and the Assembly Supports of the Stage 3 Outer Duct

Figure: Install the Stage 3 Vane Assembly with the Lifting Fixture
Install the Stage 3 Vane Assembly with the Lifting Fixture

Figure: V2500-A1 Prepare the Stage 3 LP Turbine Diffuser inner Duct for Assembly
V2500-A1 Prepare the Stage 3 LP Turbine Diffuser inner Duct for Assembly

Figure: Stage 3 LP Turbine Diffuser Inner Duct
Stage 3 LP Turbine Diffuser Inner Duct

Figure: Install the Stage 3 LP Turbine Borescope Blanking Plug
Install the Stage 3 LP Turbine Borescope Blanking Plug

Figure: Correct Installation of the Hooks of the Lifting Fixture
Correct Installation of the Hooks of the Lifting Fixture

