DMC:V2500-A5-72-50-25-01A-941A-DIssue No:001.00Issue Date:2014-05-01
Export Control
EAR Export Classification: Not subject to the EAR per 15 C.F.R. Chapter 1, Part 734.3(b)(3), except for the following Service Bulletins which are currently published as EAR Export Classification 9E991: SBE70-0992, SBE72-0483, SBE72-0580, SBE72-0588, SBE72-0640, SBE73-0209, SBE80-0024 and SBE80-0025.Copyright
© IAE International Aero Engines AG (2001, 2014 - 2021) The information contained in this document is the property of © IAE International Aero Engines AG and may not be copied or used for any purpose other than that for which it is supplied without the express written authority of © IAE International Aero Engines AG. (This does not preclude use by engine and aircraft operators for normal instructional, maintenance or overhaul purposes.).Applicability
V2500-A5
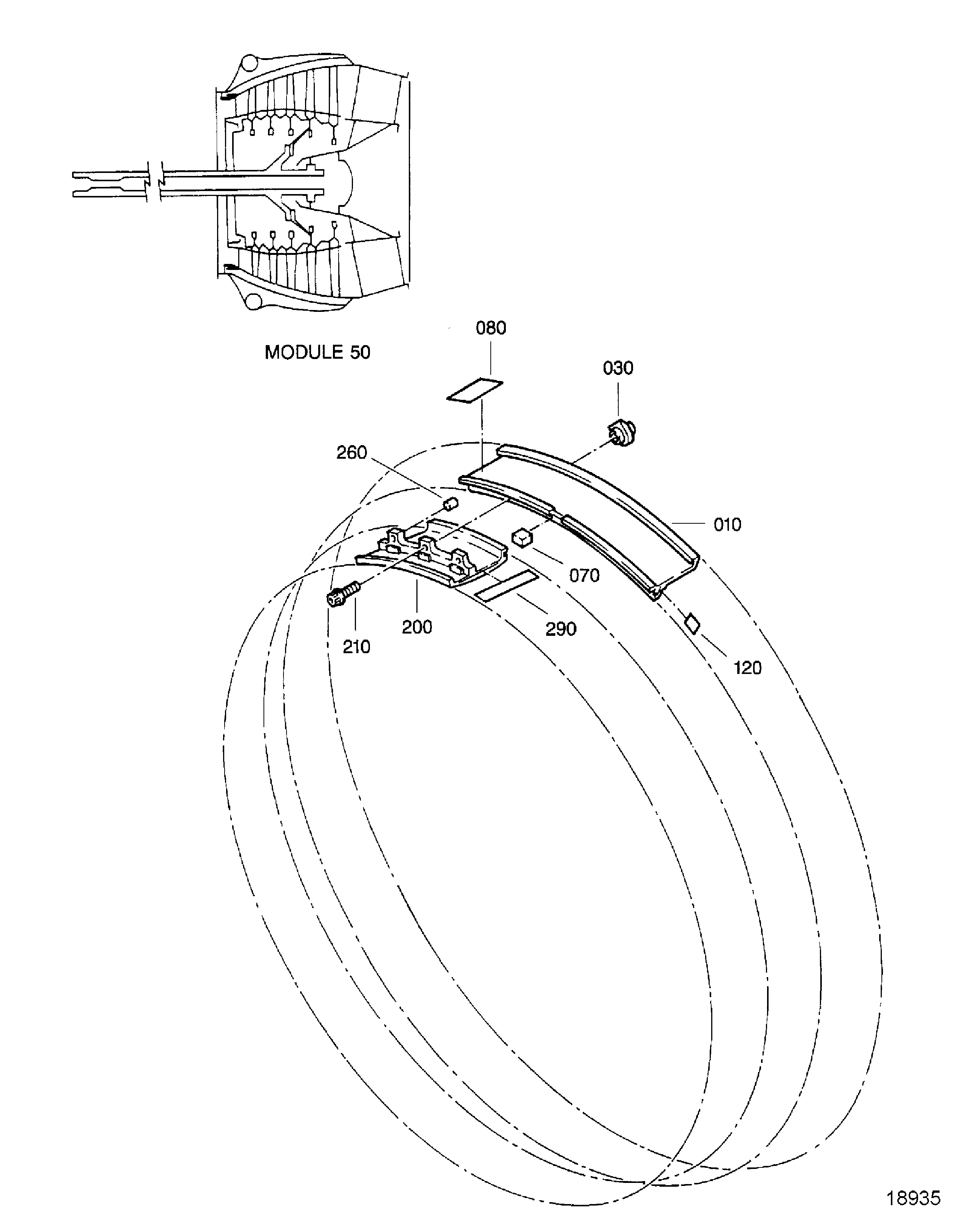
| Fig. Item | Part No. | Description | Effect/Model Applic. | UPA |
|---|---|---|---|---|
| 01 | ||||
| - | B72502501 | ENGINE-LP TURBINE DIFFUSER DUCT, PRE SBE70-0504 | aa | |
| - | SBE0504-01 | ENGINE-LP TURBINE DIFFUSER DUCT, PRE SBE70-0525 | ab | |
| - | SBE0525-01 | ENGINE-LP TURBINE DIFFUSER DUCT, PRE SBE70-0821 | ac | |
| - | SBE0821-01 | ENGINE-LP TURBINE DIFFUSER DUCT | ad | |
| 010 | 3A1907 | • SUPPORT, DIFFUSER, ASSEMBLY | aa-ad/02 | 8 |
| 010A | 3A1907 | • SUPPORT, DIFFUSER, ASSEMBLY | aa-ad/01 | 8 |
| 030 | ST1578-10 | • • NUT - CLINCH,SELF-LOCKING 27238 POST SBE70-0821 | ad/03 | 2 |
| 030A | ST1578 | • • NUT - CLINCH,SELF-LOCKING 27238 PRE SBE70-0821 | aa-ac/03 | 2 |
| -050 | 3A0085 | • • SUPPORT, DIFFUSER, ASSEMBLY | aa-ad/03 | REF |
| -060 | 3A0086 | • • • SUPPORT, DIFFUSER | aa-ad/02 | REF |
| -060A | 3A0086 | • • • SUPPORT, DIFFUSER | aa-ad/01 | REF |
| 070 | 3A0087 | • • • KEY, LOCATING | aa-ad/03 | 1 |
| 080 | 3A0088 | • • • SEAL, STRIP | aa-ad/03 | 1 |
| 120 | 3A0089 | • SEAL, STRIP | aa-ad/03 | 8 |
| 200 | 3A1791 | • DIFFUSER, A/O OUTER SEGMENT PRE SBE70-0525 | aa-ab/03 | 16 |
| 200A | 3A2482 | • DIFFUSER, A/O SEGMENT OUTER POST SBE70-0525 | ac-ad/03 | 16 |
| 210 | ST1449-03 | • BOLT 77445 | aa-ad/03 | 16 |
| 260 | 3A0092 | • • PIN | aa-ad/03 | 2 |
| 290 | 3A1794 | • SEAL, STRIP PRE SBE70-0504 | aa/02 | 16 |
| 290A | 3A2425 | • SEAL, STRIP POST SBE70-0504 PRE SBE70-0525 | ac-ad/03 | 16 |
| 290B | 3A2485 | • SEAL, STRIP POST SBE70-0525 | ac-ad/03 | 16 |
| - ITEM NOT ILLUSTRATED, ***** EFFECTIVITY NOT AVAILABLE | ||||
Figure: LPT Outer Diffuser Duct And Related Parts
LPT Outer Diffuser Duct And Related Parts

