DMC:V2500-A5-75-22-49-10A-941A-DIssue No:001.00Issue Date:2014-05-01
Export Control
EAR Export Classification: Not subject to the EAR per 15 C.F.R. Chapter 1, Part 734.3(b)(3), except for the following Service Bulletins which are currently published as EAR Export Classification 9E991: SBE70-0992, SBE72-0483, SBE72-0580, SBE72-0588, SBE72-0640, SBE73-0209, SBE80-0024 and SBE80-0025.Copyright
© IAE International Aero Engines AG (2001, 2014 - 2021) The information contained in this document is the property of © IAE International Aero Engines AG and may not be copied or used for any purpose other than that for which it is supplied without the express written authority of © IAE International Aero Engines AG. (This does not preclude use by engine and aircraft operators for normal instructional, maintenance or overhaul purposes.).Applicability
V2500-A5
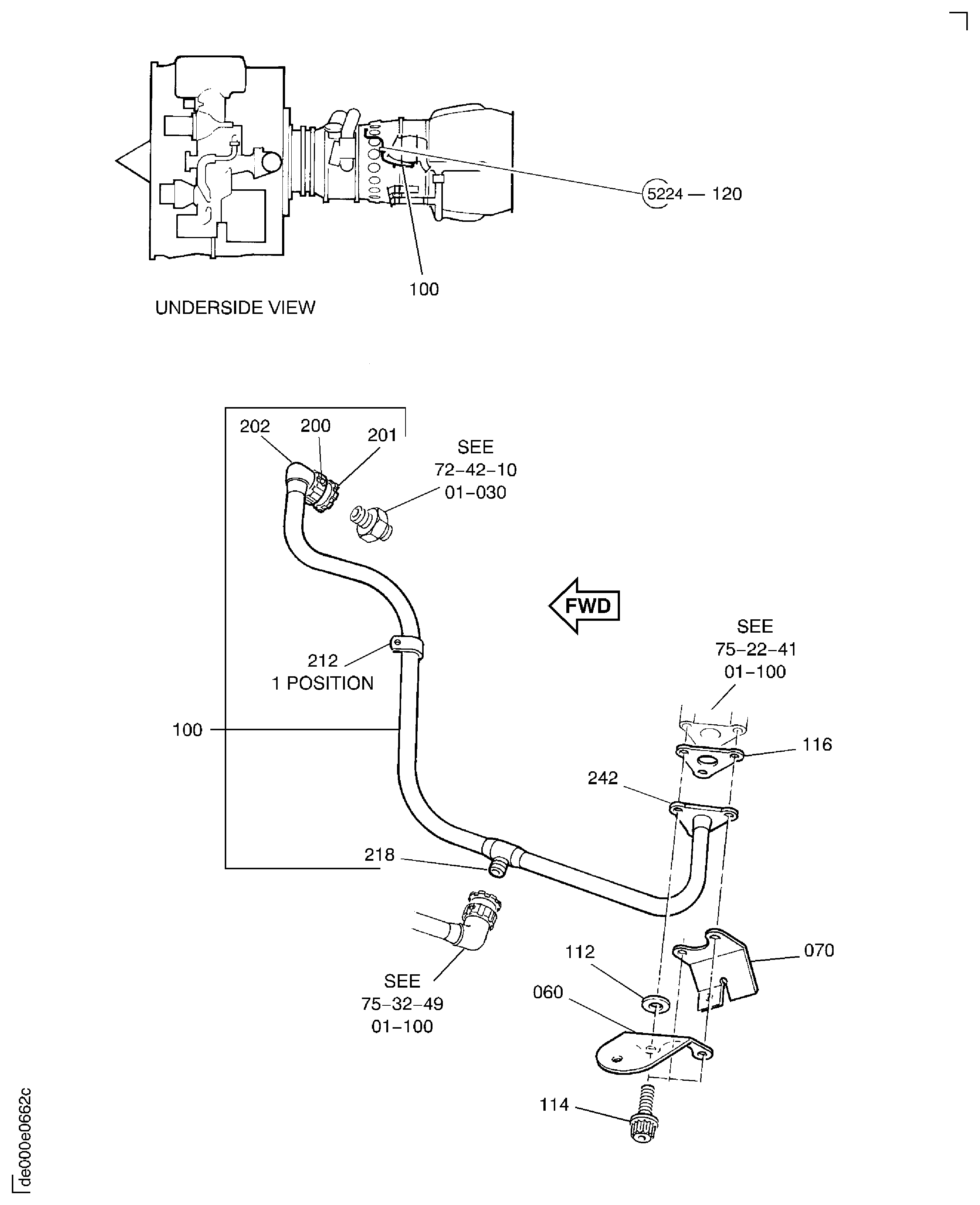
| Fig. Item | Part No. | Description | Effect/Model Applic. | UPA |
|---|---|---|---|---|
| 10 | ||||
| B75224910 | AIR-BEARING COMPARTMENT COOLING & SEALING TUBES, PRE SBE75-0049 | aa | ||
| SBE0049-01 | AIR-BEARING COMPARTMENT COOLING & SEALING TUBES, PRE SBE79-0088 | ab | ||
| SBE0088-02 | AIR-BEARING COMPARTMENT COOLING & SEALING TUBES, PRE SBE71-0289 | ac | ||
| SBE0289-01 | AIR-BEARING COMPARTMENT COOLING & SEALING TUBES, PRE SBE71-0276 | ad | ||
| SBE0276-01 | AIR-BEARING COMPARTMENT COOLING & SEALING TUBES | ae | ||
| 060 | 740-5286-501 | • BRACKET 51563 | aa-ae/01 | 1 |
| 062 | 740-5290-501 | • BRACKET - OVERHEAT AND F/DET 51563 POST SBE79-0088 PRE SBE71-0276 | ac-ad/01 | 1 |
| 062A | 740-5290-503 | • BRACKET - OVERHEAT AND F/DET 51563 POST SBE71-0276 | ae/01 | 1 |
| 064 | 4W0107 | • BOLT - .190 DIA X .750 Optional Part 4W0107 POST SBE79-0088 | ac-ae/01 | 1 |
| 065 | 4W0001 | • NUT - .190 DIA Optional Part 4W0001 POST SBE79-0088 | ac-ae/01 | 1 |
| 066 | 4W0106 | • BOLT - .190 DIA X .688 Optional Part 4W0106 POST SBE79-0088 | ac-ae/01 | 1 |
| 067 | 4W0001 | • NUT - .190 DIA Optional Part 4W0001 POST SBE79-0088 | ac-ae/01 | 1 |
| 069 | TA025074-04 | • CLAMP - LOOP STYLE,CUSHION, .250 DIA 84971 ALT AS61902 POST SBE79-0088 PRE SBN71-0295 | *****/01 | 1 |
| 069A | AS61902 | • CLAMP - LOOP STYLE,CUSHION, 6.35 MM (0.250) U1653 ALT TA025074-04 POST SBE79-0088 PRE SBN71-0295 | *****/01 | 1 |
| 070 | 5W8345 | • BRACKET | aa-ae/01 | 1 |
| 100 | 5A9038 | • TUBE - ASSEMBLY OF AIR COLD BUFFR AIR | aa-ae/01 | 1 |
| 112 | SP123E | • WASHER K7766 | aa-ae/01 | 1 |
| 114 | 4W0167 | • BOLT - .250 DIA X .812 | aa-ae/01 | 3 |
| 116 | AGS3900 | • GASKET U1653 | aa-ae/01 | 1 |
| 120 | TA0210046FT12 | • CLIP 84971 PRE SBE71-0289 | aa-ac/02 | 1 |
| 120A | TA0210046FT12 | • CLIP 84971 POST SBE75-0049 PRE SBE71-0289 | aa-ac/03 | 1 |
| 120B | TA025022-12 | • CLAMP - LOOP STYLE,CUSHION, 19.05 MM (0.750) 84971 POST SBE71-0289 | ab-ae/01 | 1 |
| 200 | AS15783 | • • WIRE - THRUST U1653 | aa-ae/01 | 1 |
| 201 | AS15707 | • • NUT - TUBE COUPLING U1653 | aa-ae/01 | 1 |
| 202 | 5W8149 | • • FERRULE - ELBOW | aa-ae/01 | 1 |
| 212 | 5W1066 | • • LUG - BRAZED | aa-ae/01 | 1 |
| 218 | 5W8131 | • • ADAPTOR - TEE | aa-ae/01 | 1 |
| 242 | 5A8691 | • • ADAPTOR - FLANGED | aa-ae/01 | 1 |
| - ITEM NOT ILLUSTRATED, ***** EFFECTIVITY NOT AVAILABLE | ||||
Figure: AIR-BEARING COMPARTMENT COOLING & SEALING TUBES
BEARING COMPARTMENT COOLING

