DMC:V2500-A5-79-22-43-01A-941A-DIssue No:004.00Issue Date:2020-08-01
Export Control
EAR Export Classification: Not subject to the EAR per 15 C.F.R. Chapter 1, Part 734.3(b)(3), except for the following Service Bulletins which are currently published as EAR Export Classification 9E991: SBE70-0992, SBE72-0483, SBE72-0580, SBE72-0588, SBE72-0640, SBE73-0209, SBE80-0024 and SBE80-0025.Copyright
© IAE International Aero Engines AG (2001, 2014 - 2021) The information contained in this document is the property of © IAE International Aero Engines AG and may not be copied or used for any purpose other than that for which it is supplied without the express written authority of © IAE International Aero Engines AG. (This does not preclude use by engine and aircraft operators for normal instructional, maintenance or overhaul purposes.).Applicability
V2500-A5
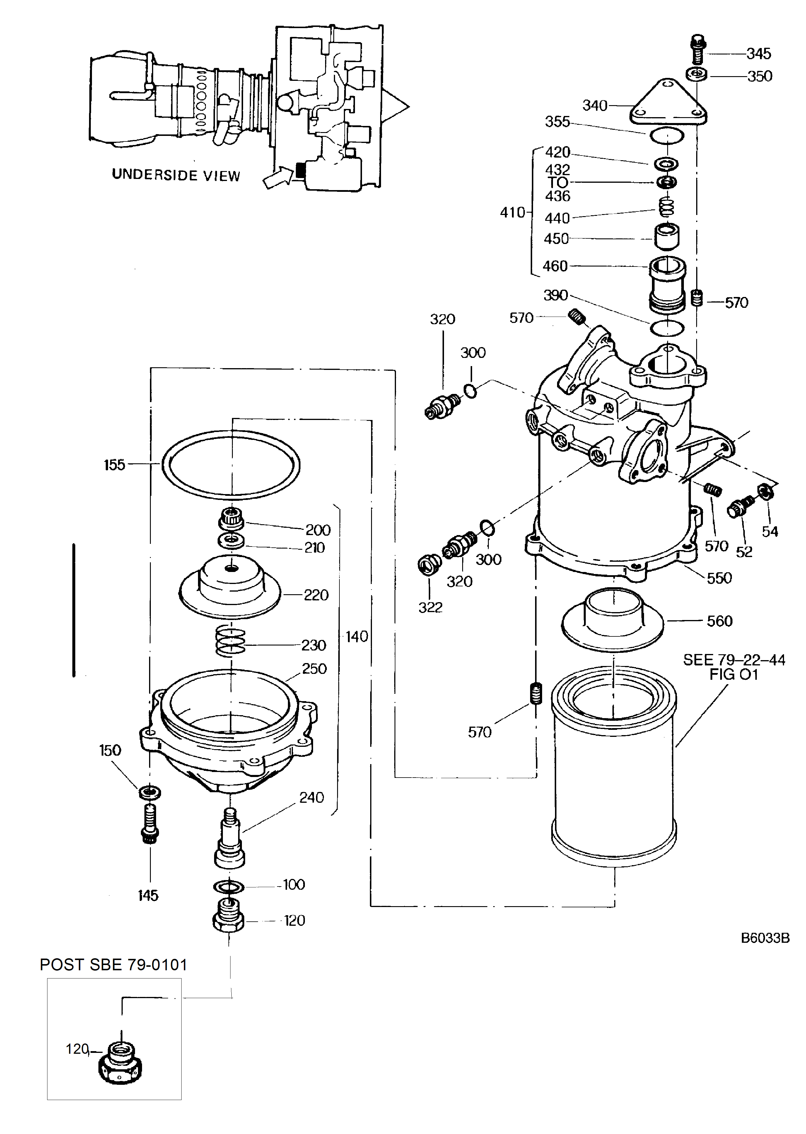
| Fig. Item | Part No. | Description | Effect/Model Applic. | UPA | |
|---|---|---|---|---|---|
| 01 | |||||
| - | B79224301 | OIL - SCAVENGE OIL FILTER HOUSING ASSEMBLY, PRE SBE70-0785 | aa | ||
| - | SBE0785-01 | OIL - SCAVENGE OIL FILTER HOUSING ASSEMBLY, PRE SBE79-0101 | ab | ||
| - | SBE0101-01 | OIL - SCAVENGE OIL FILTER HOUSING ASSEMBLY | ac | ||
| 001 | 4A7033 | FILTER - OIL, SCAVENGE, ASSEMBLY OF PRE SBE79-0101 | aa-ab/01 | 1 | |
| 001A | 4A7033B | FILTER - ASSY OIL SCAVENGE A3460 POST SBE79-0101 | ac/01 | 1 | |
| 052 | 4W0168 | • BOLT, MACHINE DOUBLE HEX - .250 DIA X .875 | aa-ac/01 | 3 | |
| 054 | MS9321-10 | • WASHER - FLAT, 0.500 X 0.276 X 0.062 96906 | aa-ac/01 | 3 | |
| 100 | AS3208-08 | • PACKING - PREFORMED U1653 | aa-ac/01 | 1 | |
| 120 | MS9954-08 | • PLUG 96906 PRE SBE79-0101 | aa-ab/01 | 1 | |
| 120A | MS9902-08 | • PLUG - MACHINE THREAD 96906 POST SBE79-0101 | ac/01 | 1 | |
| 140 | 4A7043 | • COVER - OIL FILTER, ASSEMBLY OF | aa-ac/01 | 1 | |
| 145 | 4W0167 | • BOLT, MACHINE DOUBLE HEX - .250 DIA X .812 | aa-ac/01 | 6 | |
| 150 | MS9321-10 | • WASHER - FLAT, 0.500 X 0.276 X 0.062 96906 | aa-ac/01 | 6 | |
| 155 | AS3209-153 | • PACKING - PREFORMED U1653 | aa-ac/01 | 1 | |
| 200 | 4W0002 | • • NUT - SELF LOCKING, DOUBLE HEXAGON, .250 DIA (SEE APPENDIX 5) | aa-ac/01 | 1 | |
| 210 | MS9321-10 | • • WASHER - FLAT, 0.500 X 0.276 X 0.062 96906 | aa-ac/01 | 1 | |
| 220 | 4P7038 | • • RING | aa-ac/01 | 1 | |
| 230 | 4P7037 | • • SPRING | aa-ac/01 | 1 | |
| 240 | 4P7036 | • • BOLT - SPECIAL | aa-ac/01 | 1 | |
| 250 | 4P7216 | • • COVER | aa-ac/01 | 1 | |
| 251 | 4L7015 | • • • PLUG - ,(VRS5427) A3460 (VRS5427) POST SBE70-0197 | *****/01 | 1 | |
| 252 | 4L7016 | • • • PIN - ,(VRS5427) A3460 (VRS5427) POST SBE70-0197 | *****/01 | 1 | |
| 300 | AS3208-04 | • PACKING - PREFORMED U1653 PRE SBE79-0101 | aa-ab/01 | 3 | |
| 300A | AS3208-04 | • PACKING - PREFORMED U1653 POST SBE79-0101 | ac/01 | 2 | |
| 320 | 4P7099 | • ADAPTER - UNION PRE SBE79-0101 | aa-ab/01 | 3 | |
| 320A | 4P7099 | • ADAPTER - UNION POST SBE79-0101 | ac/01 | 2 | |
| 322 | X | AS15825 | • NUT - TUBE CLOSURE - ASSEMBLY OF U1653 PRE SBE79-0101 | aa-ab/01 | 1 |
| 340 | 4P7043 | • COVER | aa-ac/01 | 1 | |
| 345 | 4W0164 | • BOLT OPTION - .250 DIA X .625 | aa-ac/01 | 3 | |
| 350 | MS9321-10 | • WASHER - FLAT, 0.500 X 0.276 X 0.062 96906 | aa-ac/01 | 3 | |
| 355 | AS3209-122 | • PACKING - PREFORMED U1653 | aa-ac/01 | 1 | |
| 390 | AS3209-122 | • PACKING - PREFORMED U1653 | aa-ab/01 | 1 | |
| 410 | 4A7050 | • VALVE - FILTER BYPASS, ASSEMBLY OF | aa-ac/01 | 1 | |
| 420 | AS3215-116 | • • RING - RETAINING U1653 | aa-ac/01 | 1 | |
| 432 | 4P7297CL01 | • • RING | aa-ac/01 | 1 | |
| 433 | 4P7297CL02 | • • RING | aa-ac/01 | 1 | |
| 434 | 4P7297CL03 | • • RING | aa-ac/01 | 1 | |
| 435 | 4P7297CL04 | • • RING | aa-ac/01 | 1 | |
| 436 | 4P7297CL05 | • • RING | aa-ac/01 | 1 | |
| 440 | 4P7028 | • • SPRING | aa-ac/01 | 1 | |
| 450 | 4P7033 | • • VALVE | aa-ac/01 | 1 | |
| 460 | 4P7034 | • • CASING - VALVE | aa-ac/01 | 1 | |
| 550 | 4B7215 | • HOUSING - OIL FILTER, ASSEMBLY OF PRE SBE79-0101 | aa-ab/01 | 1 | |
| 550A | 4B7382 | • HOUSING - OIL FILTER, ASSEMBLY OF POST SBE79-0101 | ac/01 | 1 | |
| 560 | 4P7106 | • • SUPPORT - FILTER | aa-ac/01 | 1 | |
| 570 | MS21209F4-15L | • • INSERT - WIRE, THREAD, 0.250 DIA 96906 PRE SBE79-0101 | aa-ab/01 | 15 | |
| 570A | MS21209F4-15L | • • INSERT - WIRE, THREAD, 0.250 DIA 96906 POST SBE79-0101 | ac/01 | 12 | |
| 571 | KU37022 | • • INSERT POST SBE70-0785 | ab-ac/01 | 15 | |
| - ITEM NOT ILLUSTRATED, ***** EFFECTIVITY NOT AVAILABLE | |||||
Figure: Scavenge Oil Filter Housing
Scavenge Oil Filter Housing

