Export Control
EAR Export Classification: Not subject to the EAR per 15 C.F.R. Chapter 1, Part 734.3(b)(3), except for the following Service Bulletins which are currently published as EAR Export Classification 9E991: SBE70-0992, SBE72-0483, SBE72-0580, SBE72-0588, SBE72-0640, SBE73-0209, SBE80-0024 and SBE80-0025.Copyright
© IAE International Aero Engines AG (2001, 2014 - 2021) The information contained in this document is the property of © IAE International Aero Engines AG and may not be copied or used for any purpose other than that for which it is supplied without the express written authority of © IAE International Aero Engines AG. (This does not preclude use by engine and aircraft operators for normal instructional, maintenance or overhaul purposes.).Applicability
All
Common Information
TASK 72-31-11-300-025 LPC Fan Blade - Repair The Damage By Local Material Removal, Repair-025 (VRS1026)
General
This repair gives the procedure to scallop the leading edge and the trailing edge and to dress the airfoil surface to remove the damage from the LP compressor rotor blade.
Deterioration of SFC and fan balance will occur when fan blades are dressed to this TASK.
The maximum number of dressed blades for a given LP compressor rotor blade set is the equivalent of three blades dressed to the maximum limit. Exceeding this could result in engine vibration of unacceptable limits.
Price and availability - none
The practices and processes referred to in the procedure by the TASK numbers are in the SPM.
Related repairs
LP Compressor Rotor Blade - Repair the Airfoil Surface Finish by Glass Bead Peening (VRS1724). Refer to TASK 72-31-11-300-026 (REPAIR-026).
NOTE
Preliminary Requirements
Pre-Conditions
NONESupport Equipment
| Name | Manufacturer | Part Number / Identification | Quantity | Remark |
|---|---|---|---|---|
| Portablegrinding equipment | LOCAL | Portable grinding equipment | ||
| Fluorescent Penetrant Inspection Equipment | LOCAL | Fluorescent penetrant inspection equipment | ||
| Chemical cleaning equipment | LOCAL | Chemical cleaning equipment | ||
| Vibrating marking pencil | LOCAL | Vibrating marking pencil |
Consumables, Materials and Expendables
| Name | Manufacturer | Part Number / Identification | Quantity | Remark |
|---|---|---|---|---|
| CoMat 05-019 WATERPROOF SILICON CARBIDE | LOCAL | CoMat 05-019 | ||
| CoMat 05-020 WATERPROOF SILICON CARBIDE | LOCAL | CoMat 05-020 | ||
| CoMat 05-021 WATERPROOF SILICON CARBIDE | 44197 | CoMat 05-021 | ||
| CoMat 05-064 WATERPROOF SILICON CARBIDE | K6835 | CoMat 05-064 | ||
| CoMat 06-022 FLUORESCENT PENETRANT (POST-EMULSIFIED ULTRA HIGH SENSITIVITY) | LOCAL | CoMat 06-022 |
Spares
NONESafety Requirements
CAUTION
CAUTION
CAUTION
Procedure
Use fluorescent penetrant inspection equipment.
Refer to the SPM TASK 70-23-04-230-501.
Do a penetrant crack test to find all the damage.
SUBTASK 72-31-11-230-066 Examine the LP Compressor Rotor Blade Assembly for Cracks
Cutaway until all damage is removed.
NOTE
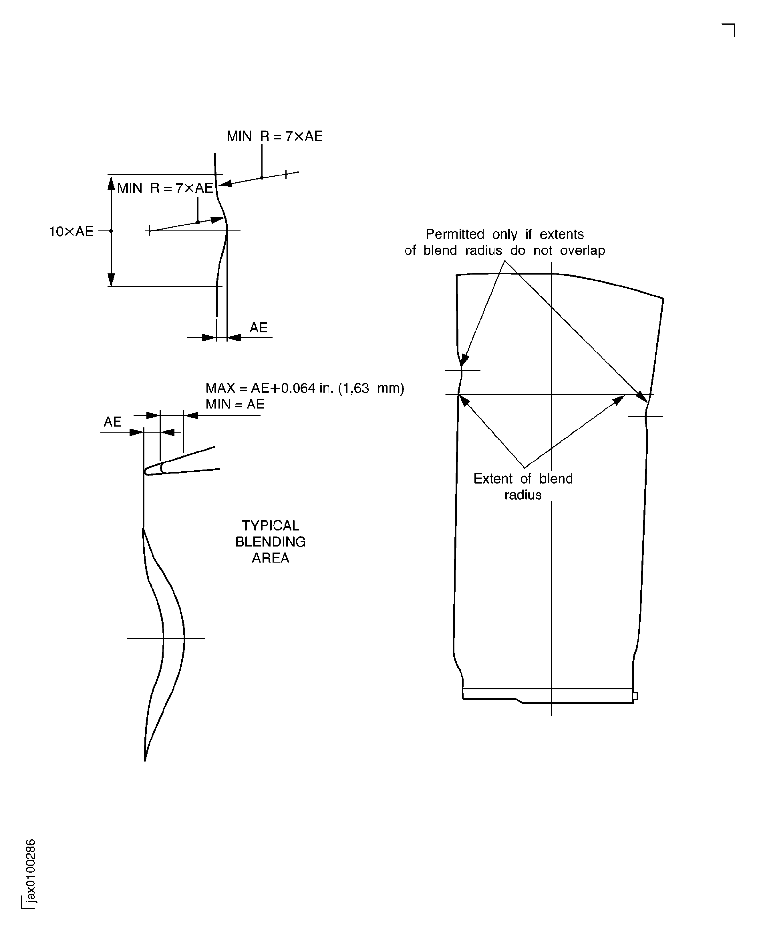
If the damage is evident in Zone AD, then you must blend parallel with the blade leading edge and trailing edge to remove any material above the repaired area.If you blend in Zone AD, then you can only have one scallop in Zone AC. AA and AB may each feature a scallop, independently of the repair of Zone AD and AC.Use portable grinding equipment.

CAUTION
YOU MUST USE SILICON CARBIDE TYPE ABRASIVE WHEELS, STONES AND PAPERS TO DRESS, BLEND AND POLISH THIS COMPONENT.
CAUTION
IF THE MATERIAL SHOWS A CHANGE IN COLOR, TO DARKER THAN A LIGHT STRAW COLOR, THE COMPONENT IS TO BE REJECTED.
CAUTION
DO NOT FORCE WITH MECHANICAL CUTTERS OR THE MATERIAL WILL BECOME TOO HOT.Remove the damage on the leading edge, the trailing edge and the airfoil surface.
Surface finish of the repair must be the same as the adjacent area.
Use CoMat 05-019 WATERPROOF SILICON CARBIDE to CoMat 05-021 WATERPROOF SILICON CARBIDE and/or CoMat 05-064 WATERPROOF SILICON CARBIDE.
NOTE
The last polish is to be in a radial direction.Make smooth and polish the repaired area.
SUBTASK 72-31-11-350-089 Remove the Damage from the LP Compressor Rotor Blade Assembly
Refer to the SPM TASK 70-11-08-300-503.
Swab etch the repaired area.
SUBTASK 72-31-11-110-074 Do a Swab Etch
Refer to the SPM TASK 70-23-05-230-501.
Do a local penetrant crack test on the repaired area.
SUBTASK 72-31-11-230-067 Examine the LP Compressor Rotor Blade Assembly for Cracks
Refer to VRS1724, TASK 72-31-11-300-026 (REPAIR-026).
Glass bead peen the airfoil.
SUBTASK 72-31-11-220-121 Peen the LP Compressor Rotor Blade Assembly
Refer to the SPM TASK 70-09-00-400-501, SUBTASK 70-09-00-400-501.

CAUTION
DO NOT VIBRO-ENGRAVE ON THE BLADE AIRFOIL OR LOCATION FACES.Write the repair number, VRS1026, adjacent to the assembly number.
SUBTASK 72-31-11-350-090 Identify the Repair
Figure: Fan blade - Scalloping limits
Sheet 1

Figure: Fan blade - Scallop proportions
Sheet 2

Figure: Fan blade - Blend details
Sheet 3

Figure: Fan blade - Surface dressing for pressure face and non-pressure face
Sheet 4

Figure: Fault to avoid when blending the edges of blades
Fault to avoid when blending the edges of blades

Figure: Typical example of damage before and after scalloping
Typical example of damage before and after scalloping

Figure: Fan blade - Leading edge shape
Sheet 1

Figure: Fan blade - Leading edge shape
Sheet 2

Figure: Fan blade - Leading edge shape
Sheet 3

