Export Control
EAR Export Classification: Not subject to the EAR per 15 C.F.R. Chapter 1, Part 734.3(b)(3), except for the following Service Bulletins which are currently published as EAR Export Classification 9E991: SBE70-0992, SBE72-0483, SBE72-0580, SBE72-0588, SBE72-0640, SBE73-0209, SBE80-0024 and SBE80-0025.Copyright
© IAE International Aero Engines AG (2001, 2014 - 2021) The information contained in this document is the property of © IAE International Aero Engines AG and may not be copied or used for any purpose other than that for which it is supplied without the express written authority of © IAE International Aero Engines AG. (This does not preclude use by engine and aircraft operators for normal instructional, maintenance or overhaul purposes.).Applicability
All
Common Information
TASK 72-32-03-200-010 Engine Front Mount Stopper - Examine, Inspection-010
General
This TASK gives the procedure for the inspection of the mount tube stopper assembly. For the other intermediate structure parts, refer to TASK 72-32-03-200-000 (INSPECTION-000).
Fig/item numbers in parentheses in the procedure agree with those used in the IPC. Only the primary Fig/item numbers are used. For the service bulletin alpha variant refer to IPC.
The policy that is necessary for inspection is given in the SPM TASK 70-20-01-200-501.
All the parts must be cleaned before any parts are examined. Refer to TASK 72-32-03-100-000 (CLEANING-000).
All the parts must be visually examined for damage, corrosion and wear. Any defect that is not identified in the procedure must be referred to IAE.
The procedure for those parts which must have a crack test is given in Step. Do the test before the parts are visually examined.
All the parts must be examined to make sure that all the repairs have been completed satisfactorily.
The practices and processes referred to in the procedure by the TASK numbers are in the SPM.
References
Refer to the SPM for data on these items.
Definition of Damages, TASK 70-02-02-350-501
Inspection of Pasrts, TASK 70-20-01-200-501
Some data on these items are contained in this TASK. For more data on these items refer to the SPM.
Method of testing for Crack Indications
Chemical Process
Surface Protection
Preliminary Requirements
Pre-Conditions
NONESupport Equipment
| Name | Manufacturer | Part Number / Identification | Quantity | Remark |
|---|---|---|---|---|
| Fluorescent Penetrant Inspection Equipment | LOCAL | Fluorescent penetrant inspection equipment |
Consumables, Materials and Expendables
NONESpares
NONESafety Requirements
NONEProcedure
NOTE
The crack test is not necessary for rubber portion of the stopper assembly.Clean the parts. Refer to TASK 72-32-03-100-000 (CLEANING-000).
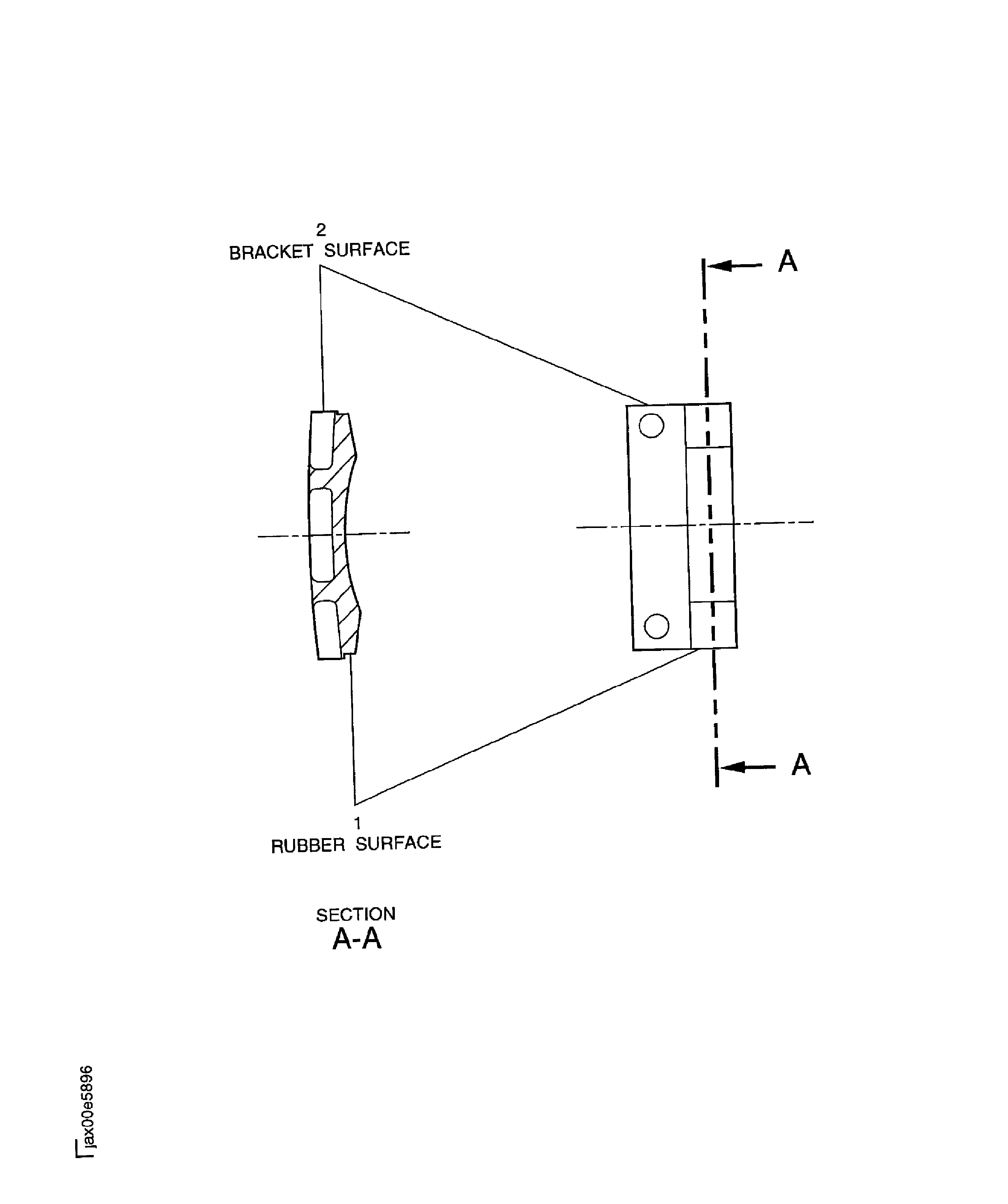
SUBTASK 72-32-03-230-074 Examine the Mount Tube Stopper Assembly (02-450) for Cracks
Figure: Locations on the Mount Tube Stopper Assembly
Locations on the Mount Tube Stopper Assembly

