DMC:V2500-A0-72-32-2501-02A-609A-CIssue No:001.00Issue Date:2013-11-01
Export Control
EAR Export Classification: Not subject to the EAR per 15 C.F.R. Chapter 1, Part 734.3(b)(3), except for the following Service Bulletins which are currently published as EAR Export Classification 9E991: SBE70-0992, SBE72-0483, SBE72-0580, SBE72-0588, SBE72-0640, SBE73-0209, SBE80-0024 and SBE80-0025.Copyright
© IAE International Aero Engines AG (2001, 2014 - 2021) The information contained in this document is the property of © IAE International Aero Engines AG and may not be copied or used for any purpose other than that for which it is supplied without the express written authority of © IAE International Aero Engines AG. (This does not preclude use by engine and aircraft operators for normal instructional, maintenance or overhaul purposes.).Applicability
All
Common Information
TASK 72-32-25-300-015 No. 3 Bearing Seal Ring Holder - Plasma Spray Outside Diameter, Repair-015 (VRS3485)
General
NOTE
To identify the consumable materials refer to PCI.
Preliminary Requirements
Pre-Conditions
NONESupport Equipment
| Name | Manufacturer | Part Number / Identification | Quantity | Remark |
|---|---|---|---|---|
| Machine shop equipment | LOCAL | Machine shop equipment | ||
| Plasma spray equipment | LOCAL | Plasma spray equipment |
Consumables, Materials and Expendables
| Name | Manufacturer | Part Number / Identification | Quantity | Remark |
|---|---|---|---|---|
| CoMat 03-089 METAL SPRAYING POWDER Ni/Al (95/5) | 00741 | CoMat 03-089 |
Spares
NONESafety Requirements
CAUTION
USE ONLY APPROVED CLEANING PROCEDURE FOR TITANIUM ALLOY. REFER TO THE SPM TASK 70-11-06-300-503 AND SPM TASK 70-11-26-300-503.
CAUTION
USE ONLY APPROVED CLEANING PROCEDURE FOR TITANIUM ALLOY
Procedure
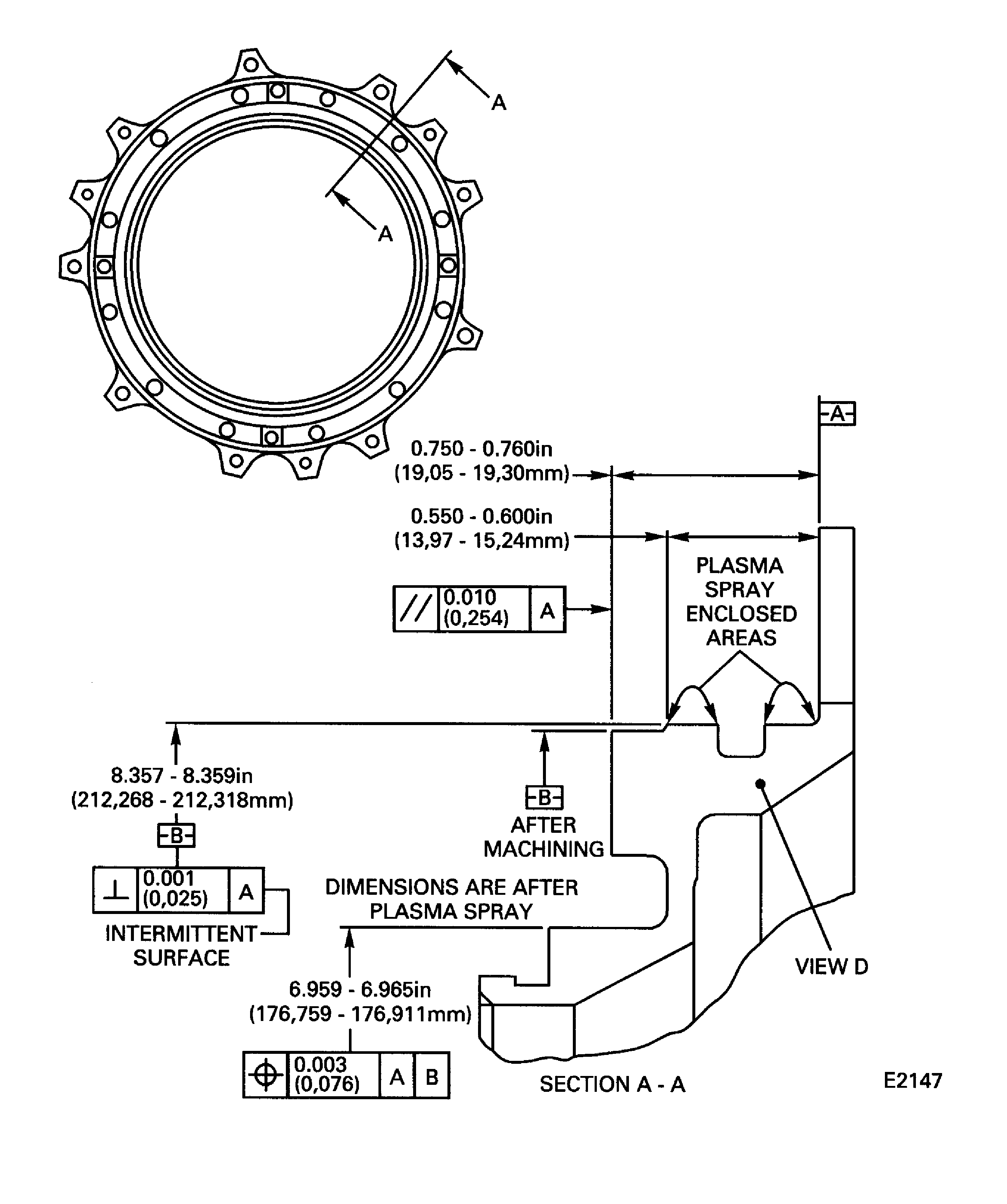
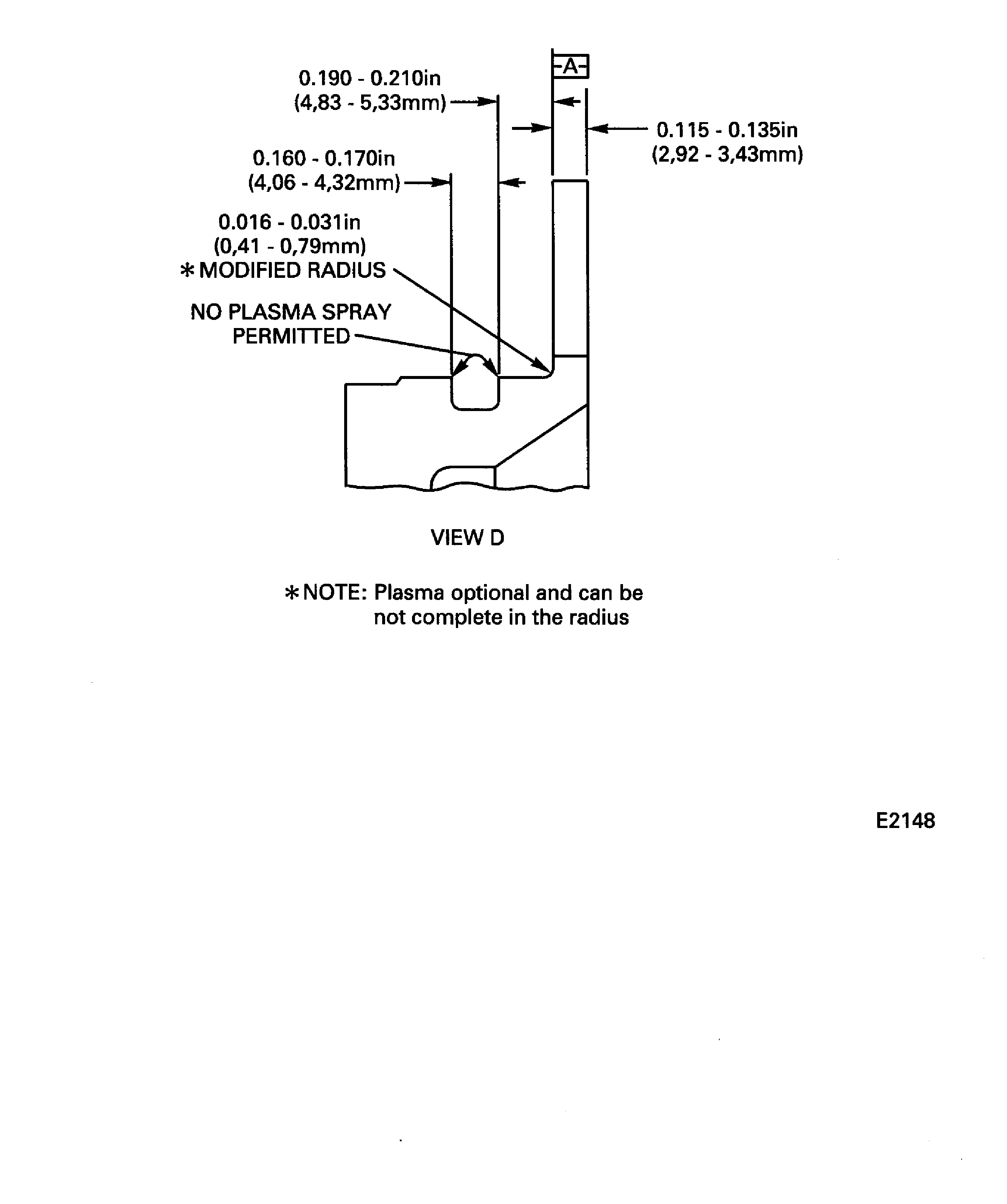
Refer to Figure.
SUBTASK 72-32-25-320-056 Remove the Remaining Plasma Spray from the Outside Diameter of the No. 3 Bearing Seal Ring Holder Assembly
Refer to Figure.
Plasma spray machined area to a coat thickness sufficient to allow for 0.003 to 0.015 in. (0.08 to 0.38 mm) maximum each side after finish machining.
Refer to the SPM TASK 70-34-03-340-501.
Apply plasma spray to the outside diameter.
SUBTASK 72-32-25-340-054 Apply Plasma Spray to the Outside Diameter of the No. 3 Bearing Seal Ring Holder Assembly
Figure: No. 3 seal ring holder assembly outside diameter repair
No. 3 seal ring holder assembly outside diameter repair

Figure: No. 3 seal ring holder assembly outside diameter repair
No. 3 seal ring holder assembly outside diameter repair

