Export Control
EAR Export Classification: Not subject to the EAR per 15 C.F.R. Chapter 1, Part 734.3(b)(3), except for the following Service Bulletins which are currently published as EAR Export Classification 9E991: SBE70-0992, SBE72-0483, SBE72-0580, SBE72-0588, SBE72-0640, SBE73-0209, SBE80-0024 and SBE80-0025.Copyright
© IAE International Aero Engines AG (2001, 2014 - 2021) The information contained in this document is the property of © IAE International Aero Engines AG and may not be copied or used for any purpose other than that for which it is supplied without the express written authority of © IAE International Aero Engines AG. (This does not preclude use by engine and aircraft operators for normal instructional, maintenance or overhaul purposes.).Applicability
All
Common Information
TASK 72-32-25-300-028 No. 3 Bearing Face Seal - Repair The Anti-Rotation Slot By Bushing Repair, Repair-028 (VRS3751)
General
Preliminary Requirements
Pre-Conditions
NONESupport Equipment
NONEConsumables, Materials and Expendables
| Name | Manufacturer | Part Number / Identification | Quantity | Remark |
|---|---|---|---|---|
| CoMat 03-392 WELDING WIRE | LOCAL | CoMat 03-392 | ||
| NEW | LOCAL | Bushing | 2 | Locally Fabricated Figure 4, Figure 5, Figure 6 and Figure 7 |
| NEW | 0AM53 | Rivet | 4 |
Spares
NONESafety Requirements
NONEProcedure
Repair, VRS3393 TASK 72-32-25-300-007 (REPAIR-007).
NOTE
If this repair was not previously performed, proceed to step 10. If this repair was previously performed, do steps 5. through 9.
Remove the carbon seal element from the face seal assembly.
SUBTASK 72-32-25-350-001 Remove the Carbon Seal Element
Refer to Figure.
SUBTASK 72-32-25-220-114 Examine the Slot
Refer to the SPM TASK 70-39-03-390-501.
Do an inspection of the rivet holes.
SUBTASK 72-32-25-220-115 Examine the Rivet Holes
Repair, VRS3546 TASK 72-32-25-300-026 (REPAIR-026)
If necessary, repair the slots
SUBTASK 72-32-25-350-002 Repair the Wear on the Slot Area
Refer to Figure.
Refer to the SPM TASK 70-31-13-310-016. Use CoMat 03-392 WELDING WIRE and the Manual Gas Tungsten Arc (GTAW-MA) method
Weld the rivet holes
Refer to the SPM TASK 70-37-07-370-501
Do a stress relieve of the face seal assembly
Refer to the SPM TASK 70-23-01-230-501 or SPM TASK 70-23-02-230-501
Do a fluorescent penetrant inspection of the face seal assembly
Refer to the SPM TASK 70-11-26-300-503
Clean the repair area
If necessary, repair the rivet holes.
SUBTASK 72-32-25-350-003 Repair the Rivet Holes
Refer to the SPM TASK 70-37-28-370-501.
Refer to Figure.
Refer to the SPM TASK 70-23-01-230-501 or SPM TASK 70-23-02-230-501.
Refer to the SPM TASK 70-33-02-100-501. Dimensions are after plating.
Refer to Figure.
SUBTASK 72-32-25-350-004 Locally Fabricate Bushings
Refer to the SPM TASK 70-11-03-300-503.
Clean the locally fabricated bushings.
SUBTASK 72-32-25-110-084 Clean the Bushings
Refer to the SPM TASK 70-39-03-390-501
NOTE
It is permitted to exceed the edge distance requirements not more than 50 percent.
If this repair was previously performed, transfer drill the bushing rivet holes from the face seal assembly to the bushings. Secure with rivets.
Position and clamp bushings in place at Locations F.
SUBTASK 72-32-25-350-005 Install the Bushings
Refer to Figure.
SUBTASK 72-32-25-220-116 Do an Inspection of the Bushings
Repair, VRS3393 TASK 72-32-25-300-007 (REPAIR-007).
Install the carbon seal element to the face seal assembly.
SUBTASK 72-32-25-350-006 Install the Carbon Seal Element
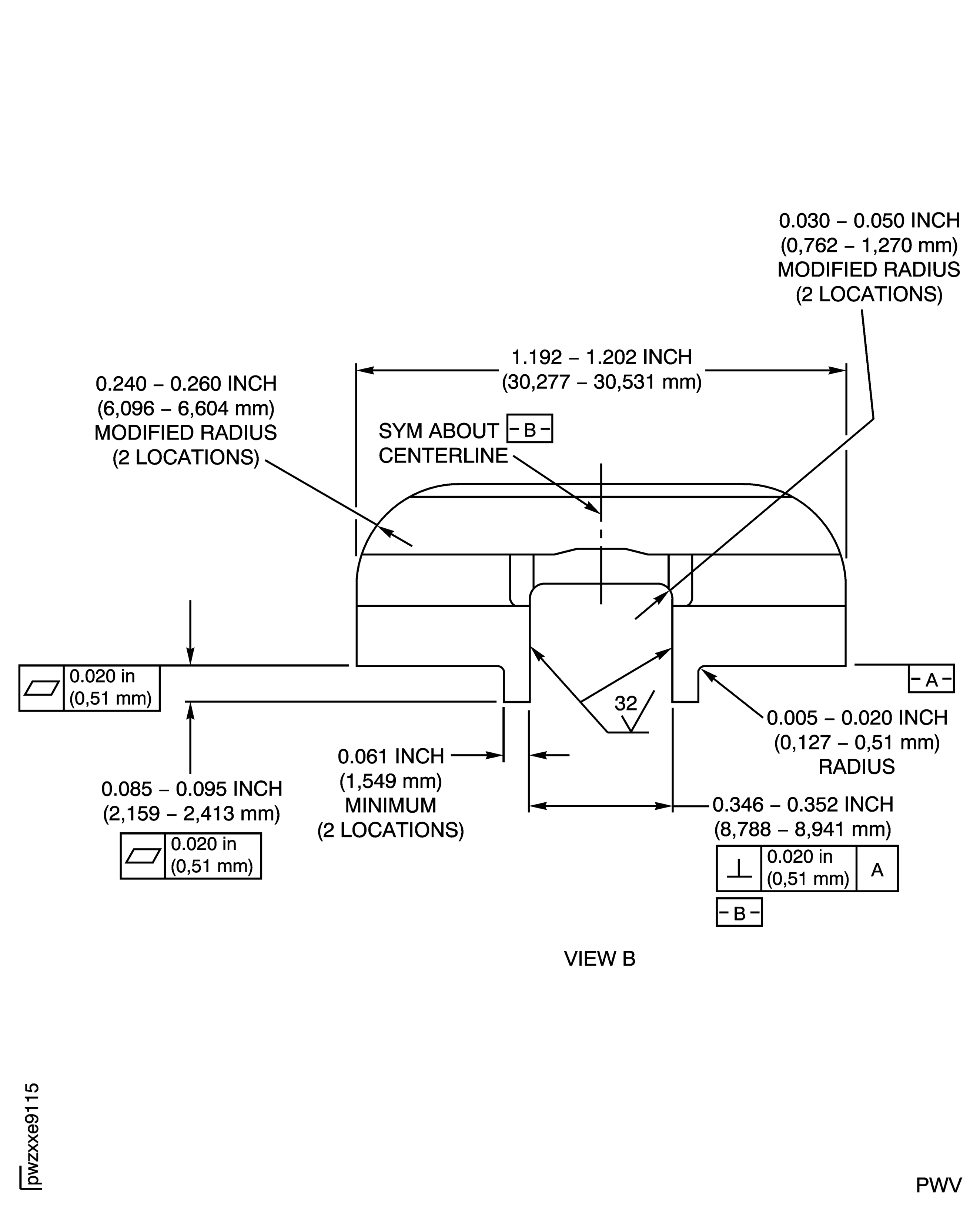
Figure: Repair Details and Dimensions
Sheet 1

Figure: Repair Details and Dimensions
Sheet 2

Figure: Repair Details and Dimensions
Repair Details and Dimensions

Figure: Repair Details and Dimensions
Sheet 1

Figure: Repair Details and Dimensions
Sheet 2

Figure: Repair Details and Dimensions
Sheet 3

Figure: Repair Details and Dimensions
Sheet 4

