Export Control
EAR Export Classification: Not subject to the EAR per 15 C.F.R. Chapter 1, Part 734.3(b)(3), except for the following Service Bulletins which are currently published as EAR Export Classification 9E991: SBE70-0992, SBE72-0483, SBE72-0580, SBE72-0588, SBE72-0640, SBE73-0209, SBE80-0024 and SBE80-0025.Copyright
© IAE International Aero Engines AG (2001, 2014 - 2021) The information contained in this document is the property of © IAE International Aero Engines AG and may not be copied or used for any purpose other than that for which it is supplied without the express written authority of © IAE International Aero Engines AG. (This does not preclude use by engine and aircraft operators for normal instructional, maintenance or overhaul purposes.).Applicability
All
Common Information
TASK 72-32-71-300-023 LPC Bleed Valve Support Ring - Repair The Worn Pin Hole On The Support And/or Mid Support By Bush, Repair-023 (VRS1359)
Material of component
PART IDENT | SYMBOL | MATERIAL |
|---|---|---|
Support ring | Aluminum alloy | |
Support and mid support | Corrosion and heat resistant alloy (17-4PH) |
General
Price and availability - none
The practices and processes referred to in the procedure by TASK/SUBTASK numbers are in the SPM.
NOTE
Preliminary Requirements
Pre-Conditions
NONESupport Equipment
| Name | Manufacturer | Part Number / Identification | Quantity | Remark |
|---|---|---|---|---|
| Standard workshop equipment | LOCAL | Standard workshop equipment | ||
| Horizontal boring machine | LOCAL | Horizontal boring machine | ||
| Rotary table | LOCAL | Rotary table | ||
| Penetrant Crack Test Equipment | LOCAL | Penetrant crack test equipment | ||
| Dial bore gage | LOCAL | Dial bore gage | ||
| Oven | LOCAL | Oven | ||
| Vibrating marking pencil | LOCAL | Vibrating marking pencil | ||
| Dial set indicator | LOCAL | Dial set indicator | ||
| IAE 3J12851 Machining fixture | 0AM53 | IAE 3J12851 | 1 |
Consumables, Materials and Expendables
NONESpares
| Name | Manufacturer | Part Number / Identification | Quantity | Remark |
|---|---|---|---|---|
| Bushing | 5A1795 | AR | ||
| Bushing | 5A1795 | AR | ||
| Bushing | 5A1796 | AR |
Safety Requirements
NONEProcedure
Use Rotary table and Horizontal boring machine.
Set a Rotary table on to the Horizontal boring machine.
Use IAE 3J12851 Machining fixture 1 off.
Put the IAE 3J12851 Machining fixture on to the boring machine.
Make sure the datum B and D are set to locate correctly.
Use Dial set indicator.
Set the machining fixture by plane B and dia D.
SUBTASK 72-32-71-320-052 Machine the Worn Pin Hole(s) on the Support
Use Rotary table and Horizontal boring machine.
Set a rotary table on to the horizontal boring machine.
Use IAE 3J12851 Machining fixture 1 off.
Put the machining fixture on to the boring machine.
Use Dial set indicator.
Make sure the datum B and D are set to locate correctly.
Set the machining fixture by plane B and dia D.
SUBTASK 72-32-71-320-053 Machine the Worn Pin Holes on the Mid Support
Use Dial bore gage.
Measure the dimensions of the bore(s) in the support and the mid support.
SUBTASK 72-32-71-220-141 Examine the Machined Bore(s).
Refer to the SPM TASK 70-23-02-230-501.
Do a penetrant crack test on the machined bore(s).
SUBTASK 72-32-71-230-080 Examine the Machined Bore(s) of the Support and Mid Support for Cracks
Refer to Figure.
Use an Oven.
Heat the support at 320 to 392 deg F (160 to 200 deg C) for one hour.
Use Standard workshop equipment, with heat protective gloves.
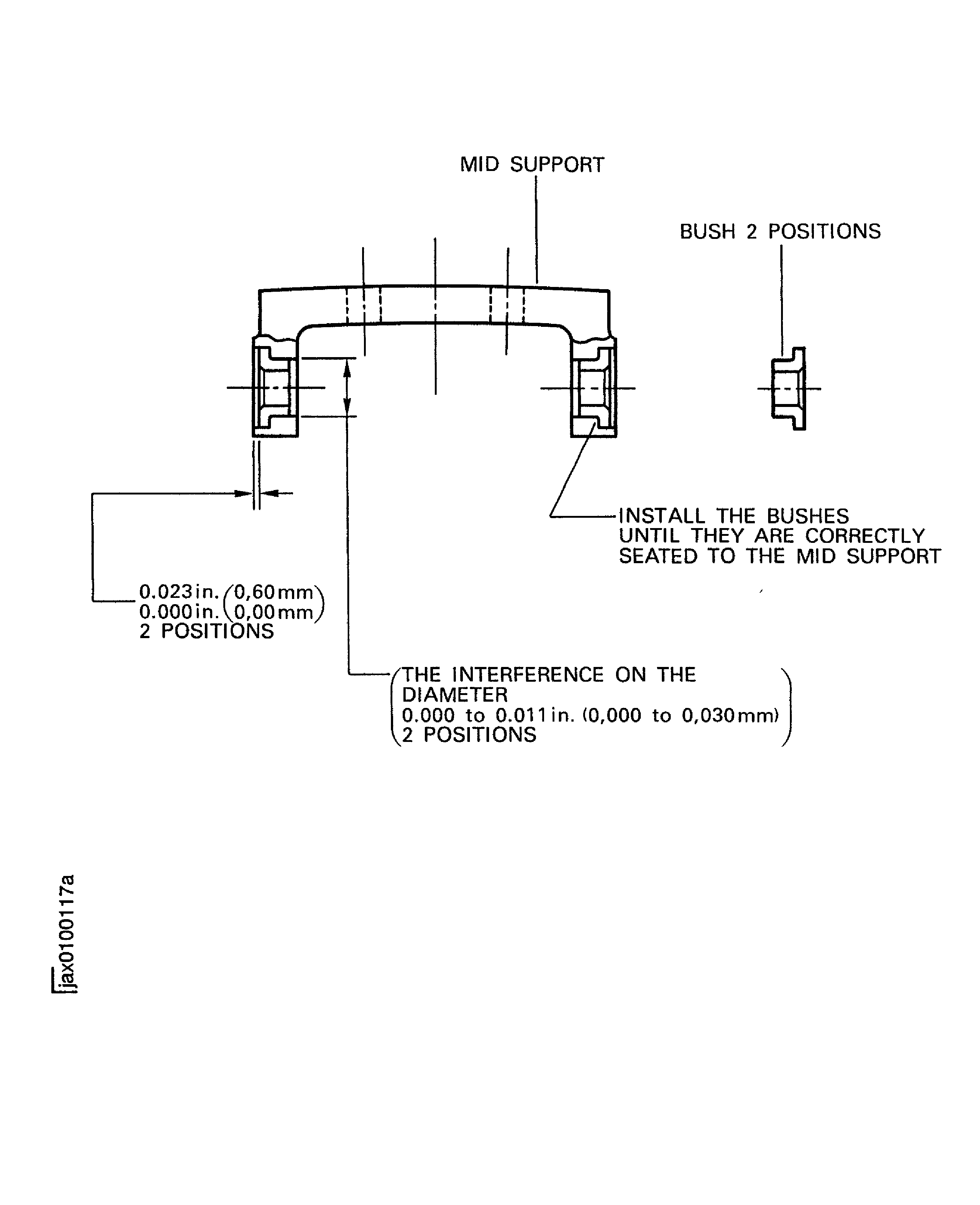
Use bush (01-615 and 01-635).
Install the bush to the support.
SUBTASK 72-32-71-350-079 Install Bush (01-615 and 01-635) to the Support
Refer to Figure.
Use an Oven.
Heat the mid support at 320 to 392 deg F (160 to 200 deg C) for one hour.
Use Standard workshop equipment, with heat protective gloves.
Use bush (01-675).
Install the bush to the mid support.
SUBTASK 72-32-71-350-080 Install Bush (01-675) to the Mid Support
Refer to VRS1331, TASK 72-32-71-300-007.
Install the repaired support and/or mid support to the support ring assembly.
SUBTASK 72-32-71-350-081 Install the Repaired Support and/or Mid Support to the Support Ring Assembly
Refer to the SPM TASK 70-38-02-300-503.
Apply the chromate conversion coating to the marked letter.
SUBTASK 72-32-71-350-082 Identify the Repair
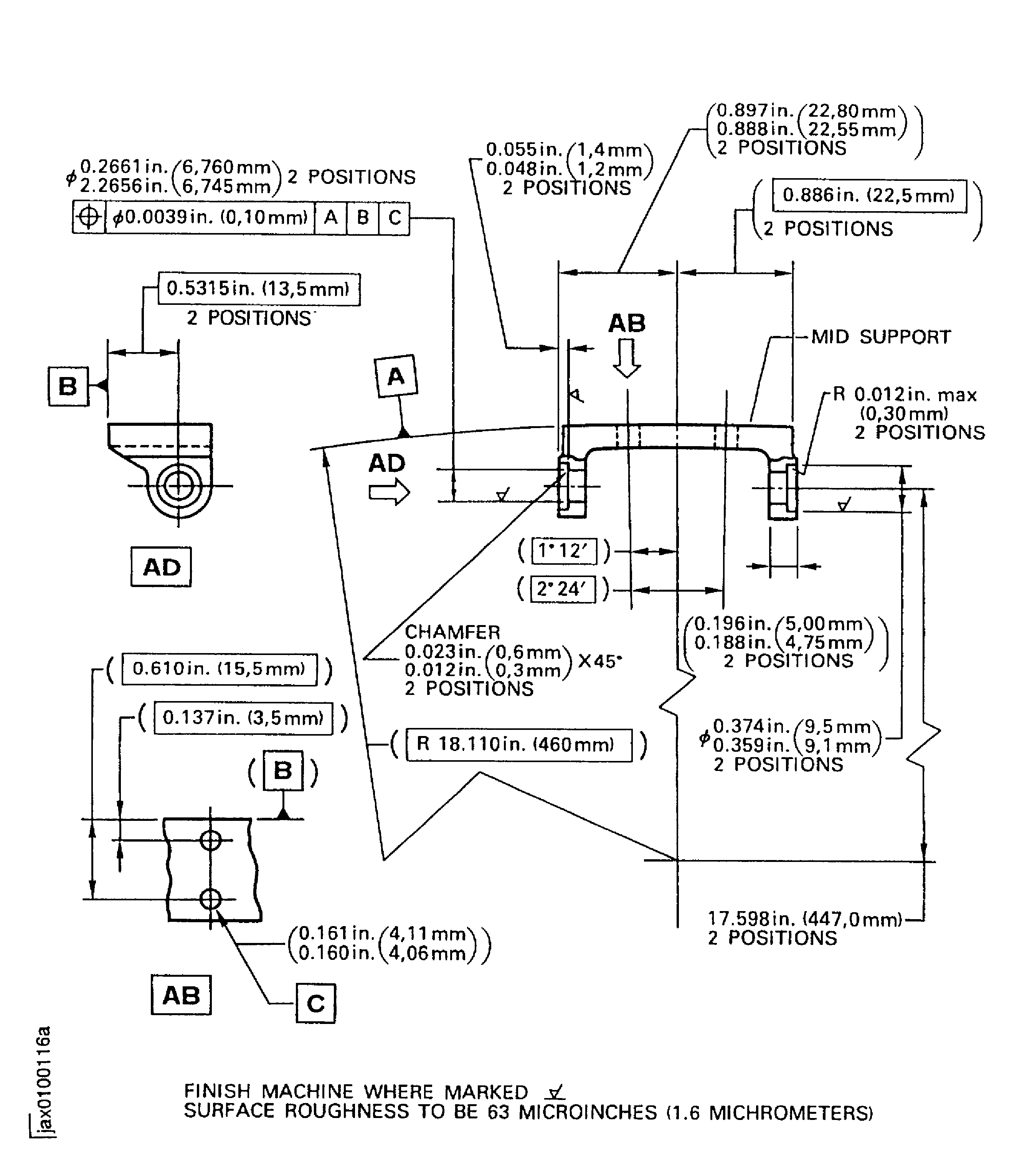
Figure: Repair details and dimensions
Repair details and dimensions

Figure: Repair details and dimensions - support
Repair details and dimensions - support

Figure: Repair details and dimensions - support
Repair details and dimensions - support

Figure: Repair details and dimensions - mid support
Repair details and dimensions - mid support

Figure: Repair details and dimensions - mid support
Repair details and dimensions - mid support

