Export Control
EAR Export Classification: Not subject to the EAR per 15 C.F.R. Chapter 1, Part 734.3(b)(3), except for the following Service Bulletins which are currently published as EAR Export Classification 9E991: SBE70-0992, SBE72-0483, SBE72-0580, SBE72-0588, SBE72-0640, SBE73-0209, SBE80-0024 and SBE80-0025.Copyright
© IAE International Aero Engines AG (2001, 2014 - 2021) The information contained in this document is the property of © IAE International Aero Engines AG and may not be copied or used for any purpose other than that for which it is supplied without the express written authority of © IAE International Aero Engines AG. (This does not preclude use by engine and aircraft operators for normal instructional, maintenance or overhaul purposes.).Applicability
All
Common Information
TASK 72-32-72-200-001-A00 LPC Bleed Valve Ring - Examine, Inspection-001
General
This TASK gives the procedure for the inspection of the valve.
Fig/item numbers in parentheses in the procedure agree with those used in the IPC.
The policy that is necessary for inspection is given in the SPM TASK 70-20-00-200-501.
All the parts must be cleaned before any part is examined. Refer to TASK 72-32-72-100-000 (CLEANING-000).
All the parts must be visually examined for damage, corrosion and wear. Any defects that are not identified in the procedure must be referred to IAE.
The procedure for those parts which must have a crack test is given in SUBTASK 72-32-72-230-052. Do the test before the part is visually examined.
Do not discard any part until you are sure there are no repairs available. Refer to the instructions in Repair before a discarded part is used again or oversize parts are installed.
Parts which should be discarded can be held although no repair is available. The repair of a discarded part could be shown to be necessary at a later date.
All the parts must be examined to make sure that all the repairs have been completed satisfactorily.
The practices and processes referred to in the procedure by the TASK numbers are in the SPM.
References
Refer to the SPM for data on these items.
Definition of Damages, SPM TASK 70-02-02-350-501
Inspection of Parts, SPM TASK 70-20-00-200-501
Some data on these items is contained in this TASK. For more data on these items refer to the SPM.
Method of Testing for Crack Indications
Chemical Processes
Surface Protection
Preliminary Requirements
Pre-Conditions
NONESupport Equipment
| Name | Manufacturer | Part Number / Identification | Quantity | Remark |
|---|---|---|---|---|
| Fluorescent Penetrant Inspection Equipment | LOCAL | Fluorescent penetrant inspection equipment |
Consumables, Materials and Expendables
NONESpares
NONESafety Requirements
NONEProcedure
Clean the parts. Refer to TASK 72-32-72-100-001 (CLEANING-001, CONFIG-001).
SUBTASK 72-32-72-230-058 Examine the Valve Assemblies (01-100) for Cracks
Refer to Figure.
Repair, VRS1333 TASK 72-32-72-300-001 (REPAIR-001)
Galled
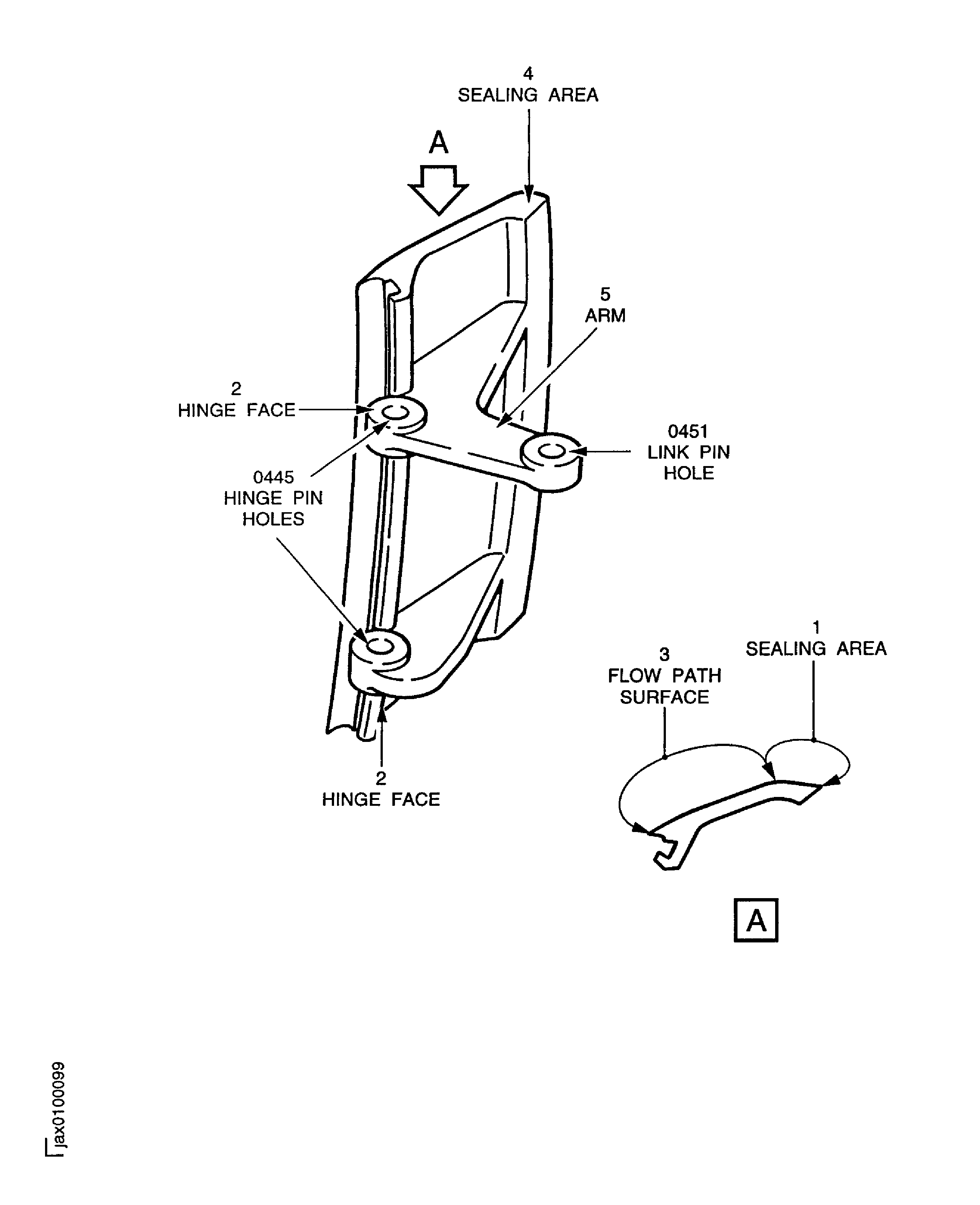
Examine the sealing faces at location 1.
SUBTASK 72-32-72-220-074 Examine the Valve (01-100) Sealing Face
Refer to Figure.
Repair, VRS1360 TASK 72-32-72-300-008 (REPAIR-008)
More than in Step
Worn at location 0445.
Repair, VRS1360 TASK 72-32-72-300-008 (REPAIR-008)
More than in Step
Worn at location 0451.
SUBTASK 72-32-72-220-076 Examine the Valve (01-100) Pin Hole Diameters at Location 0445 and 0451
Refer to Figure.
Repair, VRS1333 TASK 72-32-72-300-001 (REPAIR-001)
Up to 0.010 in. (0.25 mm) in depth
More than in Step
Nicked.
Repair, VRS1333 TASK 72-32-72-300-001 (REPAIR-001)
Up to 0.010 in. (0.25 mm) in depth
More than in Step
Dented.
Examine the flow path surface at location 3.
SUBTASK 72-32-72-220-077 Examine the Valve (01-100) Flow Path Surface
Refer to Figure.
SUBTASK 72-32-72-220-078 Examine the Valve (01-100) Sealing Area
Refer to Figure.
Repair VRS1333 TASK 72-32-72-300-001 (REPAIR-001)
Up to 0.005 in. (0.12 mm) in depth
More than in Step
Galled.
Examine the arm at location 5.
SUBTASK 72-32-72-220-079 Examine the Valve (01-100) Arm
Figure: Location on the valve
Location on the valve

