Export Control
EAR Export Classification: Not subject to the EAR per 15 C.F.R. Chapter 1, Part 734.3(b)(3), except for the following Service Bulletins which are currently published as EAR Export Classification 9E991: SBE70-0992, SBE72-0483, SBE72-0580, SBE72-0588, SBE72-0640, SBE73-0209, SBE80-0024 and SBE80-0025.Copyright
© IAE International Aero Engines AG (2001, 2014 - 2021) The information contained in this document is the property of © IAE International Aero Engines AG and may not be copied or used for any purpose other than that for which it is supplied without the express written authority of © IAE International Aero Engines AG. (This does not preclude use by engine and aircraft operators for normal instructional, maintenance or overhaul purposes.).Applicability
All
Common Information
TASK 72-32-72-300-006 LPC Bleed Valve Ring - Replace The Seal, Repair-006 (VRS1751)
General
Price and availability - none
The practices and processes referred to in the procedure by the TASK number are in the SPM.
NOTE
NOTE
Preliminary Requirements
Pre-Conditions
NONESupport Equipment
| Name | Manufacturer | Part Number / Identification | Quantity | Remark |
|---|---|---|---|---|
| IAE 3J12821 Rolling fixture | 0AM53 | IAE 3J12821 |
Consumables, Materials and Expendables
| Name | Manufacturer | Part Number / Identification | Quantity | Remark |
|---|---|---|---|---|
| CoMat 01-275 CHROMATE CONVERSION COATING FOR ALUMINIUM | 00BB6 | CoMat 01-275 | ||
| CoMat 05-016 GARNET PAPER, 80-GRIT | LOCAL | CoMat 05-016 | ||
| CoMat 05-019 WATERPROOF SILICON CARBIDE | LOCAL | CoMat 05-019 | ||
| CoMat 05-020 WATERPROOF SILICON CARBIDE | LOCAL | CoMat 05-020 | ||
| DELETED | LOCAL | DELETED | ||
| CoMat 08-013B COLD CURING SILICONE COMPOUND | LOCAL | CoMat 08-013B | (Alternative to CoMat 08-013F) | |
| CoMat 08-013F COLD CURING SILICONE COMPOUND | 00BB6 | CoMat 08-013F | (Alternative to CoMat 08-013B) | |
| CoMat 08-014 PRIMER, SILICONE ADHESIVE/SEALANT | X222X | CoMat 08-014 |
Spares
| Name | Manufacturer | Part Number / Identification | Quantity | Remark |
|---|---|---|---|---|
| Seal | 5A0468 | 1 |
Safety Requirements
NONEProcedure
Refer to the SPM TASK 70-38-02-300-503.
Apply chromate conversion coating to the repair surfaces, if necessary.
SUBTASK 72-32-72-380-053 Apply the Surface Protection to the Valve Ring Assembly
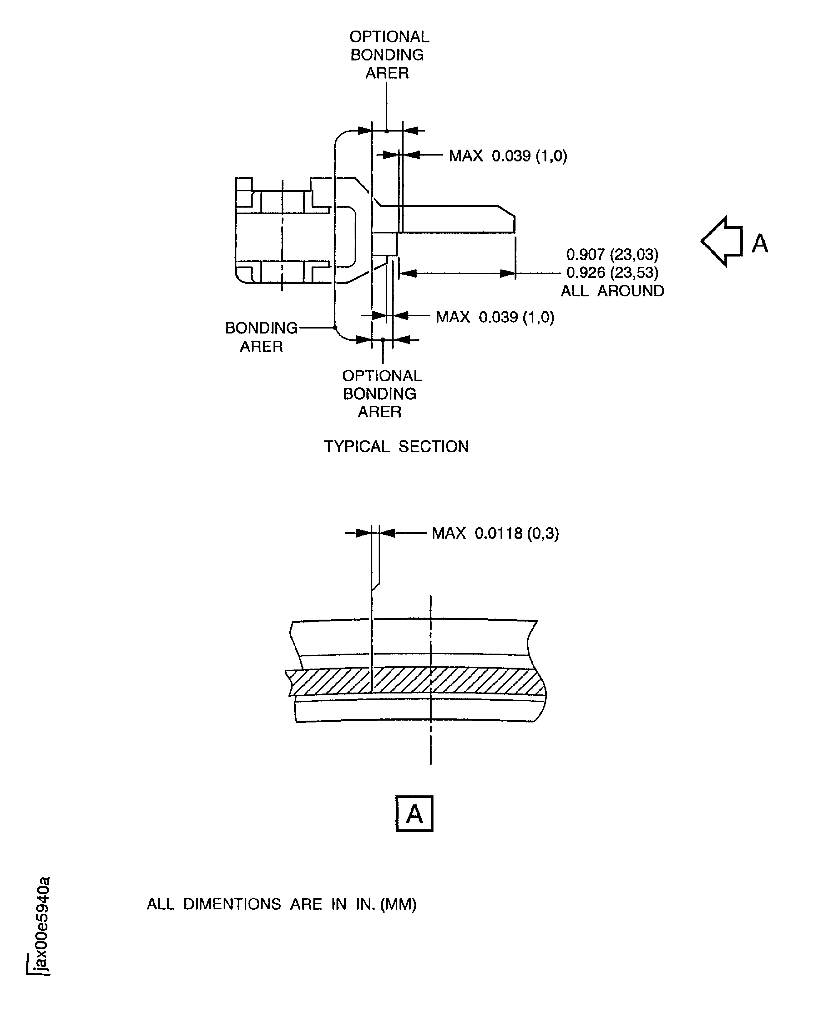
Refer to Figure.
Refer to the SPM TASK 70-11-26-300-503.
Cold liquid degrease the mating surfaces of the valve ring assembly and the seal.
Refer to the SPM TASK 70-36-02-360-501.
Hand clean the mating surface of the seal only.
SUBTASK 72-32-72-360-053 Prepare the Mating Surfaces for the Cold Curing Silicone Rubber Compound

CAUTION
YOU MUST NOT EAT OR SMOKE AT LOCATIONS WHERE THESE MATERIALS ARE USED.
CAUTION
AFTER PREPARATION THE MATING SURFACES MUST BE FULLY CLEANED AND MUST NOT BE TOUCHED BY HAND, TO PREVENT CONTAMINATION.
CAUTION
BONDING MUST BE DONE IMMEDIATELY AFTER THE SURFACE PREPARATION.Refer to Figure.
NOTE
The primer must be applied immediately after the mating surfaces are prepared. It is cured at room temperature by touching to moisten in air.NOTE
If the parts are not used immediately, after the primer is applied, they must be kept in polythene bags; but for no longer than 24 hours.Refer to the SPM TASK 70-36-02-360-501.
Apply a thin layer of primer only to the prepared mating surface of the valve ring assembly. Dry in air for 30 minutes.
Use a spatula and CoMat 08-013B COLD CURING SILICONE COMPOUND or CoMat 08-013F COLD CURING SILICONE COMPOUND. A minimum thickness of the compound must be 0.021 in. (0.53 mm).
Refer to the SPM TASK 70-36-02-360-501.

CAUTION
APPLY THE COLD CURING SILICONE RUBBER COMPOUND TO A MINIMUM THICKNESS OF 0.021 IN. (0.53 MM) IN ORDER TO PREVENT SEAL PEELING.NOTE
Only CoMat 08-013B COLD CURING SILICONE COMPOUND or CoMat 08-013F COLD CURING SILICONE COMPOUND can be used as listed in the Overhaul Process and Consumable Index.Apply the cold curing silicone rubber compound to the mating surfaces of the valve ring assembly and the seal.
Use IAE 3J12821 Rolling fixture 1 off.
Apply sufficient pressure to ensure good contact, and to make the seal surface smooth, and to form a witness of compound at all edges.
Make sure the compound can be seen around the sealed surface.
Install the seal to the valve ring assembly within 3 minutes after the compound applied.
SUBTASK 72-32-72-360-056 Apply and Cure the Cold Curing Silicone Rubber Compound
Refer to Figure.
SUBTASK 72-32-72-220-073 Examine the Repaired Area of the Valve Ring Assembly
Figure: Replace the Seal
Replace the Seal

