Export Control
EAR Export Classification: Not subject to the EAR per 15 C.F.R. Chapter 1, Part 734.3(b)(3), except for the following Service Bulletins which are currently published as EAR Export Classification 9E991: SBE70-0992, SBE72-0483, SBE72-0580, SBE72-0588, SBE72-0640, SBE73-0209, SBE80-0024 and SBE80-0025.Copyright
© IAE International Aero Engines AG (2001, 2014 - 2021) The information contained in this document is the property of © IAE International Aero Engines AG and may not be copied or used for any purpose other than that for which it is supplied without the express written authority of © IAE International Aero Engines AG. (This does not preclude use by engine and aircraft operators for normal instructional, maintenance or overhaul purposes.).Applicability
All
Common Information
TASK 72-32-83-300-011 LPC Stage 1.5 Stator - Replace The Stator Vane, Repair-011 (VRS1392)
Material of component
PART IDENT | SYMBOL | MATERIAL |
|---|---|---|
LPC stage 1.5 vane assembly | Vane: Titanium alloy Inner ring: Aluminum alloy |
General
Price and availability - none
NOTE
NOTE
Preliminary Requirements
Pre-Conditions
NONESupport Equipment
| Name | Manufacturer | Part Number / Identification | Quantity | Remark |
|---|---|---|---|---|
| Plastic chisel type tool | LOCAL | Plastic chisel type tool | ||
| Injector | LOCAL | Injector | (Air pressure type) | |
| Spatula | LOCAL | Spatula | ||
| Vacuum pump | LOCAL | Vacuum pump | ||
| IAE 3J12134 Molding fixture | 0AM53 | IAE 3J12134 | 1 | |
| IAE 3J12757 Molding fixture | 0AM53 | IAE 3J12757 | 1 |
Consumables, Materials and Expendables
| Name | Manufacturer | Part Number / Identification | Quantity | Remark |
|---|---|---|---|---|
| CoMat 02-001 ADHESIVE TAPE (MASKING) | LOCAL | CoMat 02-001 | ||
| CoMat 02-005 ADHESIVE TAPE (MASKING) | LOCAL | CoMat 02-005 | ||
| CoMat 02-099 LINT-FREE CLOTH | LOCAL | CoMat 02-099 | ||
| CoMat 05-121 SILICON CARBIDE GRIT | IAE72 | CoMat 05-121 | ||
| CoMat 05-122 SILICON CARBIDE GRIT | IAE72 | CoMat 05-122 | ||
| CoMat 05-123 SILICON CARBIDE GRIT | IAE72 | CoMat 05-123 | ||
| CoMat 05-124 SILICON CARBIDE GRIT | IAE72 | CoMat 05-124 | ||
| CoMat 08-014 PRIMER, SILICONE ADHESIVE/SEALANT | 0AM53 | CoMat 08-014 | ||
| CoMat 08-036 SILICONE RUBBER COMPOUND | LOCAL | CoMat 08-036 | ||
| CoMat 08-042 SILICONE RUBBER COMPOUND | IAE55 | CoMat 08-042 |
Spares
| Name | Manufacturer | Part Number / Identification | Quantity | Remark |
|---|---|---|---|---|
| Vane, stage 1.5 LPC | 5A7377 | AR | (Assembly A) | |
| Vane, stage 1.5 LPC | 5A0070 | AR | (Assembly B) |
Safety Requirements
NONEProcedure
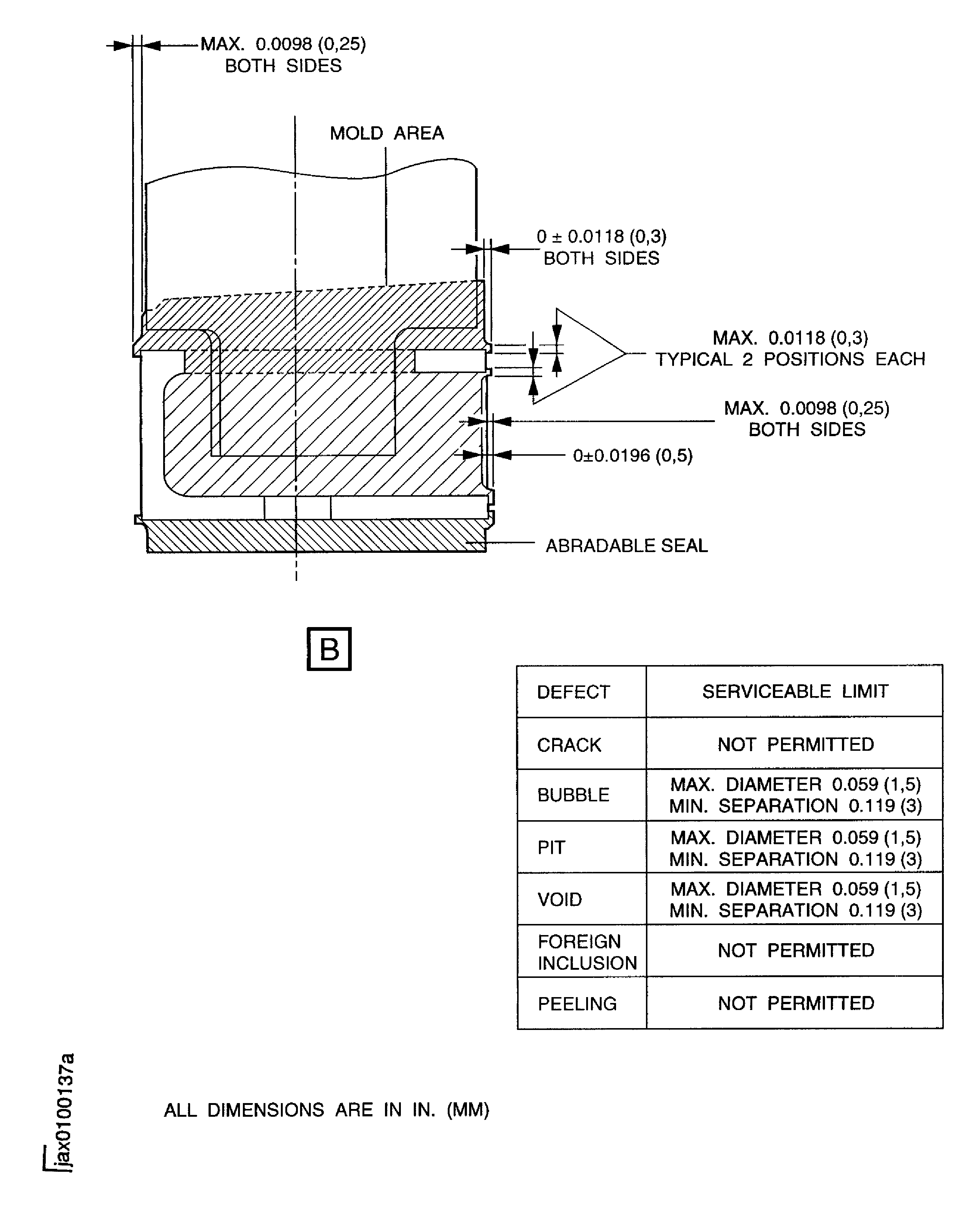
Refer to Figure.
NOTE
If abradable seal silicone rubber on inner ring is to be replaced, remove rubber after vanes are removed. New rubber should be installed and cured after new vanes are installed and bonded. Refer to VRS1395 (TASK 72-32-83-300-012) (REPAIR-012). If the rubber is serviceable then it should be protected from possible damage during this repair by installing a protective shield.Remove remaining molding rubber from the removed vane if it is serviceable.
SUBTASK 72-32-83-360-054 Remove the Identified Vane from the LPC Stage 1.5 Stator Assembly
Refer to the SPM TASK 70-36-04-360-501.
Apply dry abrasive blast to mold areas.
Refer to the SPM TASK 70-36-04-360-501.
Wipe and clean the surfaces of vane and inner ring.
Refer to the SPM TASK 70-36-04-360-501.
NOTE
After cleaning the component must not be touched by hand and must be covered by craft paper to prevent contamination.Air dry for 15 minutes minimum.
SUBTASK 72-32-83-120-051 Clean the Surfaces which are to be Applied the Silicone Rubber Compound
Refer to the SPM TASK 70-36-04-360-501.
Apply the primer to the metal surface only.

CAUTION
DO NOT APPLY THE PRIMER TO THE SILICONE RUBBER.Apply primer to the surfaces after cleaning.
SUBTASK 72-32-83-360-055 Apply Primer to the Surfaces after Cleaning
Use CoMat 08-042 SILICONE RUBBER COMPOUND and a clean spatula or equivalent.
Mix 9.5 to 10.5 parts by weight of the base material with 0.8 to 1.2 parts by weight of the curing agent in 8 to 10 minutes at 70 to 80 deg F (21 to 27 deg C) until the material is a constant color.
SUBTASK 72-32-83-360-100 Make-up of Silicone Rubber Compound
Use IAE 3J12134 Molding fixture 1 off or IAE 3J12757 Molding fixture 1 off.
NOTE
Make sure that the clearance between each vane is in limit in the figure.Set up the mold with the molding fixture.
Apply the CoMat 08-042 SILICONE RUBBER COMPOUND to Area A.
SUBTASK 72-32-83-360-101 Mold the Silicone Rubber Compound
Refer to the SPM TASK 70-36-04-360-501.
Mix silicone rubber compound.
Refer to the SPM TASK 70-36-04-360-501.
Degas from the mixture.
Refer to the SPM TASK 70-36-04-360-501.
Put the mixture into Area B.
Refer to the SPM TASK 70-36-04-360-501.
Cure the silicone rubber compound.
SUBTASK 72-32-83-360-056 Mold the Silicone Rubber Compound
Figure: Repair Details and Dimensions
Sheet 1

Figure: Repair Details and Dimensions
Sheet 2

Figure: Repair Details and Dimensions
Sheet 3

Figure: Repair Details and Dimensions
Sheet 4

