Export Control
EAR Export Classification: Not subject to the EAR per 15 C.F.R. Chapter 1, Part 734.3(b)(3), except for the following Service Bulletins which are currently published as EAR Export Classification 9E991: SBE70-0992, SBE72-0483, SBE72-0580, SBE72-0588, SBE72-0640, SBE73-0209, SBE80-0024 and SBE80-0025.Copyright
© IAE International Aero Engines AG (2001, 2014 - 2021) The information contained in this document is the property of © IAE International Aero Engines AG and may not be copied or used for any purpose other than that for which it is supplied without the express written authority of © IAE International Aero Engines AG. (This does not preclude use by engine and aircraft operators for normal instructional, maintenance or overhaul purposes.).Applicability
All
Common Information
TASK 72-32-83-300-039 LPC Front Case - Replace The Abradable Seal, Repair-039 (VRS1760)
General
Price and availability - none
NOTE
NOTE
Preliminary Requirements
Pre-Conditions
NONESupport Equipment
| Name | Manufacturer | Part Number / Identification | Quantity | Remark |
|---|---|---|---|---|
| Bamboo scraper | LOCAL | Bamboo scraper | ||
| Dry blast cabinet | LOCAL | Dry blast cabinet | ||
| Oven | LOCAL | Oven | ||
| Knife | LOCAL | Knife | Cutter | |
| Hardness tester (durometer) | LOCAL | Hardness tester (durometer) | ||
| Injector | LOCAL | Injector | (air pressure type) | |
| IAE 3J12804 Molding fixture | 0AM53 | IAE 3J12804 | 1 | |
| IAE 3J12775 Bond test fixture | 0AM53 | IAE 3J12775 | 1 | |
| IAE 3J12785 Inspection stand | 0AM53 | IAE 3J12785 | 1 | |
| IAE 3J12792 Inspection stand | 0AM53 | IAE 3J12792 | 1 |
Consumables, Materials and Expendables
| Name | Manufacturer | Part Number / Identification | Quantity | Remark |
|---|---|---|---|---|
| CoMat 01-031 ACETONE (CH3)2CO | LOCAL | CoMat 01-031 | ||
| CoMat 01-124 ISOPROPYL ALCOHOL | LOCAL | CoMat 01-124 | ||
| CoMat 01-275 CHROMATE CONVERSION COATING FOR ALUMINIUM | LOCAL | CoMat 01-275 | ||
| CoMat 02-005 ADHESIVE TAPE (MASKING) | LOCAL | CoMat 02-005 | ||
| CoMat 02-099 LINT-FREE CLOTH | LOCAL | CoMat 02-099 | ||
| CoMat 05-050 SILICON CARBIDE GRIT | 1E1X8 | CoMat 05-050 | ||
| CoMat 06-064 FLUORESCENT PENETRANT (WATER WASHABLE MEDIUM SENSITIVITY) | LOCAL | CoMat 06-064 | ||
| CoMat 08-032 PRIMER | LOCAL | CoMat 08-032 | ||
| CoMat 08-037 DELETED | LOCAL | CoMat 08-037 | ||
| CoMat 08-038 SILICONE RUBBER COMPOUND | 64101 | CoMat 08-038 |
Spares
NONESafety Requirements
NONEProcedure
Refer to the SPM TASK 70-15-01-160-501.
Make Test Piece of AMS4132.
Remove the silicone rubber compound by water blast jet.
Refer to Figure.
Use IAE 3J12792 Inspection stand if necessary.
Do a dimensional inspection.
SUBTASK 72-32-83-120-063 Clean the Surfaces which are to be Applied with Silicone Rubber Compound by Water Blast Cleaning
Refer to Figure.
Refer to the SPM TASK 70-23-05-230-501.
Fluorescent penetrant examine the surface where silicone rubber compound is removed.
SUBTASK 72-32-83-220-194 Examine the Surfaces from which Silicone Rubber Compound are to be Removed
Refer to the SPM TASK 70-38-02-300-503.
Apply chromate conversion coating to the surface to which water jet was applied in Step.
Dry abrasive blast is not to be applied in Step.
Apply the chromate conversion coating for aluminum with a brush to the surface where silicone rubber compound is removed.
SUBTASK 72-32-83-380-063 Apply Surface Protection to the LPC Case Assembly
Refer to Figure.
Use a CoMat 02-099 LINT-FREE CLOTH made moist with CoMat 01-031 ACETONE (CH3)2CO or CoMat 01-124 ISOPROPYL ALCOHOL.
Refer to the SPM TASK 70-36-06-360-501.
Wipe the blasted surfaces.
SUBTASK 72-32-83-120-056 Clean the Surfaces which are to be Applied with Silicone Rubber Compound
Use CoMat 08-032 PRIMER.
Refer to the SPM TASK 70-36-06-360-501.
NOTE
The primed surface must have a faint pink color. If there is no color, the primer layer is not continuous. If the color is bright, streaky bright or chalky, the primer is too thick.Keep the primer in a small container for single use only. Do not use the primer that remains.Prime the surface of the molding immediately the molding is dry. Use a piece of cheese cloth to apply the primer.
Refer to the SPM TASK 70-36-06-360-501.
Cure the primed surface for a minimum of 2 hours, at more than 77 deg F (25 deg C) and more than 50 percent relative humidity.
SUBTASK 72-32-83-360-084 Apply Primer to the Surfaces after Cleaning
Refer to the SPM TASK 70-36-06-360-501.
NOTE
Silicone rubber compound has a shelf life of six months from the date of shipment.The compound, as received, must be kept at a temperature less than 90 deg F (32 deg C).Mix the silicone rubber compound for a minimum of ten minutes at between 70 to 80 deg F (21 to 27 deg C).
SUBTASK 72-32-83-360-085 Mix the Silicone Rubber Compound
Use IAE 3J12804 Molding fixture 1 off.
Clean the molding fixture.
SUBTASK 72-32-83-360-086 Mold the Silicone Rubber Compound
Refer to the SPM TASK 70-36-06-360-501.
Cure the compound.
Refer to the SPM TASK 70-36-06-360-501.
Cure the removed component.
SUBTASK 72-32-83-360-087 Cure the Silicone Rubber Compound
Refer to Figure.
Use IAE 3J12775 Bond test fixture 1 off, IAE 3J12785 Inspection stand 1 off and IAE 3J12792 Inspection stand 1 off.
No signs of bulging or air leakage are permitted.
NOTE
The bond test must be done after curing of the rubber compound to the conditions that follow:Inspection gas: Air or nitrogen gas.Gas pressure: 200 psig (1380 kPa).Inspection position: Change the pattern as necessary to examine the not fully repaired areas.Probe angle: Approximately 45 degrees.Do a bond test of the repaired area.
SUBTASK 72-32-83-220-073 Do a Bond Test of the Repaired Area
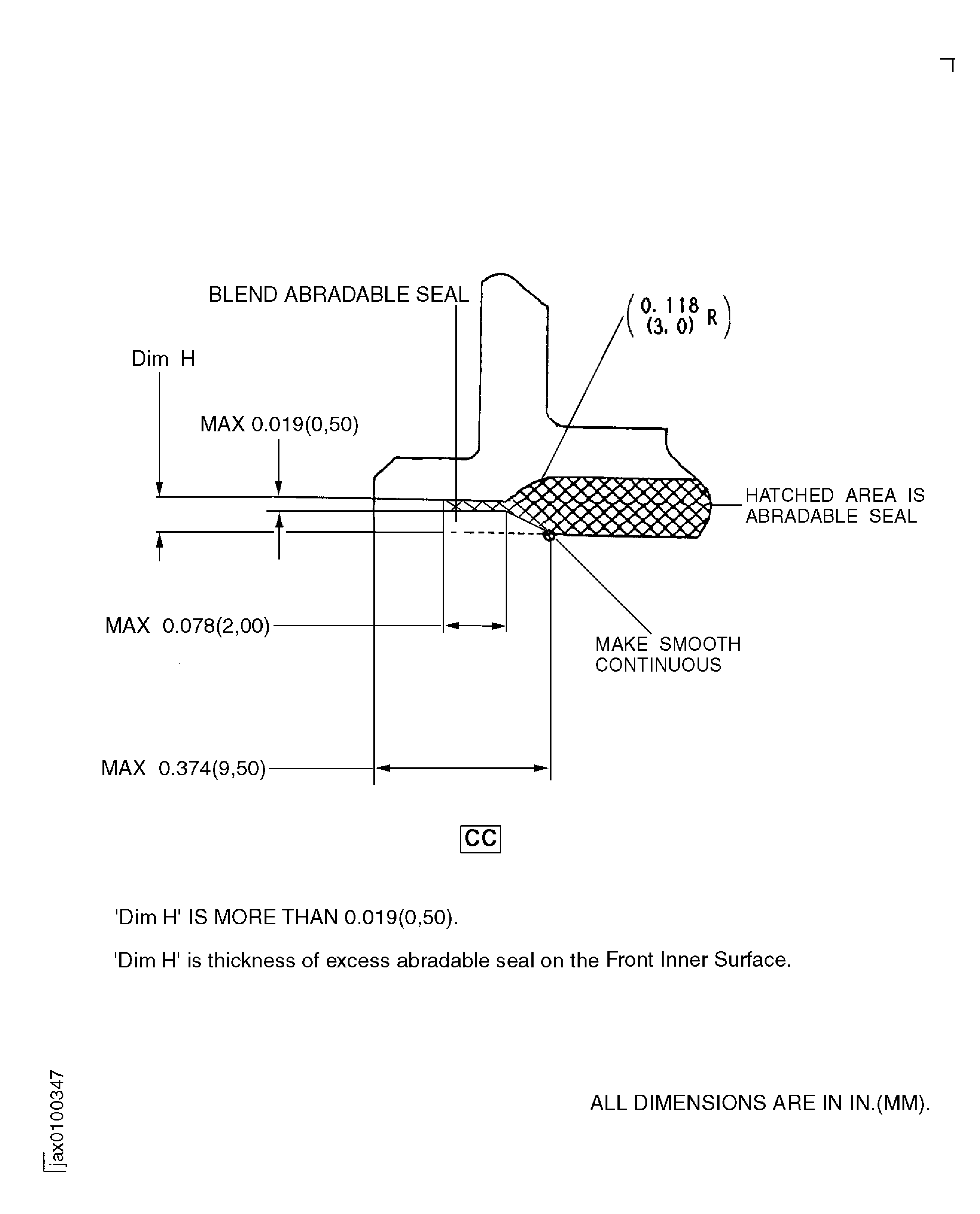
Figure: Repair Details and Dimensions
Sheet 1

Figure: Repair Details and Dimensions
Sheet 2

Figure: Repair Details and Dimensions
Sheet 3

Figure: Repair Details and Dimensions
Sheet 4

Figure: Repair Details and Dimensions
Sheet 5

Figure: Repair Details and Dimensions
Repair Details and Dimensions

