Export Control
EAR Export Classification: Not subject to the EAR per 15 C.F.R. Chapter 1, Part 734.3(b)(3), except for the following Service Bulletins which are currently published as EAR Export Classification 9E991: SBE70-0992, SBE72-0483, SBE72-0580, SBE72-0588, SBE72-0640, SBE73-0209, SBE80-0024 and SBE80-0025.Copyright
© IAE International Aero Engines AG (2001, 2014 - 2021) The information contained in this document is the property of © IAE International Aero Engines AG and may not be copied or used for any purpose other than that for which it is supplied without the express written authority of © IAE International Aero Engines AG. (This does not preclude use by engine and aircraft operators for normal instructional, maintenance or overhaul purposes.).Applicability
All
Common Information
TASK 72-32-83-300-030 LPC Mid Case - Repair The Rear Outside Diameter By Plasma Spray, Repair-030 (VRS1587)
General
Price and availability - none
The practices and processes referred to in the procedure by the TASK numbers are in the SPM.
NOTE
Preliminary Requirements
Pre-Conditions
NONESupport Equipment
| Name | Manufacturer | Part Number / Identification | Quantity | Remark |
|---|---|---|---|---|
| Vertical lathe | LOCAL | Vertical lathe | ||
| Dry blast cabinet | LOCAL | Dry blast cabinet | ||
| Plasma spray facility | LOCAL | Plasma spray facility | ||
| Fluorescent Penetrant Inspection Equipment | LOCAL | Fluorescent penetrant inspection equipment | ||
| Magnifying glass, 7x | LOCAL | Magnifying glass, 7x | ||
| Vibrating marking pencil | LOCAL | Vibrating marking pencil | ||
| External micrometer | LOCAL | External micrometer |
Consumables, Materials and Expendables
| Name | Manufacturer | Part Number / Identification | Quantity | Remark |
|---|---|---|---|---|
| CoMat 02-001 ADHESIVE TAPE (MASKING) | LOCAL | CoMat 02-001 | ||
| CoMat 03-038 METAL SPRAYING POWDER NICKEL ALUMINIUM (95/5) | IE200 | CoMat 03-038 | ||
| CoMat 05-015 ABRASIVE MEDIUM, ALUMINUM OXIDE | LOCAL | CoMat 05-015 | ||
| CoMat 06-063 FLUORESCENT PENETRANT (POST-EMULSIFIED MEDIUM SENSITIVITY) | LOCAL | CoMat 06-063 |
Spares
NONESafety Requirements
NONEProcedure
Refer to Figure.
SUBTASK 72-32-83-325-065 Machine the Rear Outside Diameter of the LPC Mid Case Assembly
Refer to Figure.
SUBTASK 72-32-83-220-217 Examine the Rear Outside Diameter
Use FPI equipment.
Refer to the SPM TASK 70-23-05-230-501.
Do a fluorescent penetrant inspection on the rear outside diameter.
SUBTASK 72-32-83-230-095 Examine the LPC Mid Case Assembly for Cracks
Refer to Figure.
Use dry blast cabinet.
Refer to the SPM TASK 70-34-01-340-501.
Abrasive blast the rear outside diameter.
SUBTASK 72-32-83-120-071 Abrasive Blast the Rear Outside Diameter of the LPC Mid Case Assembly
Refer to Figure.
Refer to the SPM TASK 70-34-01-340-501.
Use plasma spray facility.
Apply sufficient plasma spray to get the necessary thickness.
Maximum thickness of the plasma spray must be 0.012 in. (0.304 mm).
Apply plasma spray to the rear outside diameter.
SUBTASK 72-32-83-340-060 Plasma Spray the Rear Outside Diameter of the LPC Mid Case Assembly
Refer to Figure.
SUBTASK 72-32-83-350-116 Remove the Overspray
Refer to Figure.
Refer to the SPM TASK 70-34-01-340-501.
Finish machine the rear outside diameter.
SUBTASK 72-32-83-325-066 Finish Machine the Rear Outside Diameter of the LPC Mid Case Assembly
Refer to Figure.
Refer to TASK 72-32-83-200-000 (INSPECTION-000).
Use a Magnifying glass, 7x.
Visually examine the coated area for chips, cracks, lifted material and coating that is not attached to the base metal.
Refer to TASK 72-32-83-200-000 (INSPECTION-000).
Use External micrometer.
Dimensionally examine the rear outside diameter.
SUBTASK 72-32-83-220-218 Examine the Rear Outside Diameter of the LPC Mid Case Assembly
Refer to the SPM TASK 70-09-00-400-501.
Use vibrating marking pencil.
Write VRS1587 adjacent to the part number.
Refer to the SPM TASK 70-38-02-300-503 (SUBTASK 72-38-02-300-002).
Apply the chromate conversion coating to the marking.
SUBTASK 72-32-83-350-117 Identify the Repair
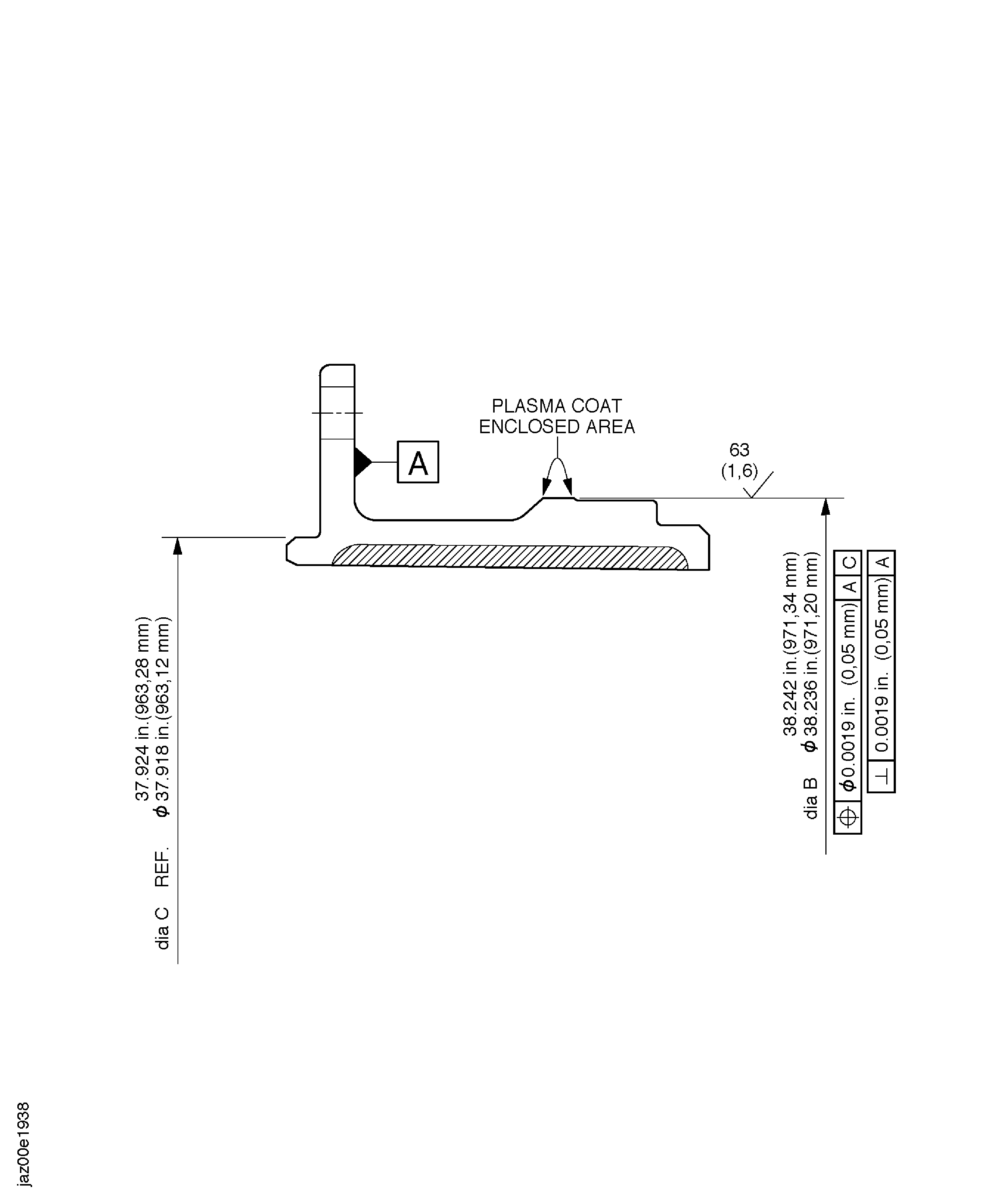
Figure: Repair details and machining dimensions before plasma spray
Repair details and machining dimensions before plasma spray

Figure: Repair details and finish machining dimensions after plasma spray
Repair details and finish machining dimensions after plasma spray

