Export Control
EAR Export Classification: Not subject to the EAR per 15 C.F.R. Chapter 1, Part 734.3(b)(3), except for the following Service Bulletins which are currently published as EAR Export Classification 9E991: SBE70-0992, SBE72-0483, SBE72-0580, SBE72-0588, SBE72-0640, SBE73-0209, SBE80-0024 and SBE80-0025.Copyright
© IAE International Aero Engines AG (2001, 2014 - 2021) The information contained in this document is the property of © IAE International Aero Engines AG and may not be copied or used for any purpose other than that for which it is supplied without the express written authority of © IAE International Aero Engines AG. (This does not preclude use by engine and aircraft operators for normal instructional, maintenance or overhaul purposes.).Applicability
All
Common Information
TASK 72-32-91-300-010 LPC Inlet Guide Vane (Stator) - Replace The Vane, Repair-010 (VRS1774)
General
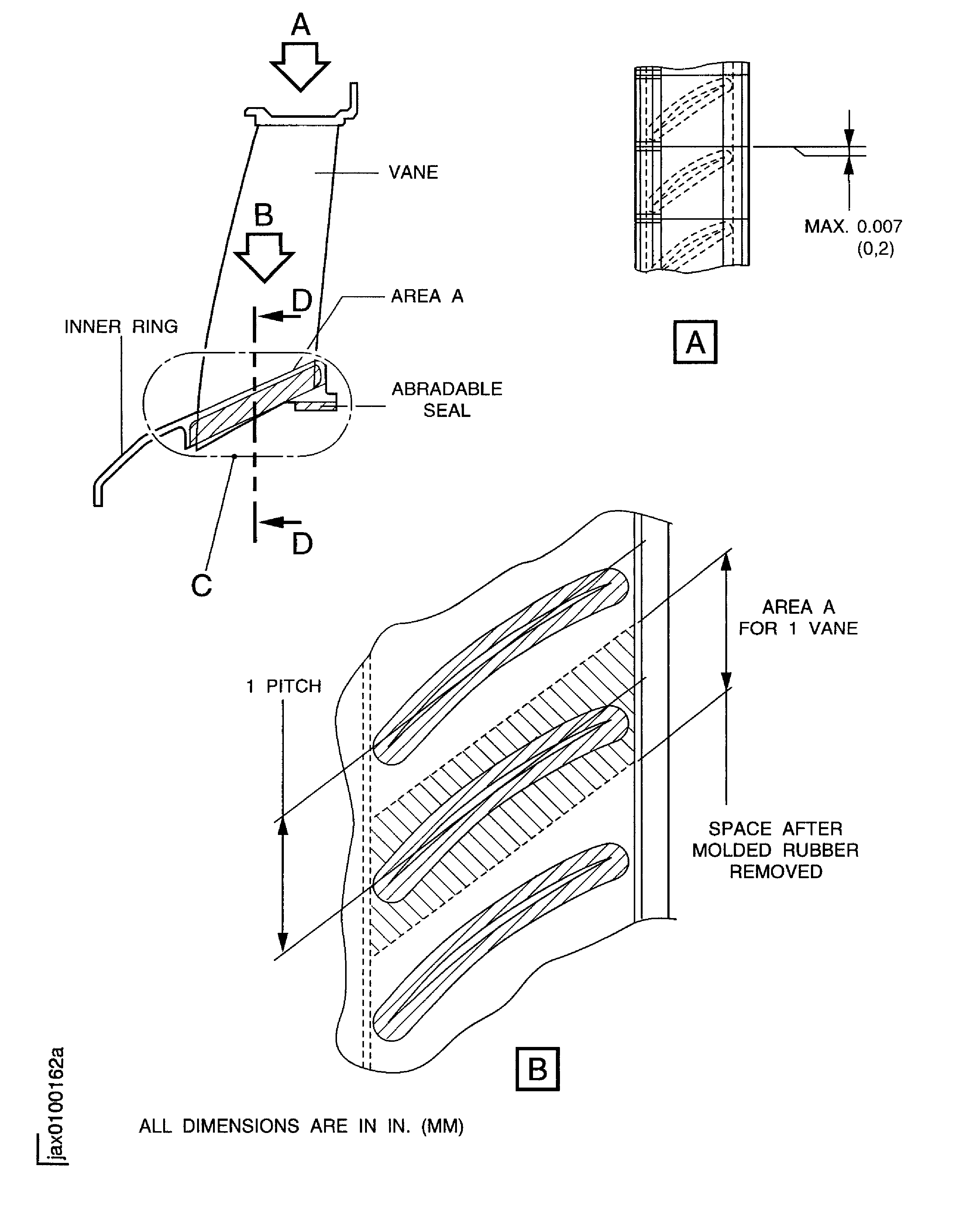
This Repair TASK gives the procedure for replacement of the LPC inlet guide vane.
Material of component
PART IDENT | IAE SYMBOL | MATERIAL |
|---|---|---|
LPC inlet guide vane assembly | Vane: Titanium alloy Inner ring: Aluminum alloy |
Price and availability - none.
The practices and processes referred to in the procedure by the TASK number are in SPM.
NOTE
NOTE
Preliminary Requirements
Pre-Conditions
NONESupport Equipment
| Name | Manufacturer | Part Number / Identification | Quantity | Remark |
|---|---|---|---|---|
| Injector | LOCAL | Injector | (Air pressure type) | |
| Mass weighing scale | LOCAL | Mass weighing scale | ||
| Plastic chisel type tool | LOCAL | Plastic chisel type tool | ||
| Spatula | LOCAL | Spatula | ||
| Vacuum pump | LOCAL | Vacuum pump | ||
| IAE 3J12137 Molding fixture | 0AM53 | IAE 3J12137 | ||
| IAE 3J12829 Molding Fixture | 0AM53 | IAE 3J12829 |
Consumables, Materials and Expendables
| Name | Manufacturer | Part Number / Identification | Quantity | Remark |
|---|---|---|---|---|
| CoMat 01-124 ISOPROPYL ALCOHOL | LOCAL | CoMat 01-124 | ||
| CoMat 01-275 CHROMATE CONVERSION COATING FOR ALUMINIUM | LOCAL | CoMat 01-275 | ||
| CoMat 02-001 ADHESIVE TAPE (MASKING) | LOCAL | CoMat 02-001 | ||
| CoMat 02-005 ADHESIVE TAPE (MASKING) | LOCAL | CoMat 02-005 | ||
| CoMat 02-099 LINT-FREE CLOTH | LOCAL | CoMat 02-099 | ||
| CoMat 05-019 WATERPROOF SILICON CARBIDE | LOCAL | CoMat 05-019 | ||
| CoMat 05-020 WATERPROOF SILICON CARBIDE | LOCAL | CoMat 05-020 | ||
| CoMat 05-084 WATERPROOF SILICON CARBIDE | 44197 | CoMat 05-084 | ||
| CoMat 05-085 WATERPROOF SILICON CARBIDE | 44197 | CoMat 05-085 | ||
| CoMat 05-121 SILICON CARBIDE GRIT | IAE72 | CoMat 05-121 | ||
| CoMat 05-122 SILICON CARBIDE GRIT | IAE72 | CoMat 05-122 | ||
| CoMat 05-123 SILICON CARBIDE GRIT | IAE72 | CoMat 05-123 | ||
| CoMat 05-124 SILICON CARBIDE GRIT | IAE72 | CoMat 05-124 | ||
| CoMat 05-125 ABRASIVE PAD, SILICON CARBIDE, ULTRA-FINE | LOCAL | CoMat 05-125 | ||
| CoMat 05-126 ABRASIVE PAD, ALUMINUM OXIDE, VERY FINE | LOCAL | CoMat 05-126 | ||
| CoMat 08-032 PRIMER | 71984 | CoMat 08-032 | ||
| CoMat 08-042 SILICONE RUBBER COMPOUND | IAE55 | CoMat 08-042 |
Spares
| Name | Manufacturer | Part Number / Identification | Quantity | Remark |
|---|---|---|---|---|
| Vane, STG. 1.0 LPC | 5A0456 | A/R |
Safety Requirements
NONEProcedure
If necessary, use CoMat 05-019 WATERPROOF SILICON CARBIDE and CoMat 05-020 WATERPROOF SILICON CARBIDE.
Use a clean plastic chisel type tool.
Remove the molding rubber from AREA A.
Remove the remaining molding rubber from the removed vane if the vane is serviceable. Refer to Repair, VRS1776 TASK 72-32-91-300-012 (REPAIR-012).
NOTE
If it is necessary to replace the abradable seal rubber on the inner ring, remove the rubber after the vanes have been removed. The new rubber should be put back and cured after the new vanes have been attached and bonded.If it is not necessary to repair the rubber, put on a shield to prevent damage to the rubber during this repair.Apply adhesive tape for masking to the areas which do not require removing the remaining rubber.
Refer to SPM TASK 70-12-07-120-501.
Use dry plastic blast to remove the remaining rubber.
Remove adhesive tape for masking.
Remove the remaining molding rubber from AREA A and/or the removed vane, if the remaining rubber is not fully removed in Step or Step.
SUBTASK 72-32-91-350-060 Remove the Damaged Vane
NOTE
This SUBTASK is an alternative to Step.Apply masking tape to the areas which do not require the molding compound.
SUBTASK 72-32-91-120-059-001 Prepare the Bonding Area
NOTE
This SUBTASK is an alternative to Step.Prepare the bonding area.
SUBTASK 72-32-91-120-059-002 Prepare the Bonding Area
Use CoMat 08-032 PRIMER.

CAUTION
THE PRIMER MUST NOT BE APPLIED TO THE SILICONE RUBBER. THE PRIMER MUST BE APPLIED TO THE METAL SURFACE ONLY.NOTE
The primer must be applied within eight hours after the bonding area is prepared.NOTE
Let the primer dry at a room temperature of 77 deg F (25 deg C) for two hours minimum, 24 hours maximum at a moisture level equivalent to 50 percent minimum relative humidity.NOTE
Parts must have the silicone rubber compound applied within 24 hours of completion of primer application.Apply a thin layer of the primer to the bonding area.
SUBTASK 72-32-91-360-065 Apply the Primer to the Bonding Area
Use CoMat 08-042 SILICONE RUBBER COMPOUND, a clean spatula and a mass weighing scale.
Mix 9.5 to 10.5 parts by weight of the base material with 0.8 to 1.2 parts by weight of the curing agent in 8 to 10 minutes at 70 to 80 deg F (21 to 27 deg C) until the material is a constant color.
SUBTASK 72-32-91-360-066 Make-up the Silicone Rubber Compound
Use IAE 3J12137 Molding fixture 1 off or IAE 3J12829 Molding Fixture 1 off.
Set up the mold with the molding fixture and install the new or serviceable vane in position.
SUBTASK 72-32-91-360-067 Apply and Cure the Silicone Rubber Compound
Refer to Figure.
Refer to the SPM TASK 70-38-02-300-503.
Apply chromate conversion coating to the area.
SUBTASK 72-32-91-380-059 Apply Surface Protection to the Inner Ring
Figure: Repair Details and Dimensions
Sheet 1

Figure: Repair Details and Dimensions
Sheet 2

Figure: Repair Details and Dimensions
Sheet 3

