Export Control
EAR Export Classification: Not subject to the EAR per 15 C.F.R. Chapter 1, Part 734.3(b)(3), except for the following Service Bulletins which are currently published as EAR Export Classification 9E991: SBE70-0992, SBE72-0483, SBE72-0580, SBE72-0588, SBE72-0640, SBE73-0209, SBE80-0024 and SBE80-0025.Copyright
© IAE International Aero Engines AG (2001, 2014 - 2021) The information contained in this document is the property of © IAE International Aero Engines AG and may not be copied or used for any purpose other than that for which it is supplied without the express written authority of © IAE International Aero Engines AG. (This does not preclude use by engine and aircraft operators for normal instructional, maintenance or overhaul purposes.).Applicability
All
Common Information
TASK 72-41-13-300-008 HPC Rear Shaft - Repair The No. 4 Bearing, Front Seal And Seal Spacer Mating Diameters By Chromium Plate, Repair-008 (VRS3447)
General
Price and availability - refer to IAE
The practices and processes referred to in this procedure by TASK numbers are in the SPM.
You can do TASK 72-41-13-300-013, Repair-013 (VRS3462) (REPAIR-013) at the same time you do this repair.
Preliminary Requirements
Pre-Conditions
NONESupport Equipment
| Name | Manufacturer | Part Number / Identification | Quantity | Remark |
|---|---|---|---|---|
| Machining equipment | LOCAL | Machining equipment | ||
| Plating equipment | LOCAL | Plating equipment | ||
| Workshop inspection equipment | LOCAL | Workshop inspection equipment | ||
| IAE 3P16393 Hanger, Plating | 0AM53 | IAE 3P16393 | 1 |
Consumables, Materials and Expendables
NONESpares
NONESafety Requirements
NONEProcedure
Refer to Figure.
No cracks permitted.
Do the penetrant procedure given in the SPM TASK 70-23-04-230-501.
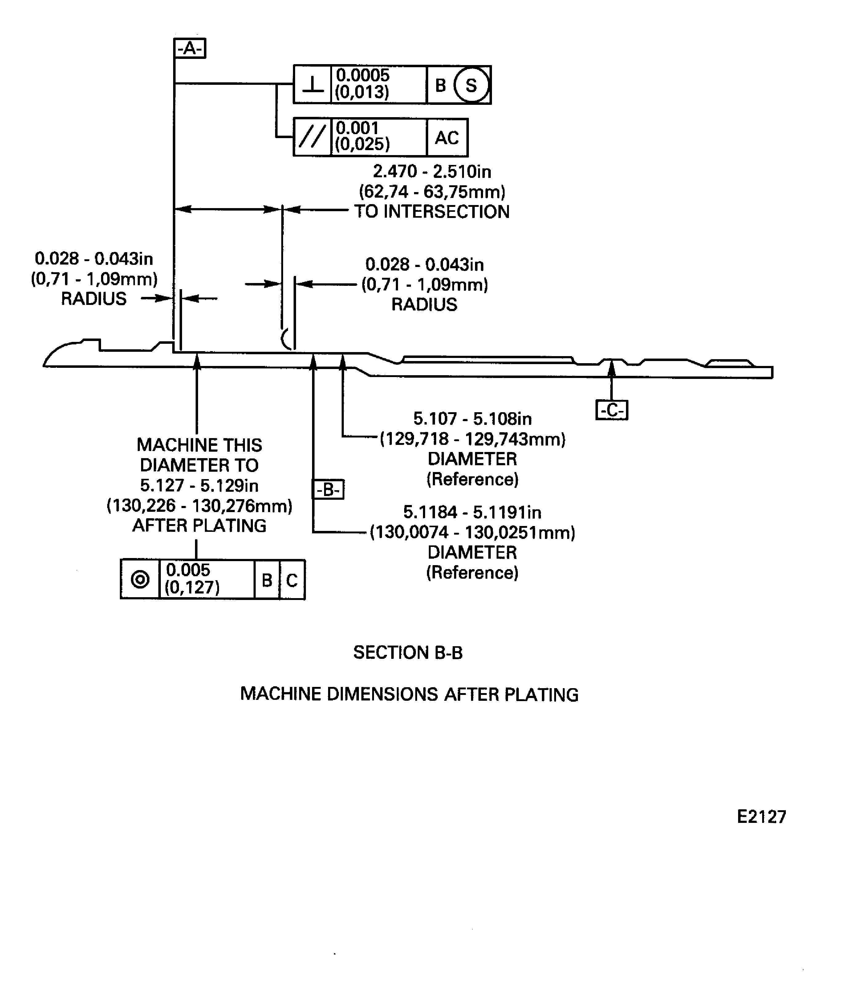
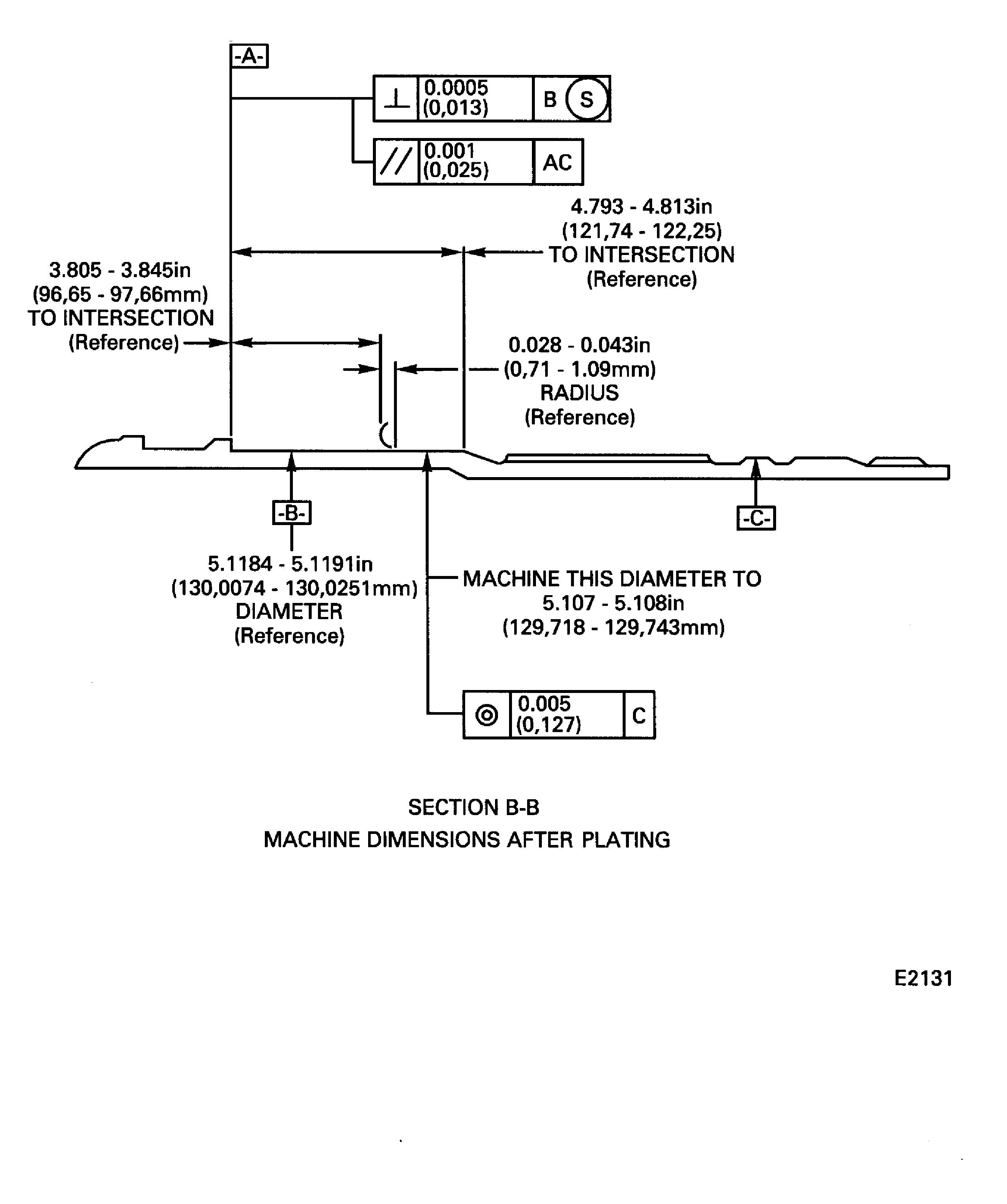
Examine the machined No. 4 bearing front seal mating diameter for cracks.
Refer to Figure.
No cracks permitted.
Do the penetrant procedure given in the SPM TASK 70-23-04-230-501.
Examine the machined No. 4 bearing seal spacer mating diameter for cracks.
Refer to Figure.
No cracks permitted.
Do the penetrant procedure given in the SPM TASK 70-23-04-230-501.
Examine the machined No. 4 bearing mating diameter for cracks.
SUBTASK 72-41-13-230-070 Examine the Machined No. 4 Bearing, Front Seal and Seal Spacer Mating Diameter for Cracks
Refer to Figure.
Do the procedure given in the SPM TASK 70-38-13-380-501.
Shot peen the machined No. 4 bearing front seal mating diameter and adjacent radii.
Refer to Figure.
Do the procedure given in the SPM TASK 70-38-13-380-501.
Shot peen the machined No. 4 bearing seal spacer mating diameter and adjacent radii.
Refer to Figure.
Do the procedure given in the SPM TASK 70-38-13-380-501.
Shot peen the machined No.4 bearing mating diameter and adjacent radii.
SUBTASK 72-41-13-380-053 Shot Peen the No. 4 Bearing, Front Seal and Seal Spacer Mating Diameters
The electrical connection for the plating is located on the hanger.
Refer to Figure.
Install the IAE 3P16393 Hanger, Plating 1 off on the threads of the shaft.
Do the plating procedure given in the SPM TASK 70-33-02-330-501.
Electrical contact is permitted only in the area given in the figure. In this area no burns, pits or selective attack is permitted.
No plate is permitted in the radii as given in the figure.
Plate outside the area is permitted, but the plate must be removed.
NOTE
Do not put the part in an oven before or after chromium plate.Chromium plate the No. 4 bearing front seal mating diameter to the minimum plate diameter given in the figure.
Do the plating procedure given in the SPM TASK 70-33-02-330-501.
Electrical contact is permitted only in the area given in the figure. In this area no burns, pits or selective attack is permitted.
No plate is permitted in the radii as given in the figure.
Plate outside the area is permitted, but the plate must be removed.
Chromium plate the No. 4 bearing seal spacer mating diameter to the minimum plate diameter given in the figure.
Do the plating procedure given in the SPM TASK 70-33-02-330-501.
Electrical contact is permitted only in the area given in the figure. In this area no burns, pits or selective attack is permitted.
No plate is permitted in the radii as given in the figure.
Plate outside the area is permitted, but the plate must be removed.
Chromium plate the No. 4 bearing mating diameter to the minimum plate diameter given in the figure.
SUBTASK 72-41-13-330-053 Chromium Plate the No. 4 Bearing, Front Seal and Seal Spacer Mating Diameters
SUBTASK 72-41-13-320-054 Machine the No. 4 Bearing, Front Seal and Seal Spacer Mating Diameters after Plating
Refer to Figure
Mark the part by the procedures given in the SPM TASK 70-09-00-400-501.
Use the shallow electrolytic etch method.
NOTE
If the VRS repair number is marked on the part, do not mark the repair number again.Mark the repair number VRS3447 adjacent to the part number at the location given in the figure.
SUBTASK 72-41-13-350-065 Mark the Part
Figure: HPC rear shaft chromium plate repair areas
HPC rear shaft chromium plate repair areas

Figure: HPC rear shaft chromium plate repair areas (No. 4 bearing front seal mating diameter)
HPC rear shaft chromium plate repair areas (No. 4 bearing front seal mating diameter)

Figure: HPC rear shaft chromium plate repair areas (No. 4 bearing front seal mating diameter)
HPC rear shaft chromium plate repair areas (No. 4 bearing front seal mating diameter)

Figure: HPC rear shaft chromium plate repair areas (No. 4 bearing seal spacer mating diameter)
HPC rear shaft chromium plate repair areas (No. 4 bearing seal spacer mating diameter)

Figure: HPC rear shaft chromium plate repair areas (No. 4 bearing seal spacer mating diameter)
HPC rear shaft chromium plate repair areas (No. 4 bearing seal spacer mating diameter)

Figure: HPC rear shaft chromium plate repair areas (No. 4 bearing mating diameter)
HPC rear shaft chromium plate repair areas (No. 4 bearing mating diameter)

Figure: HPC rear shaft chromium plate repair areas (No. 4 bearing mating diameter)
HPC rear shaft chromium plate repair areas (No. 4 bearing mating diameter)

