Export Control
EAR Export Classification: Not subject to the EAR per 15 C.F.R. Chapter 1, Part 734.3(b)(3), except for the following Service Bulletins which are currently published as EAR Export Classification 9E991: SBE70-0992, SBE72-0483, SBE72-0580, SBE72-0588, SBE72-0640, SBE73-0209, SBE80-0024 and SBE80-0025.Copyright
© IAE International Aero Engines AG (2001, 2014 - 2021) The information contained in this document is the property of © IAE International Aero Engines AG and may not be copied or used for any purpose other than that for which it is supplied without the express written authority of © IAE International Aero Engines AG. (This does not preclude use by engine and aircraft operators for normal instructional, maintenance or overhaul purposes.).Applicability
All
Common Information
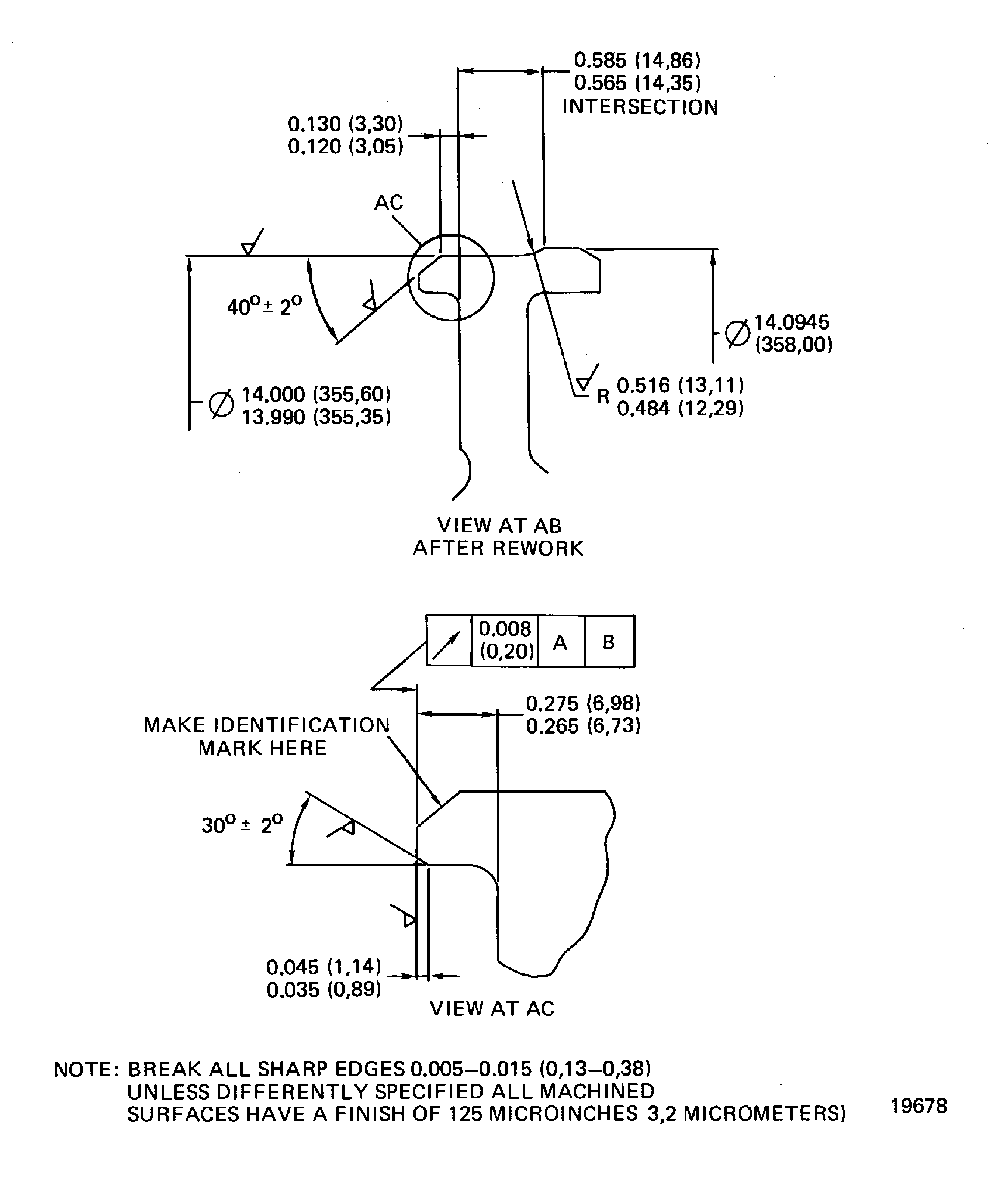
TASK 72-41-13-840-001 HPC Rear Shaft - Rework The Shaft For An Increased Service Life, Rework-001 - SBE 72-0068
General
The practices and procedures referred to in the procedure by the TASK number are in the SPM.
Refer to the indicated Service Bulletin for specific application requirements.
The modification given in TASK 72-41-12-840-001 must be incorporated concurrently with this modification. To get the increase in the cycle life limit, the modification specified in the Service Bulletin must be performed before the rear shaft has 5000 cycles.
Preliminary Requirements
Pre-Conditions
NONESupport Equipment
NONEConsumables, Materials and Expendables
NONESpares
NONESafety Requirements
NONEProcedure
NEW NUMBER: 2A1990.
Refer to Figure requirements.
Do the procedure given in the SPM TASK 70-09-00-400-501 and use the vibration peen method.
Mark the new part number adjacent to the part number that was there before.
SUBTASK 72-41-13-350-052 Identify the HPC Rear Shaft
Refer to TASK 72-41-13-440-001.
Assemble the HP compressor rear shaft assembly.
NEW NUMBER: 6A3997.
Refer to Figure requirements.
Do the procedure given in the SPM TASK 70-09-00-400-501 and use the vibration peen method.
Mark the new part number adjacent to the part number that was there before. The part number is followed by the letters Assy.
SUBTASK 72-41-13-440-062 Assemble the HP Compressor Rear Shaft Assembly
Figure: Rework of the HP compressor rear shaft
Rework of the HP compressor rear shaft

Figure: Rework of the HP compressor rear shaft
Rework of the HP compressor rear shaft

