Export Control
EAR Export Classification: Not subject to the EAR per 15 C.F.R. Chapter 1, Part 734.3(b)(3), except for the following Service Bulletins which are currently published as EAR Export Classification 9E991: SBE70-0992, SBE72-0483, SBE72-0580, SBE72-0588, SBE72-0640, SBE73-0209, SBE80-0024 and SBE80-0025.Copyright
© IAE International Aero Engines AG (2001, 2014 - 2021) The information contained in this document is the property of © IAE International Aero Engines AG and may not be copied or used for any purpose other than that for which it is supplied without the express written authority of © IAE International Aero Engines AG. (This does not preclude use by engine and aircraft operators for normal instructional, maintenance or overhaul purposes.).Applicability
V2500-A1
Common Information
TASK 72-41-12-840-001 HPC Stage 9 - 12 Drum Disk - Rework To Increase The Service Life, Rework-001 - SBE 72-0069
General
The practices and procedures referred to in the procedure by the TASK number are in the SPM.
Refer to the indicated Service Bulletin for specific application requirements.
To get the increased in the cycle life limit, the modification specified in the Service Bulletin must be performed before the stage 9 to 12 disk assembly reaches 5000 cycles.
Repair Facilities
The Source Demonstration requirements of this rework means that any facility not authorized to accomplish this rework either utilize the Authorized Repair Vendors listed below or contact IAE Technical Services to determine if a qualification program can be initiated at their facility.
IAE - INTERNATIONAL AERO ENGINES AG
400 Main Street
East Hartford
CT 06108 USA
ATTN: Director Technical Service
Authorized Rework Vendors for the bulletin are listed below:
MTU Maintenance GmbH
Airport Hannover
Munchner Strasse 31
30855 Langenhagen 7
Germany
ATTN: Program Manager, V2500
AVIALL
Ryder Systems, Inc
Airline Services Division
3412 Putnam Street
Dallas, Texas 75235 USA
The designation by IAE of an authorized rework vendor indicates that the repair vendor has demonstrated the necessary capability to enable it to carry out the listed rework. However, IAE makes no warranties or representations concerning the qualifications or quality standards of the repair vendors to carry out the rework, and accepts no responsibility whatsoever for any work that may be carried out by a repair vendor, other than when IAE is listed as the rework vendor. Authorized rework vendors do not act as agents or representatives of IAE.
NOTE
Preliminary Requirements
Pre-Conditions
NONESupport Equipment
NONEConsumables, Materials and Expendables
| Name | Manufacturer | Part Number / Identification | Quantity | Remark |
|---|---|---|---|---|
| CoMat 05-032 CAST STEEL SHOT, S170 | 42736 | CoMat 05-032 | ||
| CoMat 05-033 CAST STEEL SHOT DELETED | 0AM53 | CoMat 05-033 |
Spares
NONESafety Requirements
NONEProcedure
Figure requirements.
Do the procedure given in the SPM TASK 70-38-13-380-501 and use CoMat 05-032 CAST STEEL SHOT, S170 or CoMat 05-033 CAST STEEL SHOT DELETED.
Unless differently specified all other areas are optional and do not have to be complete.
No mask is permitted on the optional areas.
Overspray is permitted.
Shot peen the disk assembly to an intensity of 6A with a hardness of 45 to 55 HRC.
SUBTASK 72-41-12-380-055 Shot Peen the Disk Assembly
Refer to Figurerequirements.
Do a balance check on the disk assembly as follows.
Refer to Figurerequirements.
The surface must be smooth and continuous after the material is removed.
NOTE
Get the necessary tooling to do the balance procedure from your IAE representative.Correct any unbalance, that is not in the limit, by removal of material.
SUBTASK 72-41-12-350-062 Balance Check the Disk Assembly
NUMBER BEFORE: 2A2100.
NEW NUMBER: 2A3400 Assy.
NUMBER BEFORE: 2A2200.
NEW NUMBER: 2A3300 Assy.
NUMBER BEFORE: 2A2600.
NEW NUMBER: 2A3500 Assy.
Refer to Figure requirements.
Do the procedure given in the SPM TASK 70-09-00-400-501 and use the vibration peen method.
Mark the new part number adjacent to the part number that was there before. Mark the letters Assy after the part number.
SUBTASK 72-41-12-350-063 Identify the Stage 9 to 12 Disk Assembly
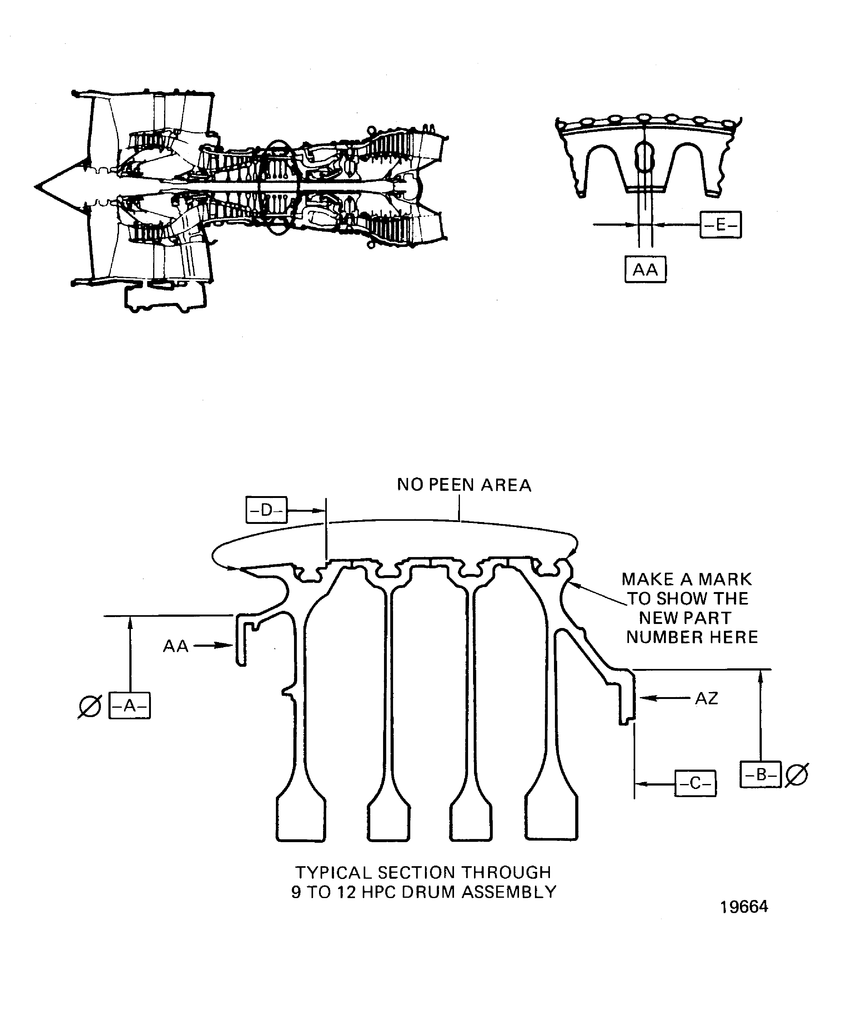
Figure: Rework of the stage 9 to 12 disk assembly (Datum locations)
Sheet 1

Figure: Rework of the stage 9 to 12 disk assembly (Machine the stage 12 disk scallops)
Sheet 2

Figure: Rework of the stage 9 to 12 disk assembly (Shot peen the stage 12 disk scallops)
Sheet 3

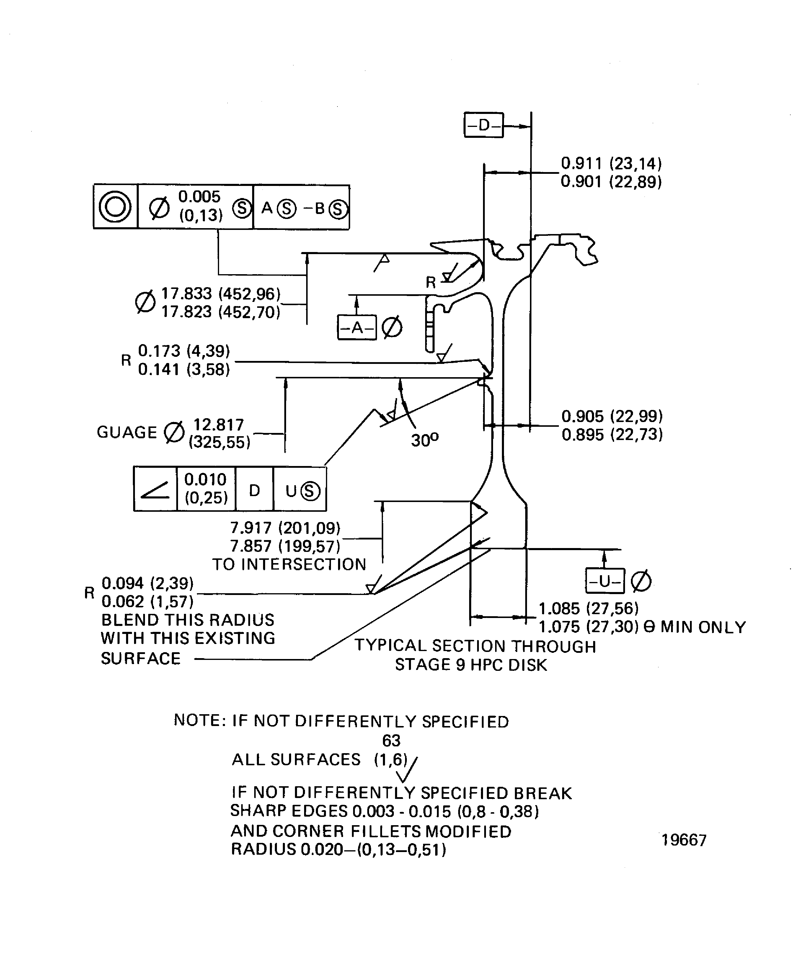
Figure: Rework of the stage 9 to 12 disk assembly (Machine the stage 9 disk)
Sheet 4

Figure: Rework of the stage 9 to 12 disk assembly (Machine the stage 9 disk)
Sheet 5

Figure: Rework of the stage 9 to 12 disk assembly (Shot peen the stage 9 disk)
Sheet 6

Figure: Balance the stage 9 to 12 disk assembly
Balance the stage 9 to 12 disk assembly

