Export Control
EAR Export Classification: Not subject to the EAR per 15 C.F.R. Chapter 1, Part 734.3(b)(3), except for the following Service Bulletins which are currently published as EAR Export Classification 9E991: SBE70-0992, SBE72-0483, SBE72-0580, SBE72-0588, SBE72-0640, SBE73-0209, SBE80-0024 and SBE80-0025.Copyright
© IAE International Aero Engines AG (2001, 2014 - 2021) The information contained in this document is the property of © IAE International Aero Engines AG and may not be copied or used for any purpose other than that for which it is supplied without the express written authority of © IAE International Aero Engines AG. (This does not preclude use by engine and aircraft operators for normal instructional, maintenance or overhaul purposes.).Applicability
All
Common Information
TASK 72-41-15-300-041 HPC Rotor Blades - (Stages 3 To 6) Restore The Fatigue Strength On The Root By Shot Peen, Repair-041 (VRS6151)
Effectivity
FIG/ITEM | PART NO. | ASSEMBLY |
|---|---|---|
01-200 | 6A3513 | A |
01-200 | 6A3938 | A |
01-200 | 6A4188 | A |
01-200 | 6A5942 | A |
01-200 | 6A8353 | A |
01-200 | 6A8398 | A |
01-200 | 6A8688 | A |
01-500 | 6A3333 | B |
01-500 | 6A3635 | B |
01-500 | 6A3939 | B |
01-500 | 6A4254 | B |
01-500 | 6A7635 | B |
01-500 | 6A8738 | B |
01-800 | 6A3335 | C |
01-800 | 6A3637 | C |
01-800 | 6A3941 | C |
01-800 | 6A4198 | C |
01-800 | 6A8449 | C |
01-800 | 6A8451 | C |
02-170 | 6A3338 | D |
02-170 | 6A5586 | D |
02-170 | 6A8463 | D |
02-170 | 6A7406 | E |
02-170 | 6A8322 | E |
02-170 | 6A8797 | E |
02-185 | 6A3339 | D |
02-185 | 6A5587 | D |
02-185 | 6A8464 | D |
02-185 | 6A7407 | E |
02-185 | 6A8323 | E |
02-185 | 6A8798 | E |
02-200 | 6A3340C01 | D |
02-200 | 6A5583C01 | D |
02-200 | 6A8461 | D |
02-200 | 6A7405C01 | E |
02-200 | 6A8320 | E |
02-200 | 6A8732 | E |
02-215 | 6A3340C01 | D |
02-215 | 6A5583C01 | D |
02-215 | 6A8461 | D |
02-215 | 6A7405C01 | E |
02-215 | 6A8320 | E |
02-215 | 6A8732 | E |
02-217 | 6A3340C02 | D |
02-217 | 6A5583C02 | D |
02-217 | 6A8462 | D |
02-217 | 6A7405C02 | E |
02-217 | 6A8321 | E |
02-217 | 6A8733 | E |
General
This repair must only be done when the instruction to do so is given in 72-41-15, Inspection.
To put back the surface condition on the blade root, it is necessary to shot-peen.
The shot-peened part of this repair requires to be source demonstrated and can only be done by approved vendors.
The HP Compressor Rotor Blades, Assembly A, Assembly B, Assembly C and Assembly D, can only be shot-peened five times
The HP Compressor Rotor Blades, Assembly E, can only be shot-peened three times
The practices and processes referred to in the procedure by the TASK numbers are in SPM.
Price and Availability.
Refer to International Aero Engines.
Related Repairs - None
NOTE
NOTE
Preliminary Requirements
Pre-Conditions
NONESupport Equipment
| Name | Manufacturer | Part Number / Identification | Quantity | Remark |
|---|---|---|---|---|
| Chemical cleaning equipment | LOCAL | Chemical cleaning equipment | ||
| Penetrant Crack Test Equipment | LOCAL | Penetrant crack test equipment | ||
| Shot peening equipment | LOCAL | Shot peening equipment | Automatic | |
| Glass bead peening equipment | LOCAL | Glass bead peening equipment | ||
| Vibrating marking pencil | LOCAL | Vibrating marking pencil |
Consumables, Materials and Expendables
| Name | Manufacturer | Part Number / Identification | Quantity | Remark |
|---|---|---|---|---|
| CoMat 02-003 ADHESIVE TAPE BLACK WATERPROOF | LOCAL | CoMat 02-003 | ||
| CoMat 05-028 METALLIC SHOT (CAST STEEL), S230 | IE249 | CoMat 05-028 |
Spares
NONESafety Requirements
NONEProcedure
The Source Demonstration requirements of this repair means that any facility not authorized to accomplish this repair either, utilize the Authorized Repair Vendors listed below or contact the IAE Repair Services Group to determine if a qualification program can be initiated at their facility.
IAE International Aero Engines AG
400 Main Street
M/S 121-10
East Hartford CT 06118
U.S.A.
Attn: Manager Technical Services
Authorized Repair Vendors for Repair VRS6151 are listed below:
ROLLS-ROYCE AERO ENGINE SERVICES LTD.
COMPONENT REFURBISHMENT
MAVOR AVENUE
NERSTON
EAST KILBRIDE
GLASGOW
G74 4PY
SCOTLAND
ATTN: Business Manager, Component Refurbishment
Stage 3 Blades Only
MTU MAINTENANCE GMBH
FLUGHAFEN HANNOVER
MUNCHNER STRASSE 31
30855 LANGENHAGEN
GERMANY
ATTN: Manager, Quality Assurance
Stages 4 to 6 Blades Only
AIRFOIL SERVICES SDN BHD (ASSB)
NO. 12 JALAN TEKNOLOGI
TAMAN SAINS SELANGOR 1
KOTA DAMANSARA PJU5
47810 PETAILING JAYA
SELANGOR DARUL EHSAN
MALAYSIA
ATTN: Managing Director
ISHIKAWAJIMA-HARIMA HEAVY INDUSTRIES CO. LTD
229 TONOGAYA, MIZUHO-MACHI
NISHITAMA-GUN
TOKYO 190-12
JAPAN
ATTN: Manager, Repair Engineering Group
TURBINE OVERHAUL SERVICES PTE, LTD. (TOS)
5 TUAS DRIVE TWO - MAIL STOP 107-58
SINGAPORE 638639
TEL: 65-6860-2260
FAX: 65-6862-1068
Rolls-Royce Inchinnan
Inchinnan Drive
Inchinnan Business Park
Inchinnan, PA4 9AF
Scotland
The designation by IAE of an Authorized Repair Vendor indicates that the Repair Vendor has demonstrated the necessary capability to enable it to carry out the listed repair work. However, IAE makes no warranties or representations concerning the qualifications or quality standards of the Repair Vendors to carry out the repair work, and accepts no responsibility whatsoever for any work that may be carried out by a Repair Vendor other than when IAE is listed as the Repair Vendor. Authorized Repair Vendors do not act as agents or representatives of IAE.
Repair Facilities
Refer to TASK 72-41-15-100-000.
Chemically clean the blades.
SUBTASK 72-41-15-110-114 Clean the HP Compressor Rotor Blades, Stage 3 to 6
Refer to TASK 72-41-15-200-000.
Do a penetrant crack test.
SUBTASK 72-41-15-230-096 Do a Crack Test
Refer to Figure.
SUBTASK 72-41-15-220-264-A00 Make Sure the HP Compressor Rotor Blades, Stage 3 can be Repaired, Assembly A
Refer to Figure.
SUBTASK 72-41-15-220-264-B00 Make Sure the HP Compressor Rotor Blades, Stage 4, can be Repaired, Assembly B
Refer to Figure.
SUBTASK 72-41-15-220-264-C00 Make Sure the HP Compressor Rotor Blades, Stage 5, can be Repaired, Assembly C
Refer to Figure.
SUBTASK 72-41-15-220-264-D00 Make Sure the HP Compressor Rotor Baldes, Stage 6, can be Repaired, Assembly D
Refer to Figure.
SUBTASK 72-41-15-220-264-E00 Make Sure the HP Compressor Rotor Blades, Stage 6, can be Repaired, Assembly E
Use CoMat 02-003 ADHESIVE TAPE BLACK WATERPROOF or a locally made mechanical mask.
Patch mask all identification marks and symbols.
Seal the areas of the blades not to be shot-peened.
Refer to SPM TASK 70-38-04-300-503, SUBTASK 70-38-04-300-002.
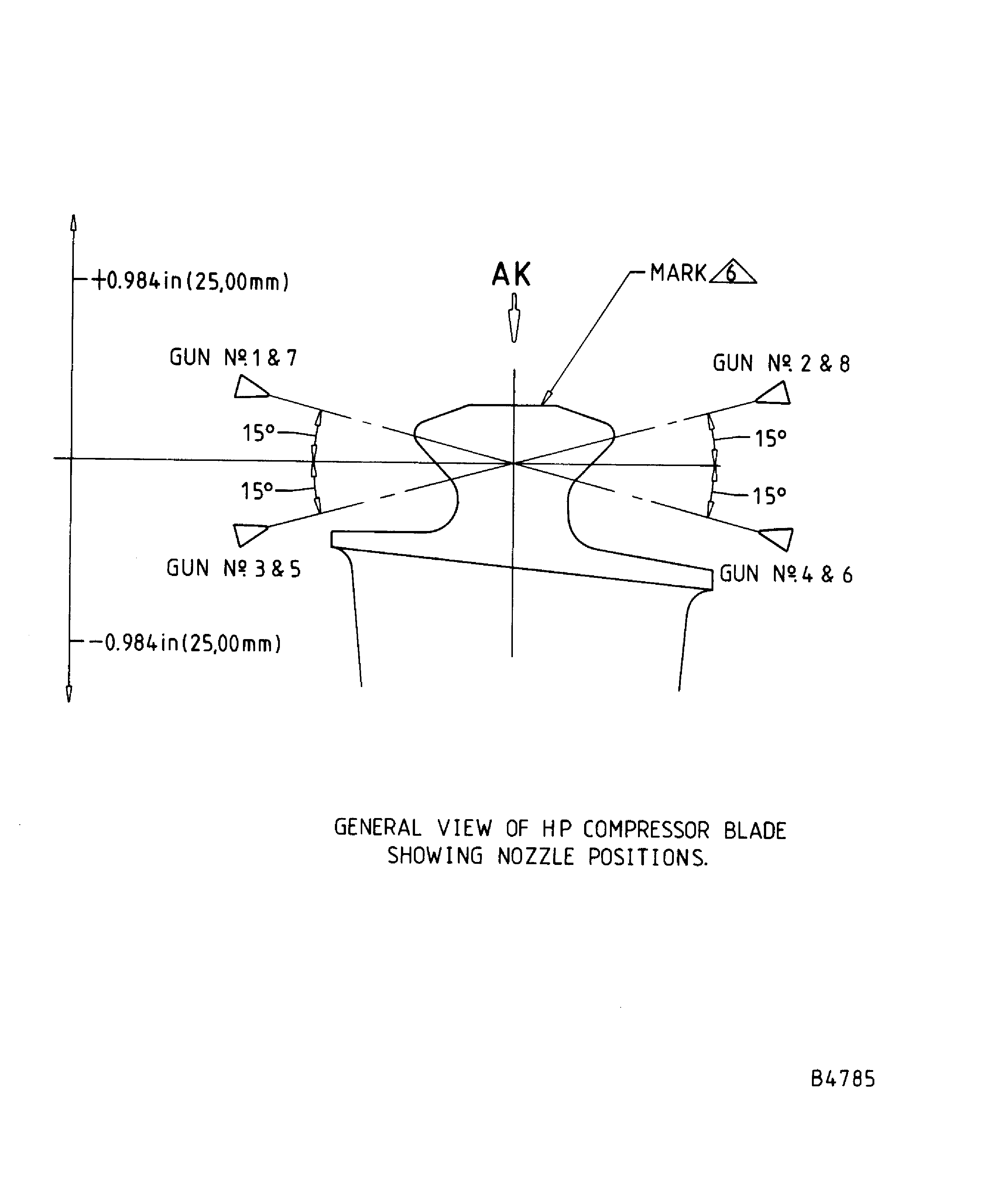
Use CoMat 05-028 METALLIC SHOT (CAST STEEL), S230 to get an Almen intensity of 0.006 in. to 0.010 in. (0.15 mm to 0.25 mm) on A type test strip.
A coverage of 200 percent must be applied.
Shot-Peening Data
Machine type
Metal shot-peen
Process type/mode
Dry/auto
Shot type
Shot size
0.024 in. to 0.04 in. (0.6 mm to 1.0 mm) diameter
Shot hardness
450 HV to 600 HV
Coverage
200 percent
Table speed
5.900 in. (150.00 mm) per minute
Oscillation speed
30 cycles per minute
Oscillation height
1.970 in. (50.00 mm)
Oscillation type
Pneumatic
Air pressure
54 psi - 56 psi (372 KPa to 386 KPa)
Nozzle type/diameter
Y type 36 CFM/0.375 in. (9.52 mm)
Nozzle/Work distance
3.540 in. (90 mm)
Number of nozzles
8
Almen intensity
0.006 in. to 0.010 in. (0.15 mm to 0.25 mm) using "A" type test strip
NOTE
For information, the table speed, oscillation speed, height, type, air pressure, nozzle type/diameter and work distance may change if different equipment is being used. You must achieve the coverage and almen intensity as given in the Shot-Peening data.
Shot-peen the dovetail root of the HP Compressor Rotor Blades, Stage 3 to 6, as necessary.
Refer to Approved Vendors in Step. Repair Facilities, Para. B and/or refer to SPM TASK 70-38-04-300-503, SUBTASK 70-38-04-300-002.
Use wet or dry glass beads with Glass bead peening equipment.
Remove iron contamination after you have shot-peened, as necessary.
SUBTASK 72-41-15-380-100 Shot-Peen the Dovetail Root of the HP Compressor Rotor Blades, Stage 3 to 6, Assembly A, Assembly B, Assembly C, Assembly D, Assembly E
Refer to SPM TASK 70-38-04-300-503, SUBTASK 70-38-04-300-002.
Make a visual inspection of the shot-peened dovetails roots.
SUBTASK 72-41-15-220-265 Examine the Shot-Peened Areas of the HP Compressor, Rotor Blades, Stage 3 to 6, Assembly A, Assembly B, Assembly C, Assembly D and Assembly E
Refer to Figure.
If this is the second repair to this scheme, then vibro-engrave /1 adjacent to the code symbol.
If this is the third repair to this scheme, then vibro-engrave /2 adjacent to the code symbol.
If this is the fourth repair to this scheme, then vibro-engrave /3 adjacent to the code symbol.
If this is the fifth repair to this scheme, then vibro-engrave /4 adjacent to the code symbol.
Use vibro-engraving equipment.
NOTE
The HP Compressor Rotor Blades, Assembly A, Assembly B, Assembly C and Assembly D, can only be shot-peened five times to this repair.Refer to SPM TASK 70-09-00-400-501, SUBTASK 70-09-00-400-001.
If the HP Compressor Rotor Blades have been shot-peened once, mark a code symbol adjacent to the part number.
SUBTASK 72-41-15-350-129-A00 Identify the Repair, Assembly A, Assembly B, Assembly C and Assembly D
Refer to Figure.
Refer to SPM TASK 70-09-00-400-501, SUBTASK 70-09-00-400-001.
If this is the second repair to this scheme, then vibro-engrave /1 adjacent to the code symbol.
If this is the third repair to this scheme then vibro-engrave /2 adjacent to the code symbol.
NOTE
The HP Compressor Rotor Blades, Assembly E, can only be shot-peened three times to this repair.If the HP Compressor Rotor Blades, Assembly E, have been shot-peened once, mark a code symbol adjacent to the part number.
SUBTASK 72-41-15-350-129-E00 Identify the Repair, Assembly E
Figure: Repair details and dimensions - Assembly A
Repair details and dimensions - Assembly A

Figure: Repair details and dimensions - Assembly B
Repair details and dimensions - Assembly B

Figure: Repair details and dimensions - Assembly C
Repair details and dimensions - Assembly C

Figure: Repair details and dimensions - Assembly D
Repair details and dimensions - Assembly D

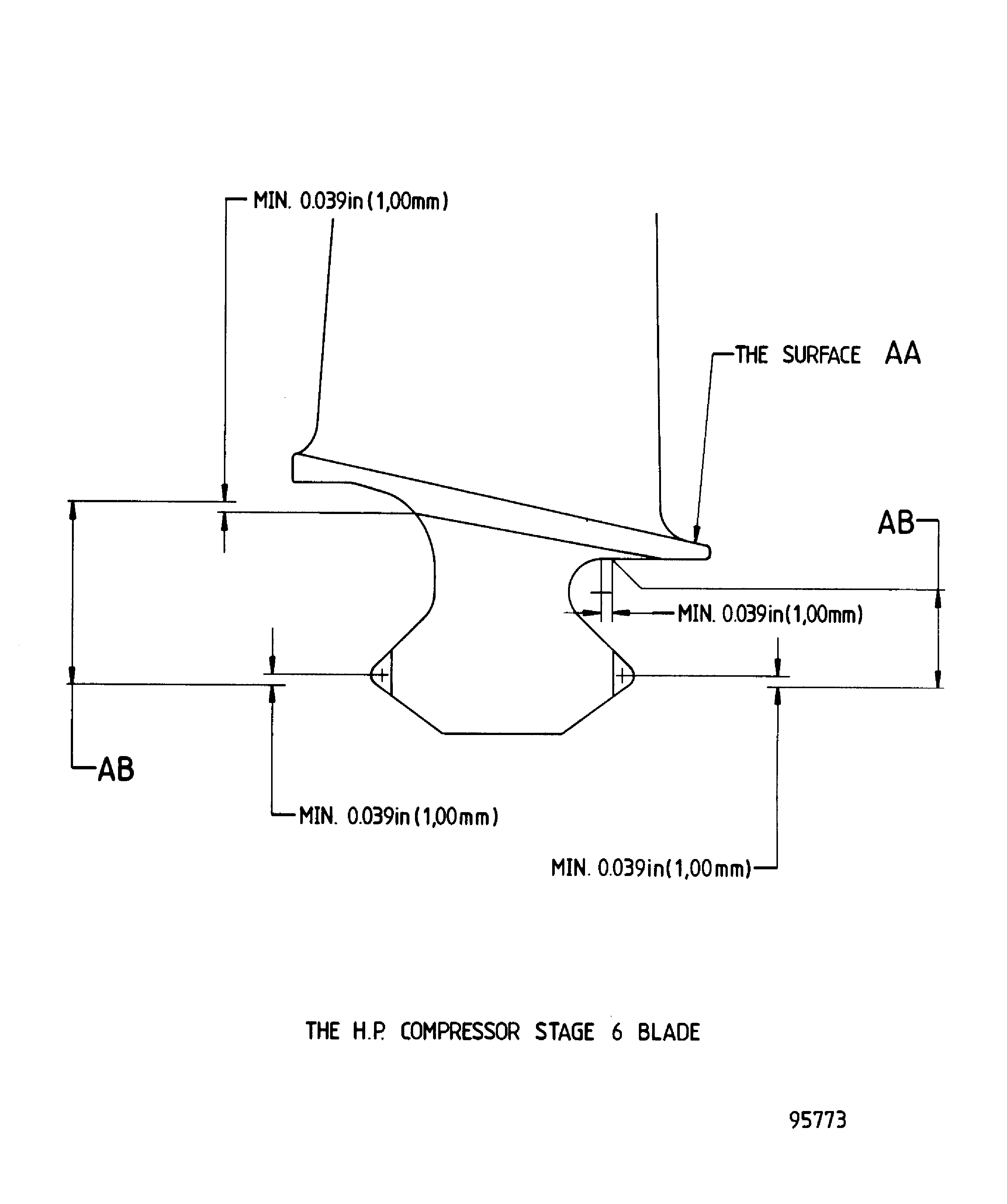
Figure: Repair details and dimensions - Assembly E
Repair details and dimensions - Assembly E

Figure: Repair details and dimensions
Repair details and dimensions

Figure: Repair details and dimensions
Repair details and dimensions

