Export Control
EAR Export Classification: Not subject to the EAR per 15 C.F.R. Chapter 1, Part 734.3(b)(3), except for the following Service Bulletins which are currently published as EAR Export Classification 9E991: SBE70-0992, SBE72-0483, SBE72-0580, SBE72-0588, SBE72-0640, SBE73-0209, SBE80-0024 and SBE80-0025.Copyright
© IAE International Aero Engines AG (2001, 2014 - 2021) The information contained in this document is the property of © IAE International Aero Engines AG and may not be copied or used for any purpose other than that for which it is supplied without the express written authority of © IAE International Aero Engines AG. (This does not preclude use by engine and aircraft operators for normal instructional, maintenance or overhaul purposes.).Applicability
All
Common Information
TASK 72-41-15-300-043 HP Compressor Stage 7 To 8 Rotor Blades - Shot Peen The Root Of The Blades To Restore The Fatigue Strength, Repair-043 (VRS6152)
Effectivity
FIG/ITEM | PART NO. | ASSEMBLY |
|---|---|---|
02-270 | 6A3246 | A |
02-270 | 6A4302 | B |
02-270 | 6A4905 | B |
02-270 | 6A5588 | A |
02-270 | 6A6462 | B |
02-270 | 6A6493 | A |
02-270 | 6A7511 | B |
02-270 | 6A8314 | B |
02-270 | 6A8743 | B |
02-285 | 6A3247 | A |
02-285 | 6A4906 | B |
02-285 | 6A5589 | A |
02-285 | 6A6463 | B |
02-285 | 6A6494 | A |
02-285 | 6A7512 | B |
02-285 | 6A8315 | B |
02-285 | 6A8744 | B |
02-300 | 6A3245C01 | A |
02-300 | 6A4907C01 | B |
02-300 | 6A5584C01 | A |
02-300 | 6A6469C01 | B |
02-300 | 6A6492C01 | A |
02-300 | 6A7513C01 | B |
02-300 | 6A8312 | B |
02-300 | 6A8741 | B |
02-315 | 6A3245C01 | A |
02-315 | 6A4907C01 | B |
02-315 | 6A5584C01 | A |
02-315 | 6A6469C01 | B |
02-315 | 6A6492C01 | A |
02-315 | 6A7513C01 | B |
02-315 | 6A8312 | B |
02-315 | 6A8741 | B |
02-316 | 6B1495 | B |
02-317 | 6A3245C02 | A |
02-317 | 6A4907C02 | B |
02-317 | 6A5584C02 | A |
02-317 | 6A6469C02 | B |
02-317 | 6A6492C02 | A |
02-317 | 6A7513C02 | B |
02-317 | 6A8313 | B |
02-317 | 6A8742 | B |
02-370 | 6A3249 | C |
02-370 | 6A4908 | D |
02-370 | 6A5590 | C |
02-370 | 6A6464 | D |
02-370 | 6A6496 | C |
02-370 | 6A7514 | D |
02-370 | 6A8747 | D |
02-385 | 6A3250 | C |
02-385 | 6A4307 | D |
02-385 | 6A4909 | D |
02-385 | 6A5591 | C |
02-385 | 6A6465 | D |
02-385 | 6A6497 | C |
02-385 | 6A7515 | D |
02-385 | 6A8748 | D |
02-400 | 6A3248C01 | C |
02-400 | 6A4910C01 | D |
02-400 | 6A5585C01 | C |
02-400 | 6A6470C01 | D |
02-400 | 6A6495C01 | C |
02-400 | 6A7516C01 | D |
02-400 | 6A8745 | D |
02-415 | 6A3248C01 | C |
02-415 | 6A4910C01 | D |
02-415 | 6A5585C01 | C |
02-415 | 6A6470C01 | D |
02-415 | 6A6495C01 | C |
02-415 | 6A7516C01 | D |
02-415 | 6A8745 | D |
02-416 | 6B1496 | D |
02-417 | 6A3248C02 | C |
02-417 | 6A4910C02 | D |
02-417 | 6A5585C02 | C |
02-417 | 6A6470C02 | D |
02-417 | 6A6495C02 | C |
02-417 | 6A7516C02 | D |
02-417 | 6A8746 | D |
Material of component
PART IDENT | SYMBOL | MATERIAL |
|---|---|---|
HP Compressor Stage 7 to 8 Rotor Blades | TAF, TDY or TTX | Titanium Alloy |
General
This TASK gives the procedure to shot peen the root of the HP Compressor Stage 7 to 8 Rotor Blades to restore the fatigue strength.
This repair must only be done when the instruction to do so is given in the inspection procedures (identified by the applicable part number) located in section 72-41-15.
To put back the surface condition on the blade root, it is necessary to shot-peen.
The shot-peened part of this repair requires to be source demonstrated and can only be done by approved vendors.
This repair on the HP Compressor Stage 7 to 8 Rotor Blades can only be done three times.
Where reference is made to a SUBTASK within a TASK in the form "TASK, SUBTASK" the operator must read and apply the complete TASK. The SUBTASK is listed only when the TASK gives options for the processing of the component. The specified SUBTASK instructs what option must be used during application of the TASK for the successful completion of the repair scheme VRS6152.
TASKS identified by SPM TASK are in the Standard Practices Manual (SPM).
Price and Availability.
Refer to International Aero Engines (IAE).
Related Repairs - None.
NOTE
NOTE
NOTE
NOTE
Preliminary Requirements
Pre-Conditions
NONESupport Equipment
| Name | Manufacturer | Part Number / Identification | Quantity | Remark |
|---|---|---|---|---|
| Chemical cleaning equipment | LOCAL | Chemical cleaning equipment | ||
| Fluorescent penetrant inspection equipment | LOCAL | Fluorescent Penetrant Inspection Equipment | ||
| Penetrant Crack Test Equipment | LOCAL | Penetrant crack test equipment | ||
| Shot peening equipment | LOCAL | Shot peening equipment | Automatic | |
| Glass bead peening equipment | LOCAL | Glass bead peening equipment | ||
| Vibrating marking pencil | LOCAL | Vibrating marking pencil |
Consumables, Materials and Expendables
| Name | Manufacturer | Part Number / Identification | Quantity | Remark |
|---|---|---|---|---|
| CoMat 02-003 ADHESIVE TAPE BLACK WATERPROOF | LOCAL | CoMat 02-003 | ||
| CoMat 05-028 METALLIC SHOT (CAST STEEL), S230 | IE249 | CoMat 05-028 | ||
| CoMat 06-018 FLUORESCENT PENETRANT (POST-EMULSIFIED HIGH SENSITIVITY) | 37676 | CoMat 06-018 |
Spares
NONESafety Requirements
NONEProcedure
The Source Demonstration requirements of this repair means that any facility not authorized to accomplish this repair either, utilize the Authorized Repair Vendors listed below or contact the IAE Repair Services Group to determine if a qualification program can be initiated at their facility.
IAE International Aero Engines AG
400 Main Street
M/S 121-10
East Hartford CT 06118
U.S.A.
Attn: Manager Technical Services
Authorized Repair Vendors for Repair VRS6152 are listed below:
ROLLS ROYCE AERO REPAIR AND OVERHAUL - EAST KILBRIDE
MAVOR AVENUE
NERSTON
EAST KILBRIDE
GLASGOW
G74 4PY
SCOTLAND
ATTN: Business Manager, Component Refurbishment
AIRFOIL SERVICES SDN BHD
NO. 12 JALAN TEKNOLOGI
TAMAN SAINS SELANGOR 1
KOTA DAMANSARA PJU5
47810 PETAILING JAYS
SELANGOR DARUL EHSAN
MALAYSIA
ATTN: Managing Director
ISHIKAWA-HARIMA HEAVY INDUSTRIES CO. LTD
229 TONOGAYA, MIZUHO-MACHI
NISHITAMA-GUN
TOKYO 190-1297
JAPAN
ATTN: Manager, Repair Engineering Group
MTU MAINTENANCE GMBH
FLUGHAFEN HANNOVER
MUNCHNER STRASSE 31
30855 LANGENHAGEN
GERMANY
ATTN: Manager, Quality Assurance
GE ENGINE SERVICES
9311 REEVES STREET
DALLAS
TEXAS 75235
USA
ATTN: Program Manager, V2500
TURBINE OVERHAUL SERVICES PTE, LTD. (TOS)
5 TUAS DRIVE TWO - MAIL STOP 107-58
SINGAPORE 638639
TEL: 65-6860-2260
FAX: 65-6862-1068
Rolls-Royce Inchinnan
Inchinnan Drive
Inchinnan Business Park
Inchinnan, PA4 9AF
Scotland
The designation by IAE of an Authorized Repair Vendor indicates that the Repair Vendor has demonstrated the necessary capability to enable it to carry out the listed repair work. However, IAE makes no warranties or representations concerning the qualifications or quality standards of the Repair Vendors to carry out the repair work, and accepts no responsiblity whatsoever for any work that may be carried out by a Repair Vendor other than when IAE is listed as the Repair Vendor. Authorized Repair Vendors do not act as agents or representatives of IAE.
Repair Facilities
Refer to TASK 72-41-15-100-000. Use Chemical cleaning equipment.
Chemically clean the HP Compressor Stage 7 to 8 Rotor Blades.
SUBTASK 72-41-15-110-115 Clean the HP Compressor Stage 7 to 8 Rotor Blades
Refer to SPM TASK 70-23-03-230-501.
Reject.
If cracking is detected.
Continue with the repair.
If no cracking is detected.
Use CoMat 06-018 FLUORESCENT PENETRANT (POST-EMULSIFIED HIGH SENSITIVITY) and Fluorescent penetrant inspection equipment.
Do a fluorescent penetrant inspection of the HP Compressor Stage 7 to 8 Rotor Blades.
SUBTASK 72-41-15-230-123 Fluorescent Penetrant Inspect
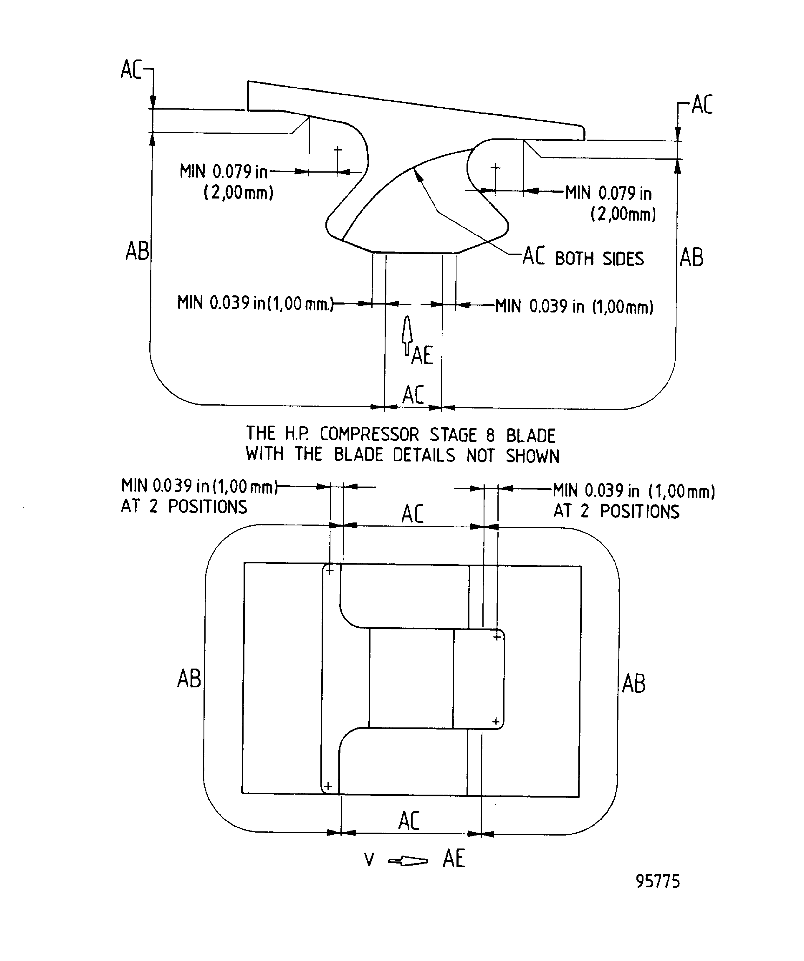
Refer to Figure.
SUBTASK 72-41-15-220-266 Make Sure that the HP Compressor Stage 7 to 8 Rotor Blades can be Repaired
Use CoMat 02-003 ADHESIVE TAPE BLACK WATERPROOF or a locally manufactured mechanical mask.
Patch mask all identification symbols.
Seal the areas of the HP Compressor Stage 7 to 8 Rotor Blades not to be shot peened.
Use automatic Shot peening equipment.
Install the sealed HP Compressor Stage 7 to 8 Rotor Blades onto the table of the shot-peeing equipment.
Refer to the SPM TASK 70-38-04-300-503, SUBTASK 70-38-04-300-002.
Use CoMat 05-028 METALLIC SHOT (CAST STEEL), S230 to get almen intensity of 0.006 in. to 0.010 in. (0.15 mm to 0.25mm) on an "A" type test strip.
A coverage of 200 percent must be applied.
Use automatic Shot peening equipment.
Shot-Peening Data
Machine type
Metal shot-peen
Process type/mode
Dry/automatic
Shot type
Shot size
0.024 in. to 0.040 in. (0.6 mm to 1.0 mm) diameter
Shot hardness
450 HV to 600 HV
Coverage
200 percent
Table speed
5.900 in. (150.00 mm) per minute
Oscillation speed
30 cycles per minute
Oscillation height
1.97 in. (50.00 mm)
Oscillation type
Pneumatic
Air pressure
54 psi - 56 psi (372 kPa to 386 kPa)
Nozzle type/diameter
'Y' type 36 CFM/0.375 in. (9.52 mm)
Nozzle/Work distance
3.54 in. (90 mm)
Number of nozzles
8
Almen intensity
0.006 to 0.010 in (0.15 to 0.25 mm),
using test strip 'A'
NOTE
For information, the table speed, oscillation speed, height, type, air pressure, nozzle type/diameter and work distance may change if different equipment is being used. You must achieve the coverage and almen intensity as given in the Shot-Peening Data.
Shot-peen the dovetail root of the HP Compressor Stage 7 to 8 Rotor Blades, as necessary.
Refer to Approved Vendors in 4. Repair Facilities, Para. B and/or refer to the SPM TASK 70-38-04-300-503, SUBTASK 70-38-04-300-002.
Use wet or dry glass beades, with Glass bead peening equipment.
Remove iron contamination after you have shot peened, as necessary.
SUBTASK 72-41-15-380-101 Shot-Peen the Dovetail Root HP Compressor Stage 7 to 8 Rotor Bladesof the
Refer to the SPM TASK 70-38-04-300-503, SUBTASK 70-38-04-300-002.
Make a visual inspection of the shot-peened dovetails roots.
SUBTASK 72-41-15-220-267 Examine the Shot-Peened Areas of the HP Compressor Stage 7 to 8 Rotor Blades
Refer to Figure.
Refer to SPM TASK 70-09-00-400-501, SUBTASK 70-09-00-400-001.
If this is the first repair to this scheme, then no suffix number is required.
If this is the second repair to this scheme, then vibro-engrave /1 adjacent to the code symbol.
If this is the third repair to this scheme then vibro-engrave /2 adjacent to the code symbol.
NOTE
The HP Compressor Stage 7 to 8 Rotor Blades can only be shot-peened three times to this repair.
If the HP Compressor Stage 7 to 8 Rotor Blades have been shot-peened once, mark a code symbol adjacent to the part number.
Mark the repair scheme identification symbol, 6, at the identified location with the appropriate suffix.
Make a mark adjacent to the part number.
SUBTASK 72-41-15-350-130 Identify the Repair
Figure: Repair Details and Dimensions - Assembly A
Repair Details and Dimensions - Assembly A

Figure: Repair Details and Dimensions - Assembly B
Repair Details and Dimensions - Assembly B

Figure: Repair Details and Dimensions - Assembly C
Repair Details and Dimensions - Assembly C

Figure: Repair Details and Dimensions - Assembly D
Repair Details and Dimensions - Assembly D

Figure: Repair Details and Dimensions - All Assemblies
Repair Details and Dimensions - All Assemblies

Figure: Repair Details and Dimensions - All Assemblies
Repair Details and Dimensions - All Assemblies

