Export Control
EAR Export Classification: Not subject to the EAR per 15 C.F.R. Chapter 1, Part 734.3(b)(3), except for the following Service Bulletins which are currently published as EAR Export Classification 9E991: SBE70-0992, SBE72-0483, SBE72-0580, SBE72-0588, SBE72-0640, SBE73-0209, SBE80-0024 and SBE80-0025.Copyright
© IAE International Aero Engines AG (2001, 2014 - 2021) The information contained in this document is the property of © IAE International Aero Engines AG and may not be copied or used for any purpose other than that for which it is supplied without the express written authority of © IAE International Aero Engines AG. (This does not preclude use by engine and aircraft operators for normal instructional, maintenance or overhaul purposes.).Applicability
All
Common Information
TASK 72-41-15-300-006 HPC Stage 8 Rotor Blade - Repair Damage By Material Removal, Repair-006 (VRS6014)
Effectivity
FIG/ITEM | PART NO. | ASSEMBLY |
|---|---|---|
02-370 | 6A3249 | A |
02-370 | 6A4908 | B |
02-370 | 6A5590 | A |
02-370 | 6A6464 | B |
02-370 | 6A6496 | A |
02-370 | 6A8747 | B |
02-385 | 6A3250 | A |
02-385 | 6A4909 | B |
02-385 | 6A5591 | A |
02-385 | 6A6465 | B |
02-385 | 6A6497 | A |
02-385 | 6A8748 | B |
02-400 | 6A3248C01 | A |
02-400 | 6A4910C01 | B |
02-400 | 6A5585C01 | A |
02-400 | 6A6470C01 | B |
02-400 | 6A6495C01 | A |
02-400 | 6A8745 | B |
02-415 | 6A3248C01 | A |
02-415 | 6A4910C01 | B |
02-415 | 6A5585C01 | A |
02-415 | 6A6470C01 | B |
02-415 | 6A6495C01 | A |
02-415 | 6A8745 | B |
02-416 | 6B1496 | B |
02-417 | 6A3248C02 | A |
02-417 | 6A4910C02 | B |
02-417 | 6A5585C02 | A |
02-417 | 6A6470C02 | B |
02-417 | 6A6495C02 | A |
02-417 | 6A8746 | B |
General
This task gives the procedure to repair surface damage on the HP Compressor Stage 8 Rotor Blade by material removal.
This repair must only be done when the instruction to do so is given in the relevant inspection procedures (identified by the applicable part number) located in section 72-41-15.
You can mix a scallop and edge dressing to a given HP Compressor Stage 8 Rotor Blade, if the maximum limit for any of these is not exceeded.
Rotor blades must be repaired as soon as damage or wear is monitored, to get back HP Compressor efficiency and extend the rotor blade life.
Material removal from the HP Compressor Stage 8 Rotor Blade Airfoil fillet radius is not permitted.
When the depth of the dressed material is more than 0.002 in. (0.05 mm) it is necessary to glass bead peen the HP Compressor Stage 8 Rotor Blade to restore the airfoil surface condition, refer to Repair, VRS6150 TASK 72-41-15-300-040 (REPAIR-040).
Where reference is made to a SUBTASK within a TASK in the form "TASK, SUBTASK" the operator must read and apply the complete TASK. The SUBTASK is listed only when the TASK gives options for the processing of the component. The specified SUBTASK instructs what option must be used during application of the TASK for the successful completion of the repair scheme VRS6014.
TASKS identified by SPM TASK are in the Standard Practices Manual (SPM).
Related repairs
HP Compressor - Stage 3 to 12 - Rotor Blades - Repair Airfoil Surface Condition, refer to Repair, VRS6150 TASK 72-41-15-300-040 (REPAIR-040).
NOTE
NOTE
NOTE
NOTE
Preliminary Requirements
Pre-Conditions
| Action/Condition | Data Module/Technical Publication |
|---|---|
| Make sure all the necessary cleaning and inspection procedures are done before this repair. |
Support Equipment
NONEConsumables, Materials and Expendables
NONESpares
NONESafety Requirements
NONEProcedure
Refer to SPM TASK 70-35-03-300-501.
The maximum depth of blending on the airfoil surface must not be more than 0.005 in. (0.13 mm).
The diameter of the blended area (blend ratio) must be between 25 and 50 times the depth of the blended area. Larger blend ratios are acceptable but must only be used for very small defects.
Impact damage, such as nicks, must be blended to twice the depth of the defect.
Remove damage on the HP Compressor Stage 8 Rotor Blade airfoil surfaces by blending.
SUBTASK 72-41-15-350-058-A00 Blend to Remove the Damaged Material
Make sure that all of the defects have been removed from the component.
Do a visual inspection of the HP Compressor Stage 8 Rotor Blade.
Discard the blades, if more than the limits specified.
Do a dimensional inspection of the HP Compressor Stage 8 Rotor Blade.
SUBTASK 72-41-15-220-401 Visually and Dimensionally Inspect
Refer to SPM TASK 70-11-08-300-503.
Clean and swab etch the repaired area(s).
SUBTASK 72-41-15-110-121 Do a Swab Etch
Refer to SPM TASK 70-23-05-230-501, ultra high sensitivity. Cracks are not permitted.
Refer to SPM TASK 70-23-04-230-501.
Do a penetrant crack test on the repair area(s) by one of the procedures that follow:
SUBTASK 72-41-15-230-132 Do a Crack Test
Refer to Repair, VRS6150 TASK 72-41-15-300-040 (REPAIR-040).
NOTE
This SUBTASK, to restore the surface condition, is only necessary if the depth of material removal is greater than 0.002 in. (0.05 mm).Restore the HP Compressor Stage 8 Rotor Blade surface condition.
SUBTASK 72-41-15-380-058 Restore the Airfoil Surface Condition
Polish the repair area to remove scratches and to achieve a surface finish of 10 microinches (0.25 micrometers).
Use suitable silicon carbide abrasive papers to achieve the given surface finish.
Polish the repair area on the HP Compressor Stage 8 Rotor Blade.
SUBTASK 72-41-15-350-133 Polish the Repair Area

CAUTION
TITANIUM COMPONENT - ONLY USE SILICON CARBIDE ABRASIVE STONES, WHEELS AND PAPERS TO DRESS, BLEND AND POLISH THE COMPONENT.
CAUTION
TITANIUM COMPONENT - THE MAXIMUM SPEED FOR MECHANICAL TOOLS MUST NOT EXCEED 1000 REVOLUTIONS PER MINUTE.
CAUTION
TITANIUM COMPONENT - MAKE SURE THAT DURING MATERIAL REMOVAL, BLENDING TO MAKE SMOOTH AND POLISHING THAT NO SPARKS ARE PRODUCED.
CAUTION
TITANIUM COMPONENT - IF THE MATERIAL SHOWS A CHANGE IN COLOUR TO DARKER THAN A LIGHT STRAW COLOUR THE COMPONENT MUST BE REJECTED.
CAUTION
TITANIUM COMPONENT - AVOID BUILD UP OF HEAT BY APPLYING ONLY GENTLE PRESSURE AND KEEPING THE TOOL SPEED AS LOW AS POSSIBLE. USE TECHNIQUES WHICH ALLOW FOR PROGRESSIVE WEAR OF THE DRESSING MEDIA TO PRESENT A CONTINUALLY FRESH CUTTING SURFACE TO THE WORK PIECE.
CAUTION
TITANIUM COMPONENT- DO NOT DWELL ON ONE AREA OF THE COMPONENT.
CAUTION
TITANIUM COMPONENT- DRESS WHERE POSSIBLE IN A CIRCULAR MOTION.NOTE
This SUBTASK only needs to be applied if Step has not been applied.Refer to SPM TASK 70-09-00-400-501.
Use vibration peen method.
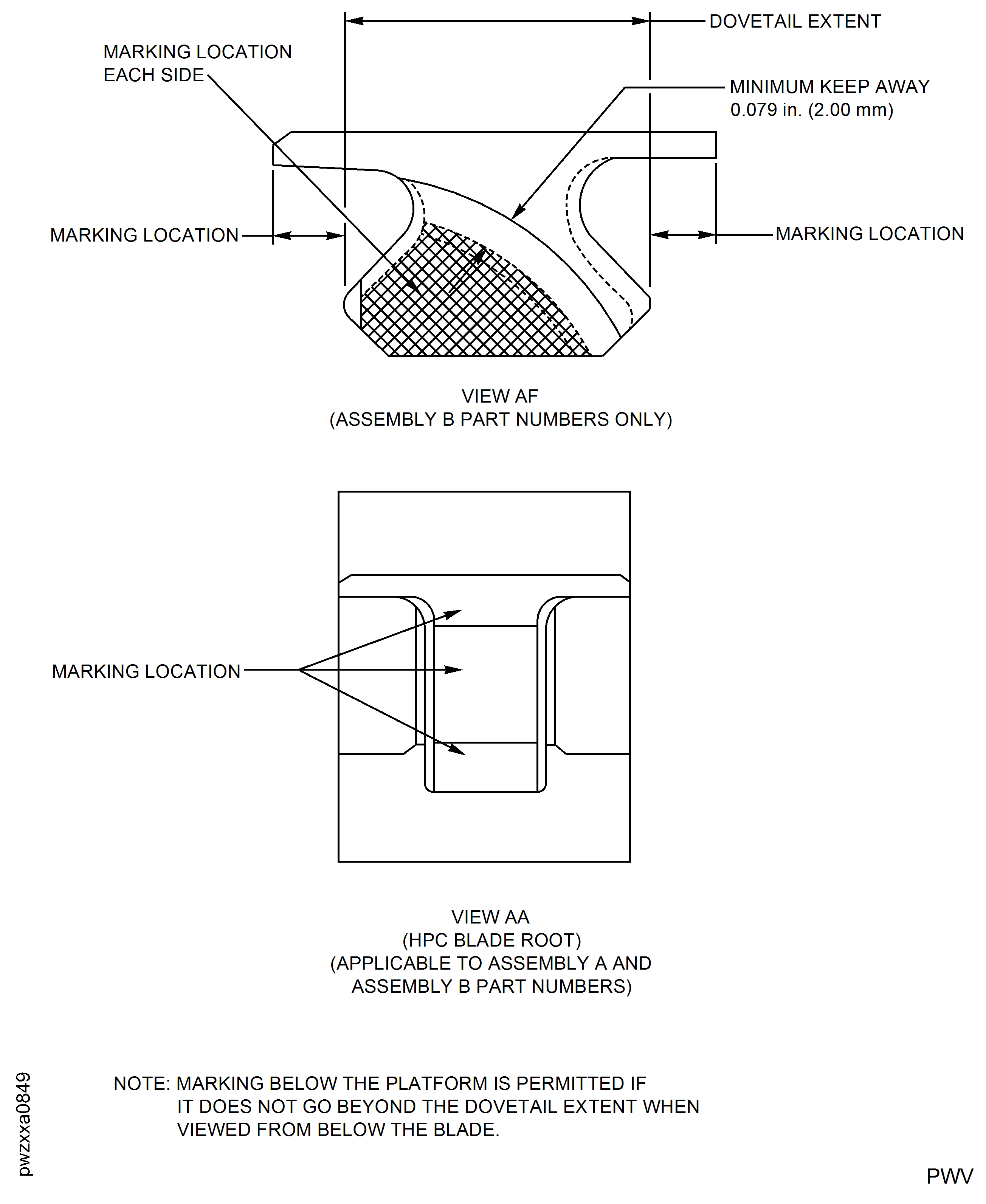
Vibro-peen 27 at one of the indicated locations on the HP Compressor Stage 8 Rotor Blade.
SUBTASK 72-41-15-350-135 Identify the Repair
Figure: HP Compressor Stage 8 Rotor Blade - Leading And Trailing Edge Blending Details And Dimensions - Assembly A And Assembly B
HP Compressor Stage 8 Rotor Blade - Leading And Trailing Edge Blending Details And Dimensions - Assembly A And Assembly B

Figure: HP Compressor Stage 8 Rotor Blade - Leading And Trailing Edge Scalloping Details And Dimensions - Assembly A And Assembly B
HP Compressor Stage 8 Rotor Blade - Leading And Trailing Edge Scalloping Details And Dimensions - Assembly A And Assembly B

Figure: HP Compressor Stage 8 Rotor Blade - Repair Dimensions - Assembly A
HP Compressor Stage 8 Rotor Blade - Repair Dimensions - Assembly A

Figure: HP Compressor Stage 8 Rotor Blade - Repair Dimensions - Assembly B
HP Compressor Stage 8 Rotor Blade - Repair Dimensions - Assembly B

Figure: HP Compressor Stage 8 Rotor Blade - Repaired Leading And Trailing Edge Details Assembly A And Assembly B
HP Compressor Stage 8 Rotor Blade - Repaired Leading And Trailing Edge Details Assembly A And Assembly B

Figure: HP Compressor Stage 8 Rotor Blade - Airfoil Surface Dressing - Repair Details And Dimensions - Assembly A And Assembly B
HP Compressor Stage 8 Rotor Blade - Airfoil Surface Dressing - Repair Details And Dimensions - Assembly A And Assembly B

Figure: HP Compressor Stage 8 Rotor Blade- Leading And Trailing Edge Dressing Details - Assembly A And Assembly B
HP Compressor Stage 8 Rotor Blade- Leading And Trailing Edge Dressing Details - Assembly A And Assembly B

Figure: HP Compressor Stage 8 Rotor Blades - Marking Locations
HP Compressor Stage 8 Rotor Blades - Marking Locations

