Export Control
EAR Export Classification: Not subject to the EAR per 15 C.F.R. Chapter 1, Part 734.3(b)(3), except for the following Service Bulletins which are currently published as EAR Export Classification 9E991: SBE70-0992, SBE72-0483, SBE72-0580, SBE72-0588, SBE72-0640, SBE73-0209, SBE80-0024 and SBE80-0025.Copyright
© IAE International Aero Engines AG (2001, 2014 - 2021) The information contained in this document is the property of © IAE International Aero Engines AG and may not be copied or used for any purpose other than that for which it is supplied without the express written authority of © IAE International Aero Engines AG. (This does not preclude use by engine and aircraft operators for normal instructional, maintenance or overhaul purposes.).Applicability
All
Common Information
TASK 72-41-31-200-010-B00 HPC Front Case Bushes - Examine, Inspection-010
Effectivity
FIG/ITEM PART NO. | |
|---|---|
01-241 | 178636-2 |
01-243 | 178636-1 |
01-244 | 1035212 |
01-251 | 178639-2 |
01-253 | 178639-1 |
01-254 | 1035252 |
01-261 | 178637-2 |
01-263 | 178637-1 |
01-264 | 1035272 |
01-270 | 178638-1 |
01-271 | 178638-2 |
01-274 | 1035232 |
General
This TASK gives the procedure for the inspection of the spindle bushes
Fig/item numbers in parentheses in the procedure agree with those used in the IPC. Only the primary Fig/item numbers are used. For the service bulletin alpha variants refer to the IPC.
The policy that is necessary for inspection is given in the SPM TASK 70-20-01-200-501.
All the parts must be cleaned before any part is examined. Refer to TASK 72-41-31-100-000 (CLEANING-000).
All the parts must be visually examined for damage, corrosion and wear. Any defects that are not identified in the procedure must be referred to IAE.
A ** following repair referenced in this inspection indicates that the repair is not yet published in the current revision of the manual and the part must be rejected. Contact IAE for additional information concerning FAA approved repair date.
Do not discard any part until you are sure there are no repairs available. Refer to the instructions in Repair before a discarded part is used again or oversize parts are installed.
Parts which should be discarded can be held although no repair is available. The repair of a discarded part can be shown to be necessary at a subsequent date.
All the parts must be examined to make sure that all the repairs have been completed satisfactorily.
The practices and processes referred to in the procedure by the TASK/SUBTASK number are in the SPM.
References
Refer to the SPM for data on these items.
Definition of Damage, TASK 70-02-02-350-501
Inspection of Parts, TASK 70-20-01-220-501
Some data on these items is contained in this TASK. For more data on these items refer to the SPM.
Methods of Testing for Crack Indications
Chemical Processes
Surface Protection
Preliminary Requirements
Pre-Conditions
NONESupport Equipment
NONEConsumables, Materials and Expendables
NONESpares
NONESafety Requirements
NONEProcedure
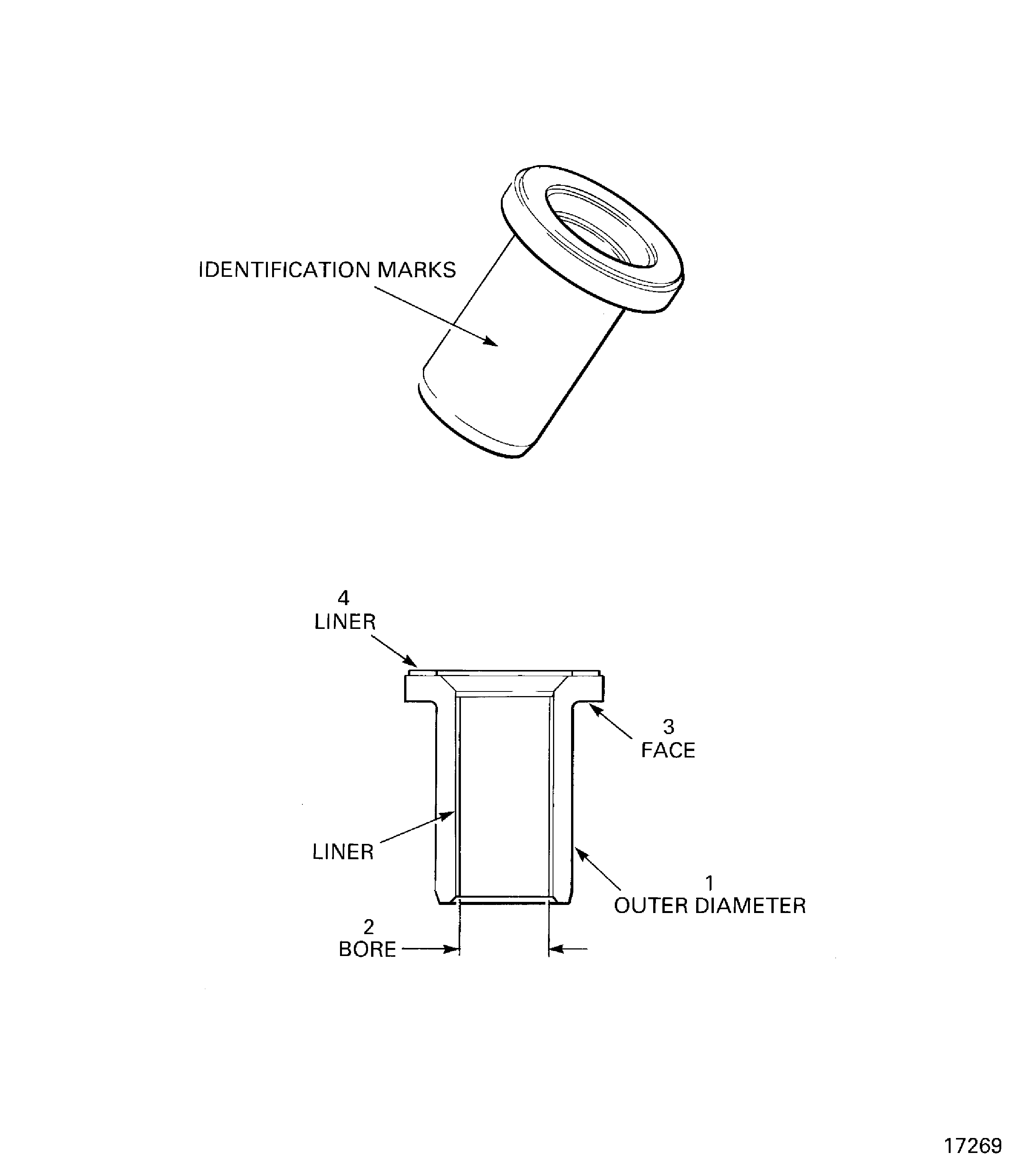
Refer to Figure.
SUBTASK 72-41-31-220-259 Measure the Spindle Bushes Outer Diameter at Location 1
Refer to Figure.
SUBTASK 72-41-31-220-195 Examine the Spindle Bushes at Location 1
Refer to Figure.
SUBTASK 72-41-31-220-196 Measure the Spindle Bushes Bore at Location 2
Refer to Figure.
SUBTASK 72-41-31-220-197 Examine the Spindle Bushes Bore at Location 2
Refer to Figure.
SUBTASK 72-41-31-220-198 Examine the Spindle Bushes Face at Location 3
Refer to Figure.
SUBTASK 72-41-31-220-199 Examine the Spindle Bushes Liner at Location 4
Refer to Figure.
SUBTASK 72-41-31-220-200 Examine the Stage 6 Inner Bushes Surfaces at Locations 1 and 2
Refer to Figure.
SUBTASK 72-41-31-220-201 Examine the Stage 6 Inner Bushes Liner at Locations 3 and 4
Figure: Locations to examine the spindle bushes
Locations to examine the spindle bushes

Figure: Locations to examine the spindle bushes
Locations to examine the spindle bushes

