Export Control
EAR Export Classification: Not subject to the EAR per 15 C.F.R. Chapter 1, Part 734.3(b)(3), except for the following Service Bulletins which are currently published as EAR Export Classification 9E991: SBE70-0992, SBE72-0483, SBE72-0580, SBE72-0588, SBE72-0640, SBE73-0209, SBE80-0024 and SBE80-0025.Copyright
© IAE International Aero Engines AG (2001, 2014 - 2021) The information contained in this document is the property of © IAE International Aero Engines AG and may not be copied or used for any purpose other than that for which it is supplied without the express written authority of © IAE International Aero Engines AG. (This does not preclude use by engine and aircraft operators for normal instructional, maintenance or overhaul purposes.).Applicability
All
Common Information
TASK 72-41-34-300-054 HPC Vane Actuating Crankshaft - Repair By Locally Re-Applying Surface Protection, Repair-054 (VRS6180)
General
This Repair must only be done when the instruction to do so is given in 72-41-34 Inspection.
The TASK gives the procedure to repair the vane actuating crank shaft by locally re-applying surface protection.
TASKs identified by SPM TASK are in the Standard Practices and Processes Manual (SPM).
Price and availability
Refer to International Aero Engines
Related repairs - none
NOTE
NOTE
It is possible that some materials in the Consumable Materials chart cannot be used for some or all of the necessary applications. Before you use the materials, make sure the types, quantities and applications of the materials necessary are legally permitted in your location. All persons must obey all applicable federal, state, local and provincial laws and regulations when it is necessary to work with these materials.
To identify the consumable materials, refer to the Overhaul Processes and Consumables Index (PCI).
Other necessary consumable materials are referred to in the SPM TASKs.
Preliminary Requirements
Pre-Conditions
NONESupport Equipment
| Name | Manufacturer | Part Number / Identification | Quantity | Remark |
|---|---|---|---|---|
| Chemical cleaning equipment | LOCAL | Chemical cleaning equipment | ||
| Ink marking equipment | LOCAL | Ink marking equipment | ||
| Paint brush | LOCAL | Paint brush | ||
| Standard workshop equipment | LOCAL | Standard workshop equipment |
Consumables, Materials and Expendables
| Name | Manufacturer | Part Number / Identification | Quantity | Remark |
|---|---|---|---|---|
| CoMat 02-001 ADHESIVE TAPE (MASKING) | LOCAL | CoMat 02-001 | ||
| CoMat 02-005 ADHESIVE TAPE (MASKING) | LOCAL | CoMat 02-005 | ||
| CoMat 05-111 EMERY POLISHING PAPER | 06565 | CoMat 05-111 | ||
| CoMat 06-073 INK, METAL MARKING | 88303 | CoMat 06-073 | ||
| CoMat 07-024 AEROLAC METAL PROTECTIVE VARNISH, CLEAR | LOCAL | CoMat 07-024 | ||
| CoMat 07-038 AIR DRYING ENAMEL | K3504 | CoMat 07-038 |
Spares
NONESafety Requirements
NONEProcedure
SUBTASK 72-41-34-350-114 Remove Areas of Damaged Enamel

CAUTION
UNMASKED SURFACES MUST NOT BE TOUCHED WITH BARE HANDS. CLEAN POLYTHENE OR COTTON GLOVES MUST BE WORN.
CAUTION
IF SURFACES MUST BE TOUCHED OR IF SURFACES ARE DIRTY, DO Step AGAIN.Refer to the SPM TASK 70-38-35-380-001, SUBTASK 70-38-35-380-003.
Use CoMat 07-038 AIR DRYING ENAMEL with a paint brush.
Let the air dry for a minimum of 1 hour.
Apply protection.
SUBTASK 72-41-34-380-063 Apply Surface Protection Assembly A and Assembly B

CAUTION
UNMASKED SURFACES MUST NOT BE TOUCHED WITH BARE HANDS. CLEAN POLYTHENE OR COTTON GLOVES MUST BE WORN.
CAUTION
IF SURFACES MUST BE TOUCHED OR IF SURFACES ARE DIRTY, DO Step AGAIN.Refer to the SPM TASK 70-09-01-400-501.
Make a mark on the part number adjacent to the existing marks, which are found below the surface protection.
Use a paint brush.
Identify the part again, if necessary.
SUBTASK 72-41-34-350-115 Identify the Part
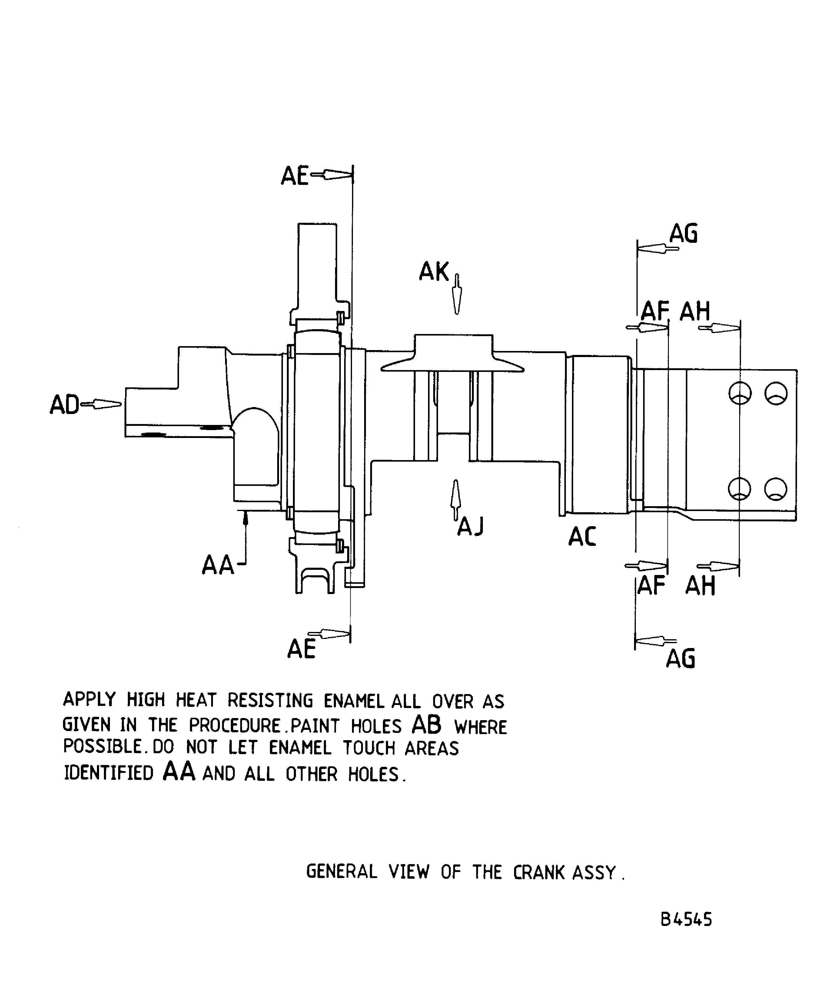
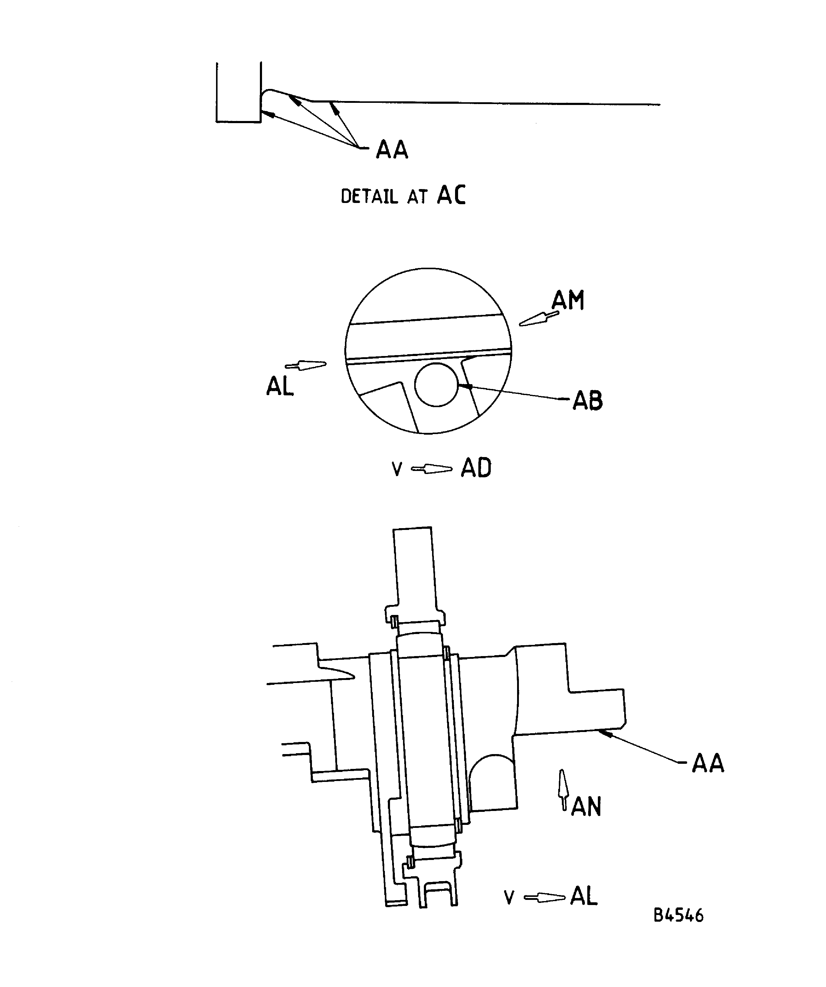
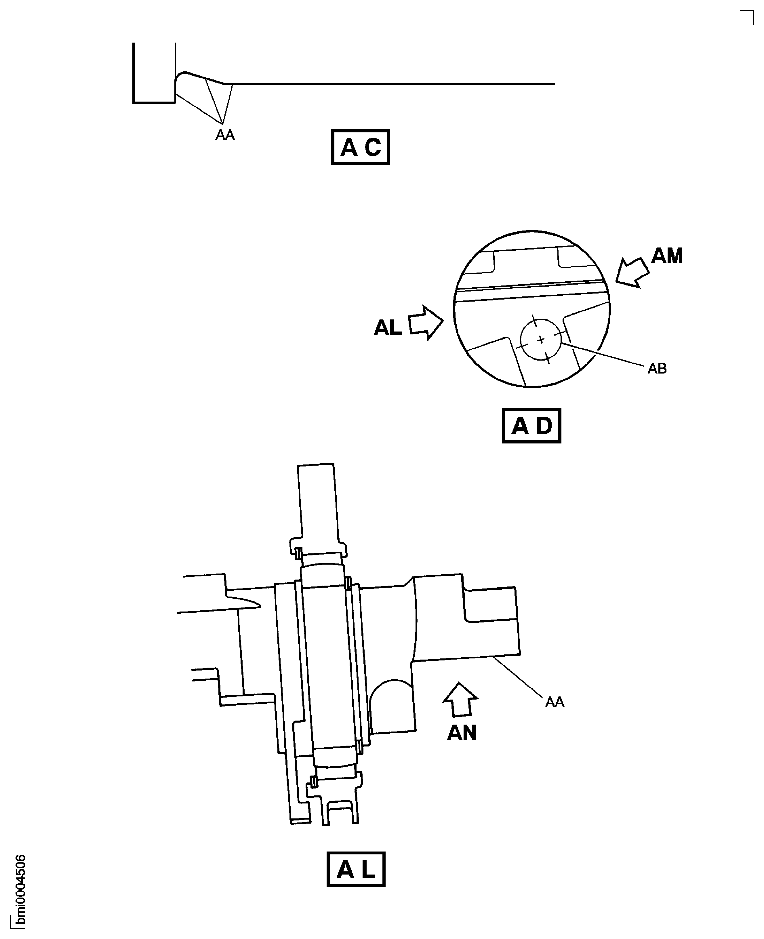
Figure: Repair Details and Dimensions - Assembly A
Repair Details and Dimensions - Assembly A

Figure: Repair Details and Dimensions - Assembly B
Repair Details and Dimensions - Assembly B

Figure: Repair Details and Dimensions - Assembly A
Repair Details and Dimensions - Assembly A

Figure: Repair Details and Dimensions - Assembly B
Repair Details and Dimensions - Assembly B

Figure: Repair Details and Dimensions - Assembly A
Repair Details and Dimensions - Assembly A

Figure: Repair Details and Dimensions - Assembly B
Repair Details and Dimensions - Assembly B

Figure: Repair Details and Dimensions - Assembly A and Assembly B
Repair Details and Dimensions - Assembly A and Assembly B

Figure: Repair Details and Dimensions - Assembly A
Repair Details and Dimensions - Assembly A

Figure: Repair Details and Dimensions - Assembly B
Repair Details and Dimensions - Assembly B

Figure: Repair Details and Dimensions - Assembly A and Assembly B
Repair Details and Dimensions - Assembly A and Assembly B

Figure: Repair Details and Dimensions - Assembly A
Repair Details and Dimensions - Assembly A

Figure: Repair Details and Dimensions - Assembly B
Repair Details and Dimensions - Assembly B

