Export Control
EAR Export Classification: Not subject to the EAR per 15 C.F.R. Chapter 1, Part 734.3(b)(3), except for the following Service Bulletins which are currently published as EAR Export Classification 9E991: SBE70-0992, SBE72-0483, SBE72-0580, SBE72-0588, SBE72-0640, SBE73-0209, SBE80-0024 and SBE80-0025.Copyright
© IAE International Aero Engines AG (2001, 2014 - 2021) The information contained in this document is the property of © IAE International Aero Engines AG and may not be copied or used for any purpose other than that for which it is supplied without the express written authority of © IAE International Aero Engines AG. (This does not preclude use by engine and aircraft operators for normal instructional, maintenance or overhaul purposes.).Applicability
All
Common Information
TASK 72-41-34-300-055 HPC Vane Actuating Crankshaft - Repair By Re-Applying Surface Protection, Repair-055 (VRS6391)
General
This Repair must only be done when the instruction to do so is given in 72-41-34 Inspection.
The TASK gives the procedure to repair the vane actuating crank shaft by re-applying surface protection.
TASKs identified by SPM TASK are in the Standard Practices and Processes Manual (SPM).
Price and availability
Refer to International Aero Engines
Related repairs - none
NOTE
NOTE
It is possible that some materials in the Consumable Materials chart cannot be used for some or all of the necessary applications. Before you use the materials, make sure the types, quantities and applications of the materials necessary are legally permitted in your location. All persons must obey all applicable federal, state, local and provincial laws and regulations when it is necessary to work with these materials.
To identify the consumable materials, refer to the Overhaul Processes and Consumables Index (PCI).
Other necessary consumable materials are referred to in the SPM TASKs.
Preliminary Requirements
Pre-Conditions
NONESupport Equipment
| Name | Manufacturer | Part Number / Identification | Quantity | Remark |
|---|---|---|---|---|
| Abrasive blast equipment | LOCAL | Abrasive blast equipment | ||
| Chemical cleaning equipment | LOCAL | Chemical cleaning equipment | ||
| Ink marking equipment | LOCAL | Ink marking equipment | ||
| Oven | LOCAL | Oven | ||
| Paint spray equipment | LOCAL | Paint spray equipment | ||
| Penetrant Crack Test Equipment | LOCAL | Penetrant crack test equipment |
Consumables, Materials and Expendables
| Name | Manufacturer | Part Number / Identification | Quantity | Remark |
|---|---|---|---|---|
| CoMat 02-001 ADHESIVE TAPE (MASKING) | LOCAL | CoMat 02-001 | ||
| CoMat 02-005 ADHESIVE TAPE (MASKING) | LOCAL | CoMat 02-005 | ||
| CoMat 02-019 TAPE, ADHESIVE PAPER HEAT RESISTING MASKING | 94960 | CoMat 02-019 | ||
| CoMat 05-003 ABRASIVE MEDIUM ALUMINUM OXIDE, 120/220 GRADE | LOCAL | CoMat 05-003 | ||
| CoMat 06-064 FLUORESCENT PENETRANT (WATER WASHABLE MEDIUM SENSITIVITY) | LOCAL | CoMat 06-064 | ||
| CoMat 06-073 INK, METAL MARKING | 88303 | CoMat 06-073 | ||
| CoMat 07-024 AEROLAC METAL PROTECTIVE VARNISH, CLEAR | LOCAL | CoMat 07-024 | ||
| CoMat 07-075 HIGH-HEAT RESISTING STOVING ENAMEL | k3504 | CoMat 07-075 |
Spares
NONESafety Requirements
NONEProcedure
Refer to the SPM TASK 70-09-01-400-501.
Make a mark on the part number adjacent to the existing marks, which are found below the surface protection.
Use CoMat 06-073 INK, METAL MARKING ink metal marking and CoMat 07-024 AEROLAC METAL PROTECTIVE VARNISH, CLEAR.
Use ink marking equipment.
Identify the part again.
SUBTASK 72-41-34-350-116 Identify the Component
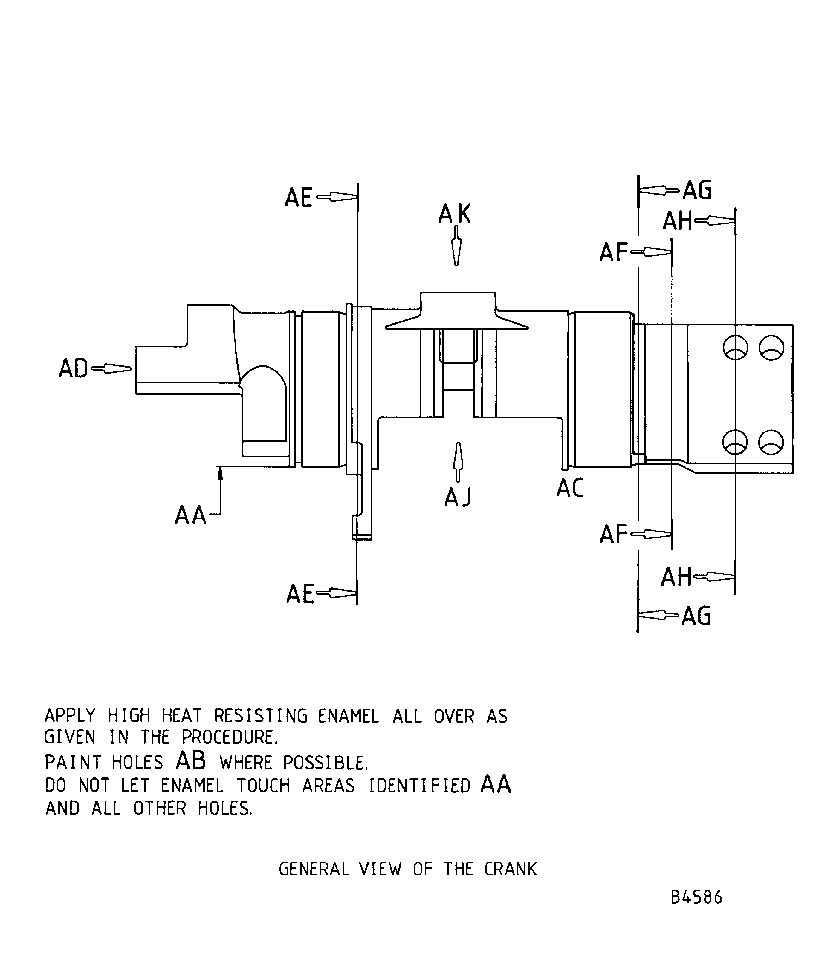
Figure: Repair Details and Dimensions - Asssembly A
Repair Details and Dimensions - Asssembly A

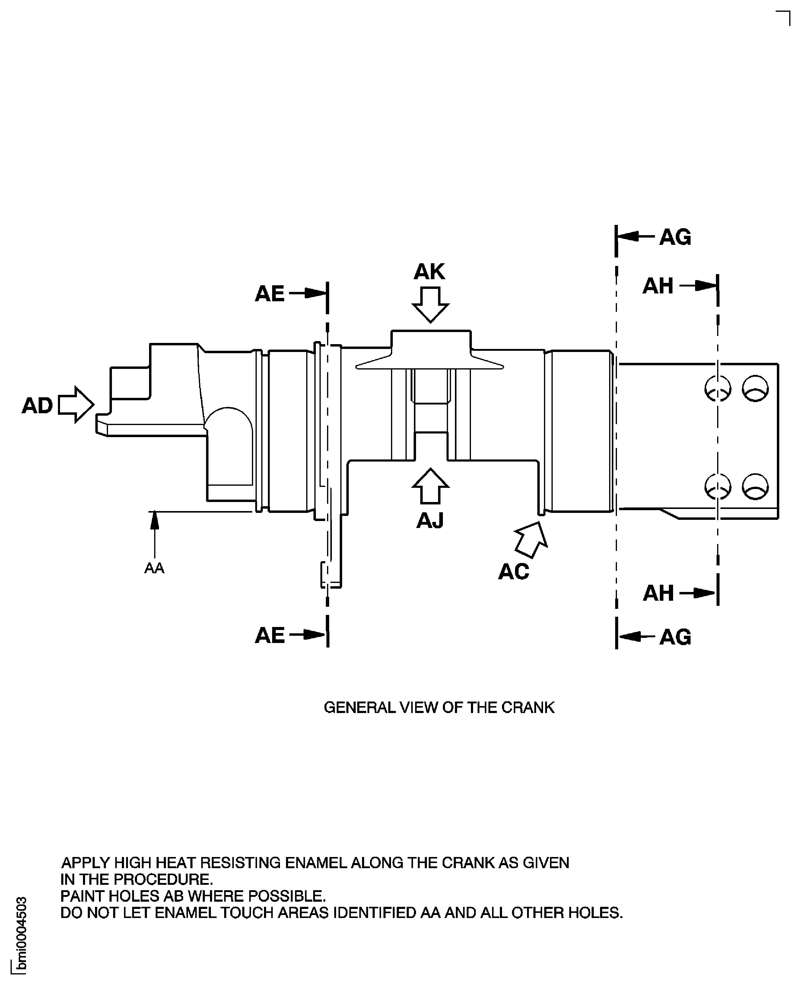
Figure: Repair Details and Dimensions - Asssembly B
Repair Details and Dimensions - Asssembly B

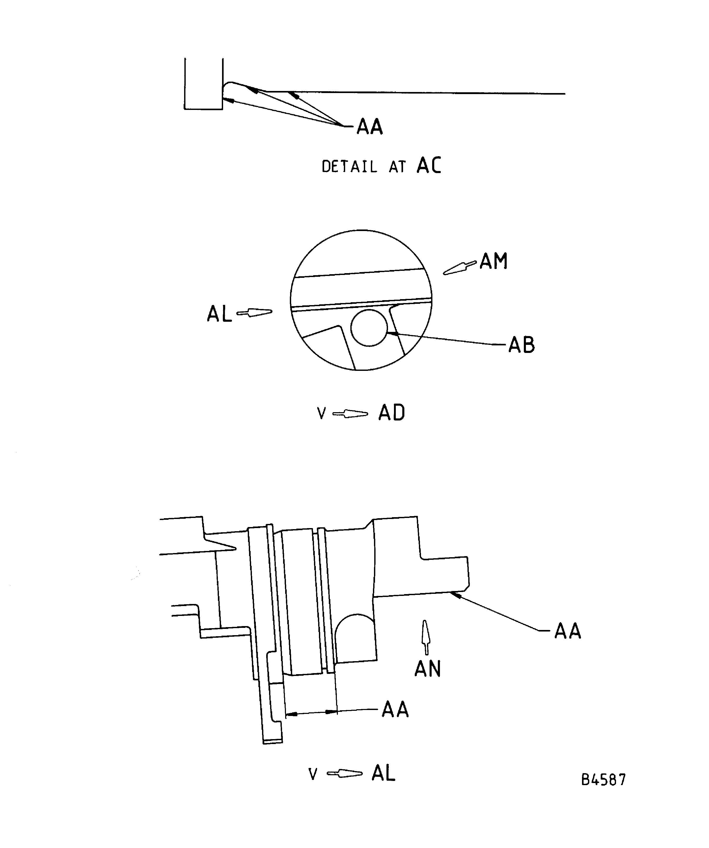
Figure: Repair Details and Dimensions - Assembly A
Repair Details and Dimensions - Assembly A

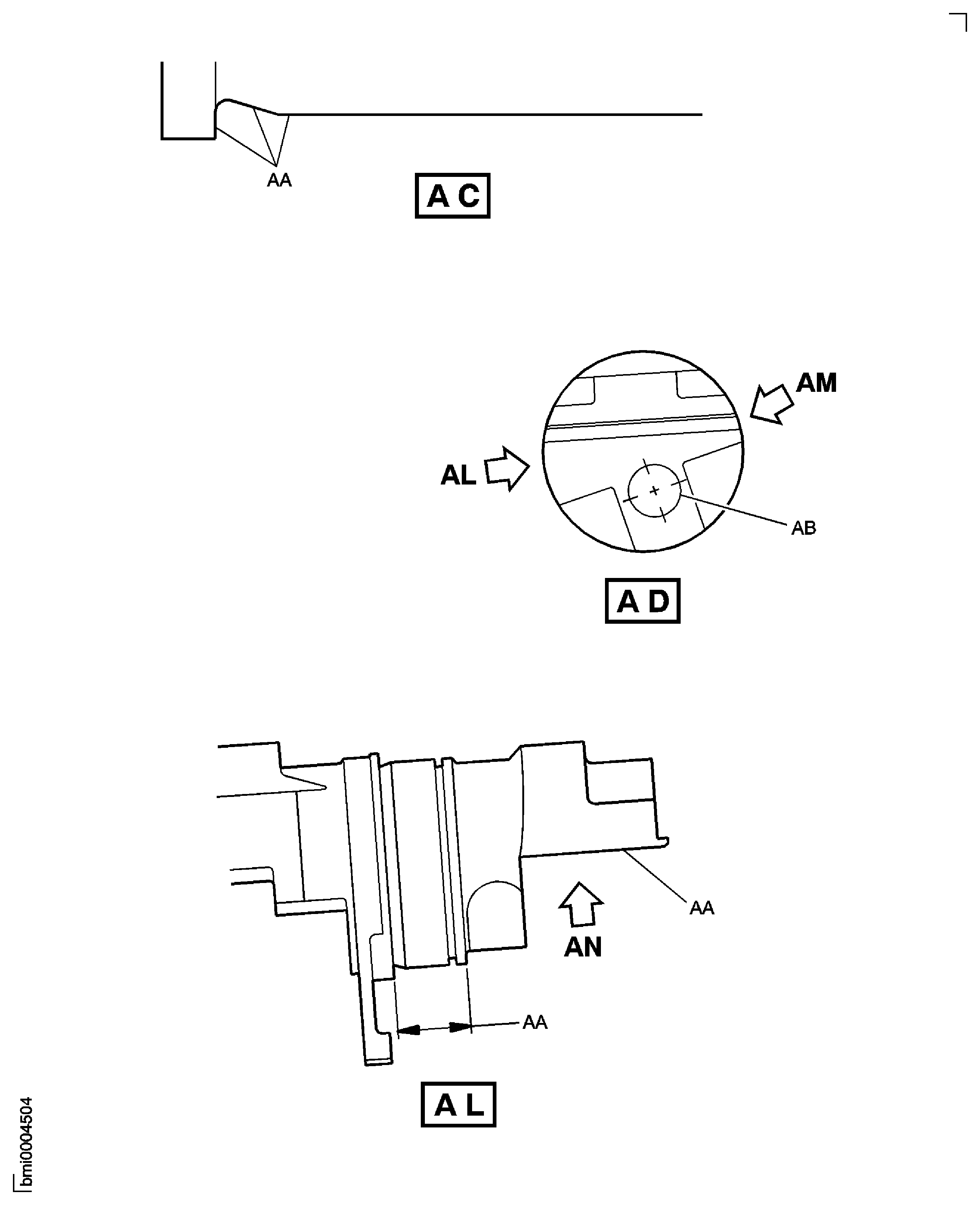
Figure: Repair Details and Dimensions - Asssembly B
Repair Details and Dimensions - Asssembly B

Figure: Repair Details and Dimensions - Assembly A
Repair Details and Dimensions - Assembly A

Figure: Repair Details and Dimensions - Asssembly B
Repair Details and Dimensions - Asssembly B

Figure: Repair Details and Dimensions - Assembly A and Asssembly B
Repair Details and Dimensions - Assembly A and Asssembly B

Figure: Repair Details and Dimensions - Assembly A
Repair Details and Dimensions - Assembly A

Figure: Repair Details and Dimensions - Asssembly B
Repair Details and Dimensions - Asssembly B

Figure: Repair Details and Dimensions - Assembly A and Asssembly B
Repair Details and Dimensions - Assembly A and Asssembly B

Figure: Repair Details and Dimensions - Assembly A
Repair Details and Dimensions - Assembly A

Figure: Repair Details and Dimensions - Asssembly B
Repair Details and Dimensions - Asssembly B

