Export Control
EAR Export Classification: Not subject to the EAR per 15 C.F.R. Chapter 1, Part 734.3(b)(3), except for the following Service Bulletins which are currently published as EAR Export Classification 9E991: SBE70-0992, SBE72-0483, SBE72-0580, SBE72-0588, SBE72-0640, SBE73-0209, SBE80-0024 and SBE80-0025.Copyright
© IAE International Aero Engines AG (2001, 2014 - 2021) The information contained in this document is the property of © IAE International Aero Engines AG and may not be copied or used for any purpose other than that for which it is supplied without the express written authority of © IAE International Aero Engines AG. (This does not preclude use by engine and aircraft operators for normal instructional, maintenance or overhaul purposes.).Applicability
All
Common Information
TASK 72-41-34-200-025 HPC Stage 6 Vane Ring Centralizing Pad And Housing - Examine The Stage 6 Rubbing Pads, Inspection-025
General
This TASK gives the procedure for the inspection of the stage 6 rubbing pads.
Fig./item numbers in parentheses in the procedure agree with those used in the EIPC.
The policy that is necessary for inspection is given in the SPM TASK 70-20-01-200-501.
All the parts must be cleaned before any part is examined.
All the parts must be visually examined for damage, corrosion and wear. Any defects that are not identified in the procedure must be referred to IAE.
The procedure for those parts which must have a crack test is given in Step
Do not discard any part until you are sure there are no repairs available. Refer to the instructions in Repair before a discarded part is used again or oversize parts are installed.
Parts which should be discarded can be held although no repair is available. The repair of a discarded part can be shown to be necessary at a subsequent date.
All the parts must be examined to make sure that all the repairs have been completed satisfactorily.
The practices and processes referred to in the procedure by the TASK number are in the SPM.
References
Refer to the SPM for data on these items.
Definition of Damage TASK 70-02-02-350-501
Record and Control of the Lives of Parts, TASK 70-05-00-220-501
Inspection of Parts, TASK 70-20-01-200-501
Some data on these items is contained in this TASK. For more data on these items refer to the SPM.
Methods of Testing for Crack Indications
Chemical Processes
Surface Protection
Preliminary Requirements
Pre-Conditions
NONESupport Equipment
NONEConsumables, Materials and Expendables
NONESpares
NONESafety Requirements
NONEProcedure
Clean the parts. Refer to TASK 72-41-34-100-000.
SUBTASK 72-41-34-230-074 Examine the Stage 6 Rubbing Pads (06-726) for Cracks
Refer to: Figure
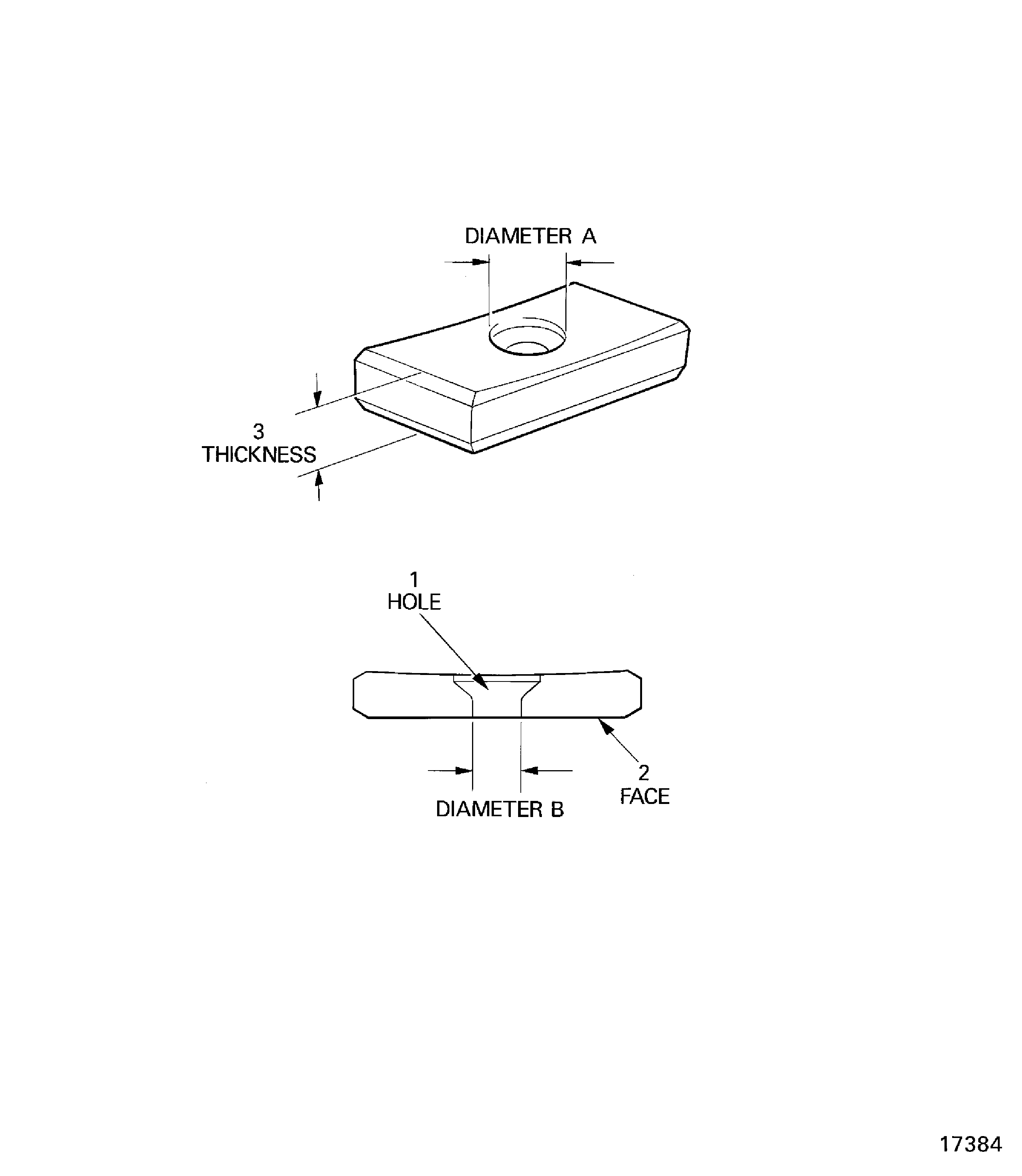
SUBTASK 72-41-34-220-175 Examine the Stage 6 Rubbing Pads (06-726) Hole at Location 1
Refer to: Figure
SUBTASK 72-41-34-220-176 Examine the Stage 6 Rubbing Pads (06-726) Face at Location 2
Refer to: Figure
SUBTASK 72-41-34-220-177 Examine the Stage 6 Rubbing Pads (06-726) for Wear at Location 3
Figure: Stage 6 rubbing pads - inspection locations
Stage 6 rubbing pads - inspection locations

