Export Control
EAR Export Classification: Not subject to the EAR per 15 C.F.R. Chapter 1, Part 734.3(b)(3), except for the following Service Bulletins which are currently published as EAR Export Classification 9E991: SBE70-0992, SBE72-0483, SBE72-0580, SBE72-0588, SBE72-0640, SBE73-0209, SBE80-0024 and SBE80-0025.Copyright
© IAE International Aero Engines AG (2001, 2014 - 2021) The information contained in this document is the property of © IAE International Aero Engines AG and may not be copied or used for any purpose other than that for which it is supplied without the express written authority of © IAE International Aero Engines AG. (This does not preclude use by engine and aircraft operators for normal instructional, maintenance or overhaul purposes.).Applicability
All
Common Information
TASK 72-42-11-300-007 Diffuser Case - Plasma Spray The Front Outside Diameter, Repair-007 (VRS3033)
Effectivity
FIG/ITEM | PART NO. |
|---|---|
01-010 | 2A0051 |
01-010 | 2A2081-01 |
01-010 | 2A2581-01 |
01-010 | 2A2883-01 |
01-010 | 2A2889-01 |
01-010 | 2A2896-01 |
01-010 | 2A2885-01 |
01-010 | 2A2891-01 |
01-010 | 2A2897-01 |
01-010 | 2A3132 |
General
Price and availability - refer to IAE
The practices and processes referred to in this procedure by TASK numbers are in the SPM.
Preliminary Requirements
Pre-Conditions
NONESupport Equipment
| Name | Manufacturer | Part Number / Identification | Quantity | Remark |
|---|---|---|---|---|
| Machining equipment | LOCAL | Machining equipment | ||
| Plasma spray equipment | LOCAL | Plasma spray equipment |
Consumables, Materials and Expendables
| Name | Manufacturer | Part Number / Identification | Quantity | Remark |
|---|---|---|---|---|
| CoMat 03-080 METAL SPRAYING POWDER,Co BASE ALLOY | IE426 | CoMat 03-080 | ||
| CoMat 03-096 PLASMA SPRAY POWDER | LOCAL | CoMat 03-096 |
Spares
NONESafety Requirements
NONEProcedure
Refer to: Figure
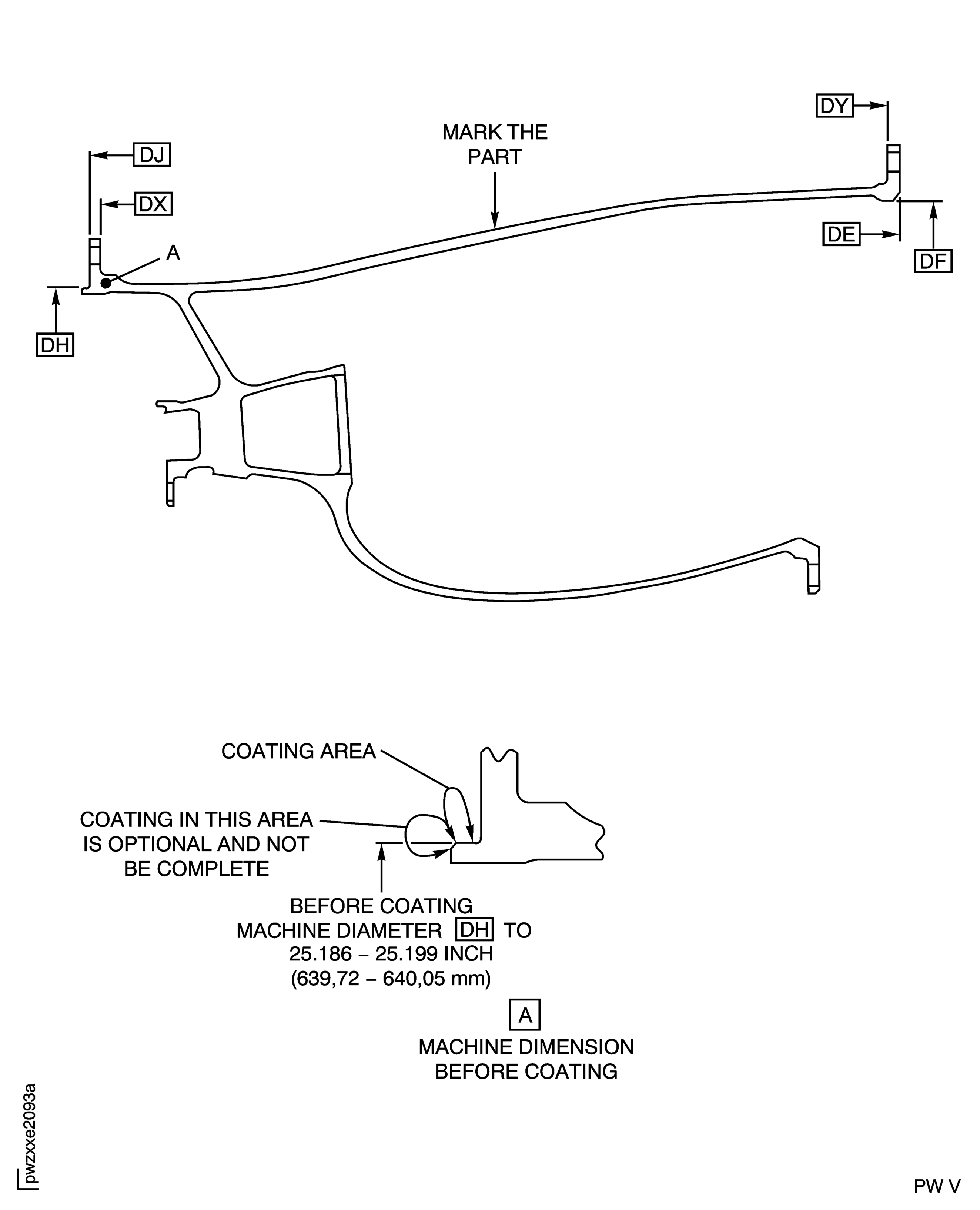
SUBTASK 72-42-11-320-052 Machine the Front Outside Diameter Before Coating
Refer to Figure.
Do the procedure given in the SPMTASK 70-34-03-340-501.
No coating is permitted on the face of the flange.
Mask all the areas that are not to be plasma spray coated.
SUBTASK 72-42-11-350-057 Mask all the Areas that are not to be Plasma Spray Coated
Refer to Figure.
Do the procedure given in the SPM TASK 70-34-03-340-501.
Grit blast the front inside seal diameter.
SUBTASK 72-42-11-380-051 Grit Blast the Front Outside Diameter
Refer to Figure.
Do the procedure given in the SPM TASK 70-34-03-340-501.
Apply a sufficient thickness of coating to get the final machining dimensions given in the figure.
Apply plasma spray coating to the front outside diameter.
SUBTASK 72-42-11-340-051 Apply Plasma Spray Coating to the Front Outside Diameter
Refer to: Figure
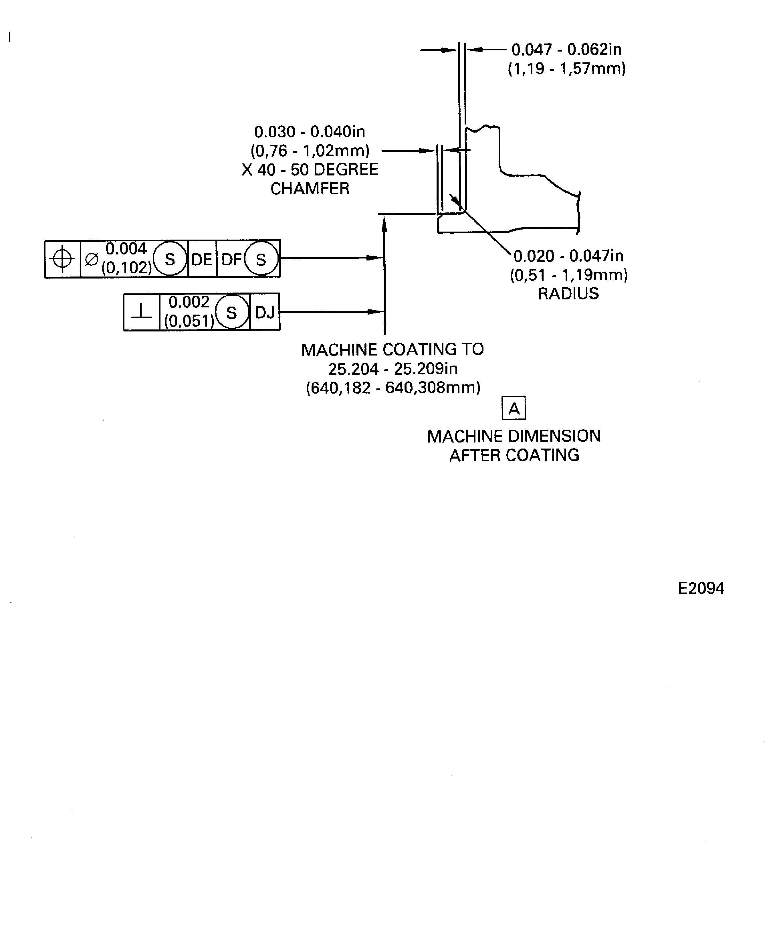
SUBTASK 72-42-11-350-058 Remove the Mask and the Overspray Coating
Refer to: Figure
All dimensions apply when surfaces DF and DE are flat in 0.005in. (0.127 mm) and diameters DH and DF maintain a clearance envelope of 25.210in. (640.334mm) and 28.226in. (716.94 mm) in a free or held condition. Held contact is permitted only on surfaces DJ, DX, DE, DY and diameters DH and DF.
In a free condition, surfaces DJ and DE are flat in 0.010in. (0.254 mm) and diameters DH and DF are between 25.174 and 25.239in. (639.42 and 641.07 mm) and 28.197 and 28.263in. (716.20 and 717.88 mm).
Machine the plasma spray coating to the dimensions given in the figure.
SUBTASK 72-42-11-320-053 Machine the Front Outside Diameter
Refer to: Figure
SUBTASK 72-42-11-220-067 Examine the Front Outside Diameter
Refer to: Figure
Mark the part by the procedures given in the SPM TASK 70-09-00-400-501.
Use the vibration peen method.
NOTE
If the VRS repair number is marked on the part, do not mark the repair number again.
Mark the repair number VRS3033 on the diffuser case adjacent to the part number.
SUBTASK 72-42-11-350-054 Mark the Part
Figure: Diffuser case front outside diameter repair areas
Diffuser case front outside diameter repair areas

Figure: Diffuser case front outside diameter repair areas
Diffuser case front outside diameter repair areas

