Export Control
EAR Export Classification: Not subject to the EAR per 15 C.F.R. Chapter 1, Part 734.3(b)(3), except for the following Service Bulletins which are currently published as EAR Export Classification 9E991: SBE70-0992, SBE72-0483, SBE72-0580, SBE72-0588, SBE72-0640, SBE73-0209, SBE80-0024 and SBE80-0025.Copyright
© IAE International Aero Engines AG (2001, 2014 - 2021) The information contained in this document is the property of © IAE International Aero Engines AG and may not be copied or used for any purpose other than that for which it is supplied without the express written authority of © IAE International Aero Engines AG. (This does not preclude use by engine and aircraft operators for normal instructional, maintenance or overhaul purposes.).Applicability
All
Common Information
TASK 72-42-20-200-119 No. 4 Bearing Compartment Cooling Air Tube-to-Boss Adapter - Examine, Inspection-019
General
This TASK gives the procedure for the inspection of the tube-to-boss adapter. For the other part of the No.4 bearing compartment tubes, refer to Inspection-000TASK 72-42-20-200-100.
Fig/item numbers in parentheses in the procedure agree with those used in the IPC.
The policy that is necessary for inspection is given in SPM TASK 70-20-00-200-501.
All the parts must be cleaned before any part is examined. Refer to SPM TASK 70-10-00-100-501.
All parts must be visually examined for damage, corrosion and wear. Any defects that are not identified in the procedure must be referred to IAE.
TThe procedure for those parts which must have a crack test is given in Step and Step. Do the test before the part is visually examined.
Do not discard any part until you are sure there are no repairs available. Refer to the instructions in Repair before a discarded part is used again or oversize parts are installed.
Parts which should be discarded can be held although no repair is available. The repair of a discarded part could be shown to be necessary at a later date.
All parts must be examined to make sure that all the repairs have been completed satisfactorily.
The practices and processes referred to in the procedure by the TASK numbers are in the SPM.
References
Refer to the SPM for data on these items.
Definitions of Damage, SPM TASK 70-02-02-350-501.
Inspection of Parts, SPM TASK 70-20-01-200-501.
Some data on these items are contained in this TASK. For more data on these items refer to the SPM:
Method of Testing for Crack Indications.
Chemical Processes
Surface Protection
Preliminary Requirements
Pre-Conditions
NONESupport Equipment
NONEConsumables, Materials and Expendables
NONESpares
NONESafety Requirements
NONEProcedure
Clean the part. Refer to Cleaning -000 TASK 72-42-20-100-100.
Reject
Cracked
Tube-to-boss adapter, Refer to SPM TASK 70-23-01-230-501.
Do the test for cracks on the part that is given below. Use the applicable penetrant inspection procedure.
SUBTASK 72-42-20-230-065-001 Examine the Tube-To-Boss Adapter (06-240) for Cracks
Clean the part. Refer to Cleaning -000 TASK 72-42-20-100-100.
Reject
Cracked
Tube-to-boss adapter, Refer to SPM TASK 70-23-02-230-501.
Do the test for cracks on the part that is given below. Use the applicable penetrant inspection procedures.
SUBTASK 72-42-20-230-065-002 Examine the Tube-to-Boss Adapter (06-240) for Cracks
Refer to Figure.
Reject
High metal
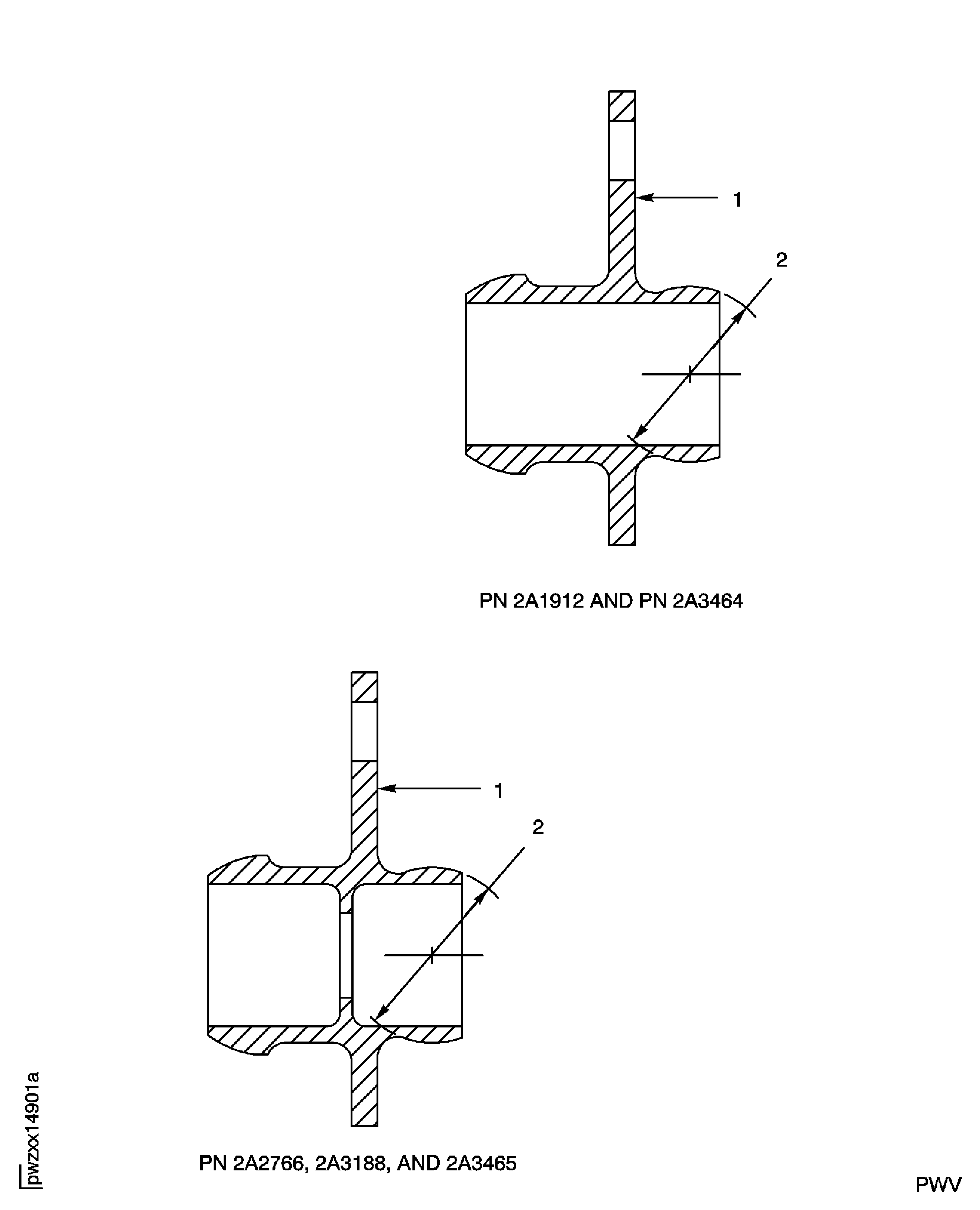
Examine the adapter at location 1 for high metal on the flange mating surface.
SUBTASK 72-42-20-220-077 Examine the Tube-To-Boss Adapter (06-240) for High Metal on the Flange Mating Surface
Refer to Figure.
Reject
High metal
Reject
Other than Step.
Diameter
Examine the adapter at location 2 for high metal and the diameter of the spherical end (Reference No.2089).
SUBTASK 72-42-20-220-078 P/N2A1912, P/N 2A2766 and P/N 2A3188 Only:Examine the Tube-To-Boss Adapter (06-240) for High Metal and the Diameter of the Spherical End
Refer to Figure.
Reject
High metal
Reject
Other than Step.
Diameter
Examine the adapter at location 2 for high metal and the diameter of the spherical end (Reference No.2089).
SUBTASK 72-42-20-220-126 P/N 2A3464 and P/N 2A3465 Only: Examine the Tube-To-Boss Adapter (06- 240) for High Metal and the Diameter of the Spherical End
Figure: Tube-To-Boss Adapter Inspection Locations
Tube-To-Boss Adapter Inspection Locations

