DMC:V2500-A0-72-44-1001-00A-933A-CIssue No:001.00Issue Date:2013-11-01
Export Control
EAR Export Classification: Not subject to the EAR per 15 C.F.R. Chapter 1, Part 734.3(b)(3), except for the following Service Bulletins which are currently published as EAR Export Classification 9E991: SBE70-0992, SBE72-0483, SBE72-0580, SBE72-0588, SBE72-0640, SBE73-0209, SBE80-0024 and SBE80-0025.Copyright
© IAE International Aero Engines AG (2001, 2014 - 2021) The information contained in this document is the property of © IAE International Aero Engines AG and may not be copied or used for any purpose other than that for which it is supplied without the express written authority of © IAE International Aero Engines AG. (This does not preclude use by engine and aircraft operators for normal instructional, maintenance or overhaul purposes.).Applicability
Pre SBE 72-0147
Common Information
TASK 72-44-10-840-002 HPT Stage 1 Support Assembly - Rework To Provide A New Support Assembly, Rework-002 - SBE 72-0147
General
The practices and processes referred to in the procedure by the TASK number are in the SPM.
Refer to the indicated Service Bulletin for specific application requirements.
Preliminary Requirements
Pre-Conditions
NONESupport Equipment
NONEConsumables, Materials and Expendables
| Name | Manufacturer | Part Number / Identification | Quantity | Remark |
|---|---|---|---|---|
| CoMat 03-077 METAL SPRAYING POWDERNI-CR ALLOY | IE426 | CoMat 03-077 |
Spares
NONESafety Requirements
NONEProcedure
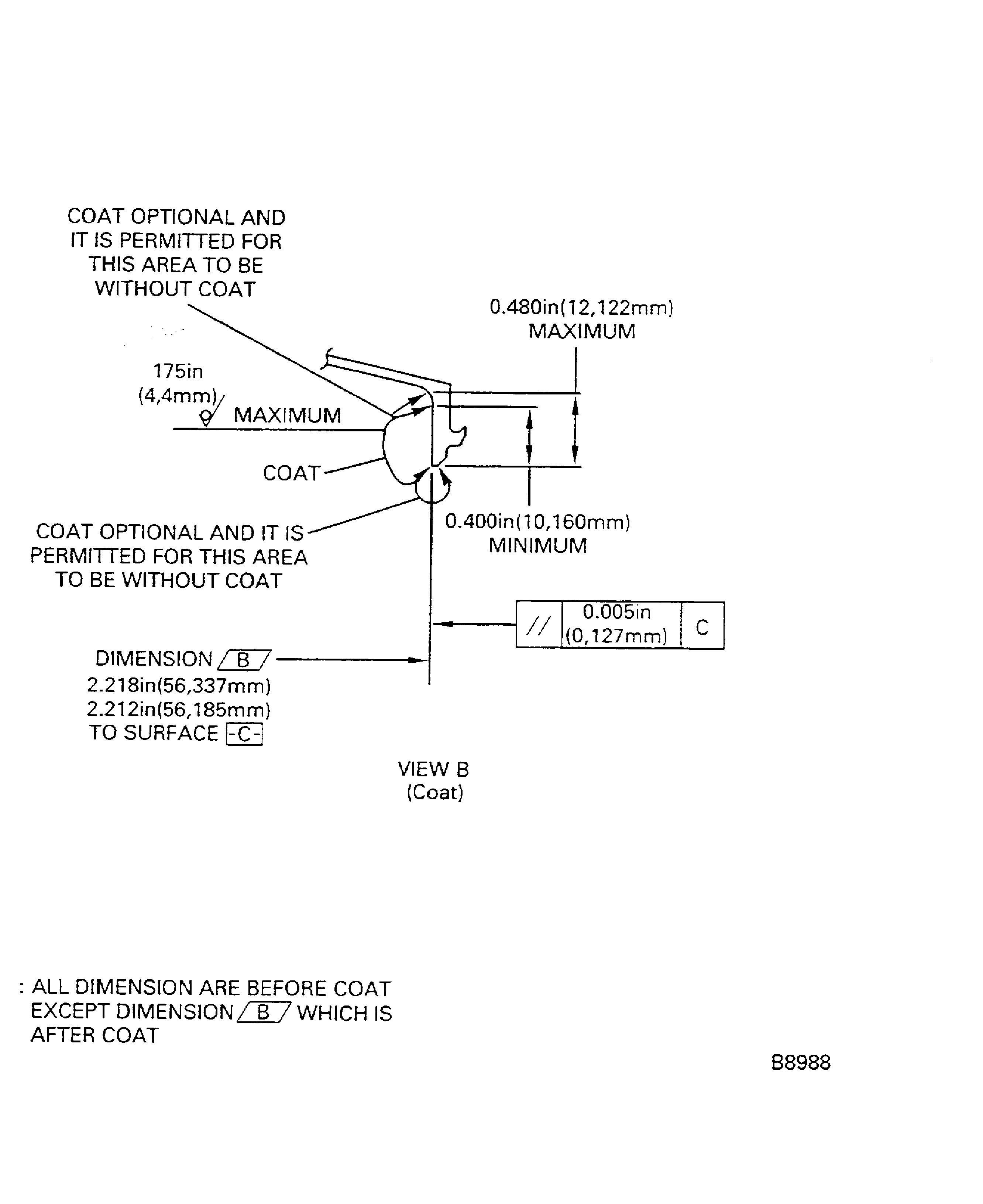
Refer to Figure.
Set up and machine the support assembly to remove the middle support rail and prepare the front face of the rear flange for coat.
SUBTASK 72-44-10-320-059 Machine the Stage 1 HPT Support Assembly
Keep to the dimensions given in Figure.
Refer to the SPM TASK 70-34-03-340-501.
Coat the front face of the rear flange. Use CoMat 03-077 METAL SPRAYING POWDERNI-CR ALLOY.
SUBTASK 72-44-10-340-056 Plasma Coat the Stage 1 HPT Support Assembly
NEW NUMBER - 2A2703.
Refer to Figure and the SPM TASK 70-09-00-400-501.
NUMBER BEFORE - 2A1664.
Mark the new part number adjacent to the existing part number. Use the vibration peen method.
SUBTASK 72-44-10-350-060 Identify the Stage 1 HPT Support Assembly with the New Part Number
Figure: Rework of the stage 1 HPT support assembly
Rework of the stage 1 HPT support assembly

Figure: Rework of the stage 1 HPT support assembly
Rework of the stage 1 HPT support assembly

