Export Control
EAR Export Classification: Not subject to the EAR per 15 C.F.R. Chapter 1, Part 734.3(b)(3), except for the following Service Bulletins which are currently published as EAR Export Classification 9E991: SBE70-0992, SBE72-0483, SBE72-0580, SBE72-0588, SBE72-0640, SBE73-0209, SBE80-0024 and SBE80-0025.Copyright
© IAE International Aero Engines AG (2001, 2014 - 2021) The information contained in this document is the property of © IAE International Aero Engines AG and may not be copied or used for any purpose other than that for which it is supplied without the express written authority of © IAE International Aero Engines AG. (This does not preclude use by engine and aircraft operators for normal instructional, maintenance or overhaul purposes.).Applicability
All
Common Information
TASK 72-45-22-200-001-C00 HPT Stage 1 Duct Support Segment - Examine, Inspection-001
General
This TASK gives the procedure for the inspection of the Stage 1 HPT duct support.
Fig/item numbers in parentheses in the procedure agree with those used in the IPC.
The policy that is necessary for inspection is given in the SPM TASK 70-20-00-200-501.
All the parts must be cleaned before any part is examined. Refer to the SPM TASK 70-10-00-100-501.
All parts must be visually examined for damage, corrosion and wear. Any defects that are not identified in the procedure must be referred to IAE.
The procedure for those parts which must have a crack test is given in SUBTASK 72-45-22-230-053. Do the test before the part is visually examined.
Do not discard any part until you are sure there are no repairs available. Refer to the instructions in Repair before a discarded part is used again or oversize parts are installed.
Parts which should be discarded can be held although no repair is available. The repair of a discarded part could be shown to be necessary at a later date.
All parts must be examined to make sure that all the repairs have been completed satisfactorily.
The practices and processes referred to in the procedure by the TASK numbers are in the SPM.
References
Refer to the SPM for data on these items.
Definitions of Damage, SPM TASK 70-02-02-350-501
Inspection of Parts, SPM TASK 70-20-00-200-501
Some data on these items is contained in this TASK. For more data on these items refer to the SPM.
Method of Testing for Crack Indications
Chemical Processes
Surface Protection
Preliminary Requirements
Pre-Conditions
NONESupport Equipment
NONEConsumables, Materials and Expendables
NONESpares
NONESafety Requirements
NONEProcedure
Clean the part. Refer to TASK 72-45-22-100-000.
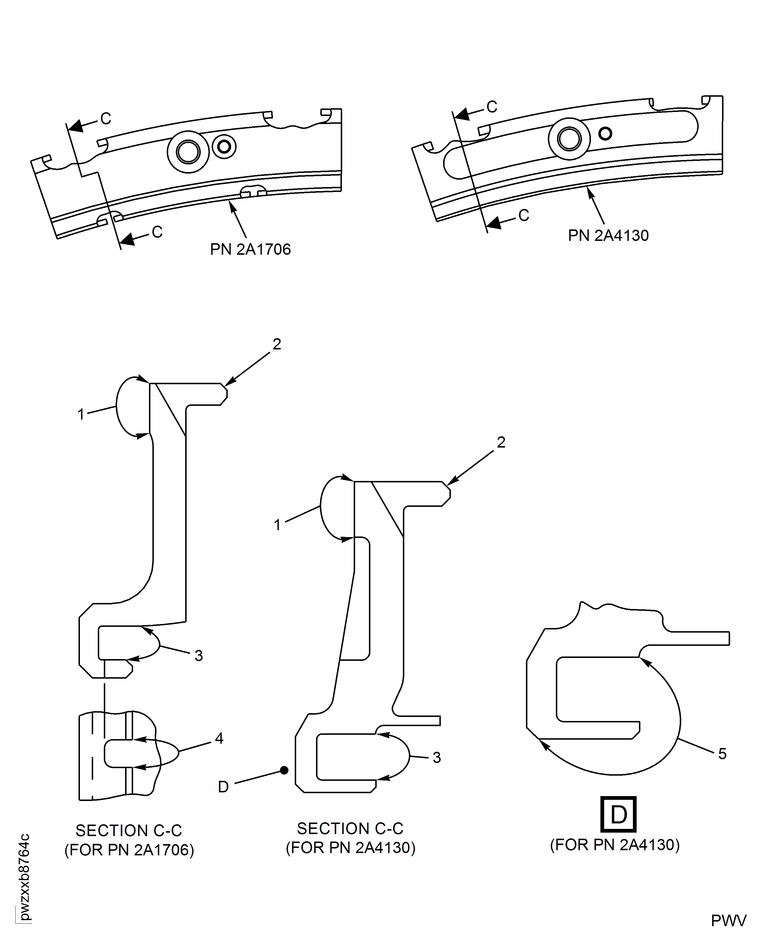
SUBTASK 72-45-22-230-053-001 Examine the Stage 1 HPT Duct Support (01-010) for Cracks
Refer to Figure.
For PN 2A1706: Repair, VRS3213 TASK 72-45-22-300-003 (REPAIR-003), For PN 2A4130: Repair, VRS3764 TASK 72-45-22-300-005 (REPAIR-005).
Other than Step.
Wear.
For PN 2A1706: Repair, VRS3213 TASK 72-45-22-300-003 (REPAIR-003), For PN 2A4130: Repair, VRS3764 TASK 72-45-22-300-005 (REPAIR-005).
Other than Step.
Chipped or flaked.
Examine the Stage 1 HPT duct support contact area, Location 1, for wear, chipped and flaked plasma spray coating.
SUBTASK 72-45-22-220-070 Examine the Stage 1 HPT Duct Support (01-010) Contact Area for Wear, Chipped and Missing Plasma Spray Coating
Refer to Figure.
NOTE
Contact wear is minimum wear that is even along the full surface and is equally applied. There must be no areas with more than minimum wear.Other than Step.
Contact wear.
Examine the Stage 1 HPT duct support outer diameter hook, Location 2, for contact wear.
SUBTASK 72-45-22-220-071 Examine the Stage 1 HPT Duct Support (01-010) Outer Diameter Hook for Contact Wear
Refer to Figure.
NOTE
Contact wear is minimum wear that is even along the full surface and is equally applied. There must be no areas with more than minimum wear.Other than Step.
Contact wear at Location 3.
For PN 2A4130: Repair, VRS3821 TASK 72-45-22-300-006 (REPAIR-001).
Damage that falls within the repairable limits of VRS3821 TASK 72-45-22-300-006 (REPAIR-001).
Reject.
Damage that falls outside of the repairable limits of VRS3821 TASK 72-45-22-300-006 (REPAIR-001).
Damage within the groove at Location 5.
Examine the Stage 1 HPT duct segment inner diameter groove and rail for wear.
SUBTASK 72-45-22-220-072 Examine the Stage 1 HPT Duct Support (01-010) Inner Diameter Groove
Refer to Figure.
NOTE
Contact wear is minimum wear that is even along the full surface and is equally applied. There must be no areas with more than minimum wear.Other than Step.
Contact wear.
Examine the Stage 1 HPT duct support anti rotation slots, Location 4, for contact wear.
SUBTASK 72-45-22-220-073 Examine the Stage 1 HPT Duct Support (01-010) Anti Rotation Slot for Contact Wear
Figure: Stage 1 HPT Duct Support Inspection Locations
Stage 1 HPT Duct Support Inspection Locations

