Export Control
EAR Export Classification: Not subject to the EAR per 15 C.F.R. Chapter 1, Part 734.3(b)(3), except for the following Service Bulletins which are currently published as EAR Export Classification 9E991: SBE70-0992, SBE72-0483, SBE72-0580, SBE72-0588, SBE72-0640, SBE73-0209, SBE80-0024 and SBE80-0025.Copyright
© IAE International Aero Engines AG (2001, 2014 - 2021) The information contained in this document is the property of © IAE International Aero Engines AG and may not be copied or used for any purpose other than that for which it is supplied without the express written authority of © IAE International Aero Engines AG. (This does not preclude use by engine and aircraft operators for normal instructional, maintenance or overhaul purposes.).Applicability
All
Common Information
TASK 72-45-22-300-003 HPT Stage 1 Duct Support Segment - Plasma Spray The Front Face Of One Segment Or The Set, Repair-003 (VRS3213)
General
This repair can be used to repair the plasma spray coating on the front face of the complete stage 1 duct support set or a detail duct segment of the set.
The practices and processes referred to in the procedure by TASK number are in the SPM.
Price and availability - none
Preliminary Requirements
Pre-Conditions
NONESupport Equipment
| Name | Manufacturer | Part Number / Identification | Quantity | Remark |
|---|---|---|---|---|
| Abrasive blast equipment | LOCAL | Abrasive blast equipment | ||
| Portablegrinding equipment | LOCAL | Portable grinding equipment | ||
| Machining equipment | LOCAL | Machining equipment | ||
| Plasma spray equipment | LOCAL | Plasma spray equipment | ||
| Workshop inspection equipment | LOCAL | Workshop inspection equipment | ||
| IAE 3P16273 Grind fixture | 0AM53 | IAE 3P16273 | 1 |
Consumables, Materials and Expendables
| Name | Manufacturer | Part Number / Identification | Quantity | Remark |
|---|---|---|---|---|
| CoMat 02-047 TAPE, HEAT REFLECTIVE | 52152 | CoMat 02-047 | ||
| CoMat 02-048 TAPE, HEAT REFLECTIVE | 0AM53 | CoMat 02-048 | ||
| CoMat 02-049 TAPE, HEAT REFLECTIVE | 0AM53 | CoMat 02-049 | ||
| CoMat 02-051 HIGH TEMPERATURE GLASS CLOTH TAPE | 0AM53 | CoMat 02-051 | ||
| CoMat 02-052 HIGH TEMPERATURE GLASS CLOTH TAPE | 0AM53 | CoMat 02-052 | ||
| CoMat 02-053 HIGH TEMPERATURE GLASS CLOTH TAPE | 0AM53 | CoMat 02-053 | ||
| CoMat 03-067 PLASMA SPRAY POWDER | LOCAL | CoMat 03-067 | ||
| CoMat 05-035 ALUMINUM OXIDE ABRASIVE | 62596 | CoMat 05-035 | ||
| CoMat 05-036 DELETED | 0AM53 | CoMat 05-036 | ||
| CoMat 05-037 DELETED | 0AM53 | CoMat 05-037 |
Spares
NONESafety Requirements
NONEProcedure
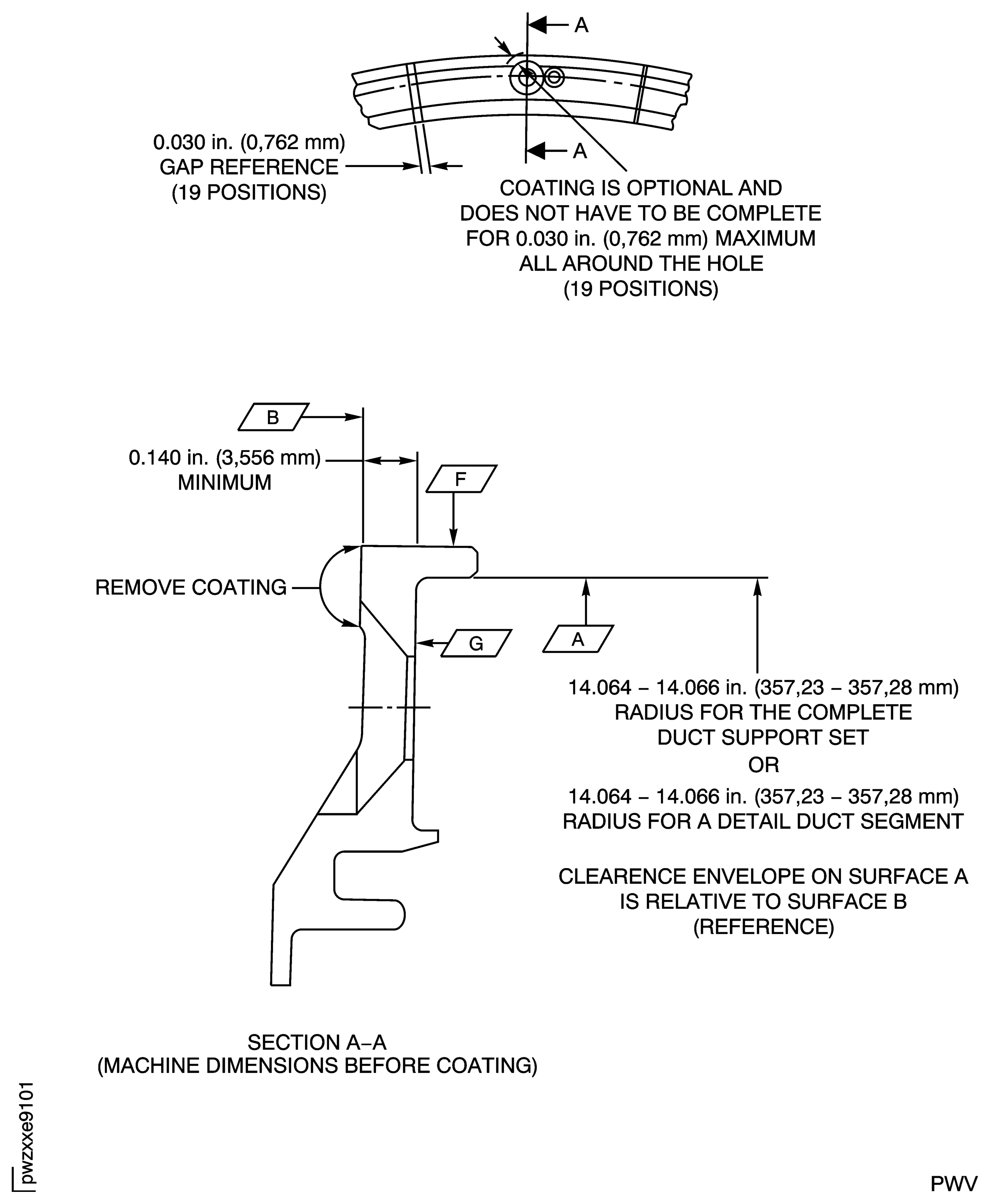
Refer to: Figure
Mask all the areas not to be coated.
Use CoMat 02-047 TAPE, HEAT REFLECTIVE, CoMat 02-048 TAPE, HEAT REFLECTIVE, CoMat 02-049 TAPE, HEAT REFLECTIVE, CoMat 02-051 HIGH TEMPERATURE GLASS CLOTH TAPE, CoMat 02-052 HIGH TEMPERATURE GLASS CLOTH TAPE, or CoMat 02-053 HIGH TEMPERATURE GLASS CLOTH TAPE.
Grinding is permitted.
Use the IAE 3P16273 Grind fixture 1 off.
NOTE
All coating is removed when the surface is fully shiny.For a detail duct support segment, all dimensions apply when Surface G is flat by 0.002in. (0.051 mm) and the 14.064 to 14.066in. (357.23 to 357.28 mm). Radius A is in the limits given in a free or held condition. Hold the segment on Surfaces B and G and Radius A.For the complete duct support set, all dimensions apply when Surface G is flat by 0.002in. (0.051 mm) and the 14.064in. (357.23 mm) radius is in the limits given in a free or held condition. Hold the segment on Surfaces A, B, F and G.
Set-up and machine the front face on Surface B to remove all the coating. Hold to the maximum dimension.
SUBTASK 72-45-22-350-053-001 Remove the Coating from the Front Face by Machining
Refer to: Figure
Mask all the areas not to be coated.
Use CoMat 02-047 TAPE, HEAT REFLECTIVE, CoMat 02-048 TAPE, HEAT REFLECTIVE, CoMat 02-049 TAPE, HEAT REFLECTIVE, CoMat 02-051 HIGH TEMPERATURE GLASS CLOTH TAPE, CoMat 02-052 HIGH TEMPERATURE GLASS CLOTH TAPE, or CoMat 02-053 HIGH TEMPERATURE GLASS CLOTH TAPE.
Strip the coating by the procedure given in the SPM TASK 70-33-79-300-503.
All coating must be removed.
NOTE
All coating is removed when the surface is fully shiny.
Strip to remove the coating from the front face on Surface B.
SUBTASK 72-45-22-350-053-002 Remove the Coating from the Front Face by Stripping
Refer to: Figure
Mask all the areas not to be coated.
Use CoMat 02-047 TAPE, HEAT REFLECTIVE, CoMat 02-048 TAPE, HEAT REFLECTIVE, CoMat 02-049 TAPE, HEAT REFLECTIVE, CoMat 02-051 HIGH TEMPERATURE GLASS CLOTH TAPE, CoMat 02-052 HIGH TEMPERATURE GLASS CLOTH TAPE, or CoMat 02-053 HIGH TEMPERATURE GLASS CLOTH TAPE.
Grit blast to remove the coating by the procedure given in the SPM TASK 70-12-09-120-501.
All coating must be removed.
NOTE
All coating is removed when the surface is fully shiny.
Grit blast to remove the coating from the front face on Surface B.
SUBTASK 72-45-22-350-053-003 Remove the Coating from the Front Face by Grit Blasting
Refer to: Figure
SUBTASK 72-45-22-220-060 Examine the Repair Area before Coating
Refer to: Figure
SUBTASK 72-45-22-220-061 Examine the Detail Duct Segments (that are not Repaired) that are Adjacent to the Repaired Detail Duct Segment
Refer to: Figure
Make sure the masking tape is still applied in all the areas not to be coated.
Grit blast to clean the front face by the procedure given in the SPM TASK 70-12-09-120-501.
Grit blast the front face on Surface B.
SUBTASK 72-45-22-350-056 Grit Blast the Front Face before Coating
Refer to: Figure
Make sure the masking tape is still applied in all the areas not to be coated.
Apply the plasma spray to a sufficient thickness which will permit the final machining of the dimensions given in the figure.
No overspray is permitted in the holes or out of the area not to be coated.
Do the procedure given in the SPM TASK 70-34-03-340-501.
Plasma spray the front face.
SUBTASK 72-45-22-340-052 Plasma Spray Coat the Front Face
Refer to: Figure
Use the IAE 3P16273 Grind fixture 1 off.
Number of the duct segment is located on Surface E.
NOTE
Do this step only if the repair is on the full duct support set.
Put the duct support set segments in numerical order.
The finished plasma spray thickness must be a minimum of 0.002in. (0.051 mm).
Grinding is permitted.
NOTE
For a detail duct support segment, all dimensions apply when Surface G is flat by 0.002in. (0.051 mm) and the 14.064 to 14.066in. (357.23 to 357.28 mm) Radius A is in the limits given in a free or held condition. Hold the segment on Surfaces B and G and Radius A.For the complete duct support set, all dimensions apply when Surface G is flat by 0.002in. (0.051 mm) and the 14.064in. (357.23 mm) radius is in the limits given in a free or held condition. Hold the segment on Surfaces A, B, F and G.
Set-up and finish machine the front face of the complete duct support set or detail duct segment to the dimensions given in the applicable figure.
SUBTASK 72-45-22-320-053 Finish Machine the Front Face after Plasma Spray
Refer to: Figure
SUBTASK 72-45-22-220-062 Examine the Repair
Refer to: Figure
Make a permanent mark by the procedures given in the SPM TASK 70-09-00-400-501.
Use the vibration peen method.
NOTE
If VRS3213 is marked on the part, it is not necessary to mark the part.
Mark VRS3213 on the repaired duct segments adjacent to the part number on Surface E.
SUBTASK 72-45-22-350-057 Identify the Repair
Figure: Repair Details and Dimensions
Sheet 1

Figure: Repair Details and Dimensions
Sheet 2

Figure: Repair Details and Dimensions
Sheet 3

Figure: Repair Details and Dimensions
Sheet 4

