DMC:V2500-A0-72-45-2401-01A-627A-CIssue No:002.00Issue Date:2018-08-01
Export Control
EAR Export Classification: Not subject to the EAR per 15 C.F.R. Chapter 1, Part 734.3(b)(3), except for the following Service Bulletins which are currently published as EAR Export Classification 9E991: SBE70-0992, SBE72-0483, SBE72-0580, SBE72-0588, SBE72-0640, SBE73-0209, SBE80-0024 and SBE80-0025.Copyright
© IAE International Aero Engines AG (2001, 2014 - 2021) The information contained in this document is the property of © IAE International Aero Engines AG and may not be copied or used for any purpose other than that for which it is supplied without the express written authority of © IAE International Aero Engines AG. (This does not preclude use by engine and aircraft operators for normal instructional, maintenance or overhaul purposes.).Applicability
All
Common Information
TASK 72-45-24-300-014 HPT Stage 2 Ring Segment And Vane Cluster - Weld Repair The Rivet Hole In The Ring Segment, Repair-014 (VRS3321)
General
The practices and processes referred to in the procedure by TASK number are in the SPM.
Price and availability - none
Preliminary Requirements
Pre-Conditions
NONESupport Equipment
| Name | Manufacturer | Part Number / Identification | Quantity | Remark |
|---|---|---|---|---|
| Welding equipment | LOCAL | Welding equipment | ||
| Chill plate | LOCAL | Chill plate | ||
| Grinding equipment | LOCAL | Grinding equipment | ||
| Workshop inspection equipment | LOCAL | Workshop inspection equipment |
Consumables, Materials and Expendables
| Name | Manufacturer | Part Number / Identification | Quantity | Remark |
|---|---|---|---|---|
| CoMat 03-197 WELDING FILLER WIRE | LOCAL | CoMat 03-197 |
Spares
NONESafety Requirements
NONEProcedure
Use a chill plate to keep the distortion to a minimum.
No stress relief is necessary.
Refer to SPM TASK 70-31-13-310-501.
Plug weld the oversize rivet holes.
SUBTASK 72-45-24-310-051 Weld Repair the Oversize Rivet Holes
Blend or machine the repair flush with the adjacent surfaces that were not welded.
NOTE
The replacement rivet holes will be transferred drilled with the vanes in Repair 007, VRS3221 TASK 72-45-24-300-007 (REPAIR-007).
SUBTASK 72-45-24-350-054 Blend or Machine the Weld Repair
Refer to SPM TASK 70-23-01-230-501 or SPM TASK 70-23-02-230-501 (dip or spray).
NOTE
You can do the crack test by FPI after you do the visual inspection.
Do a penetrant crack test.
SUBTASK 72-45-24-230-054 Do a Crack Test
Make a permanent mark by the procedures given in SPM TASK 70-09-00-400-501.
Mark VRS3321 adjacent to the part number. Use the vibration pen method.
SUBTASK 72-45-24-350-055 Identify the Repair
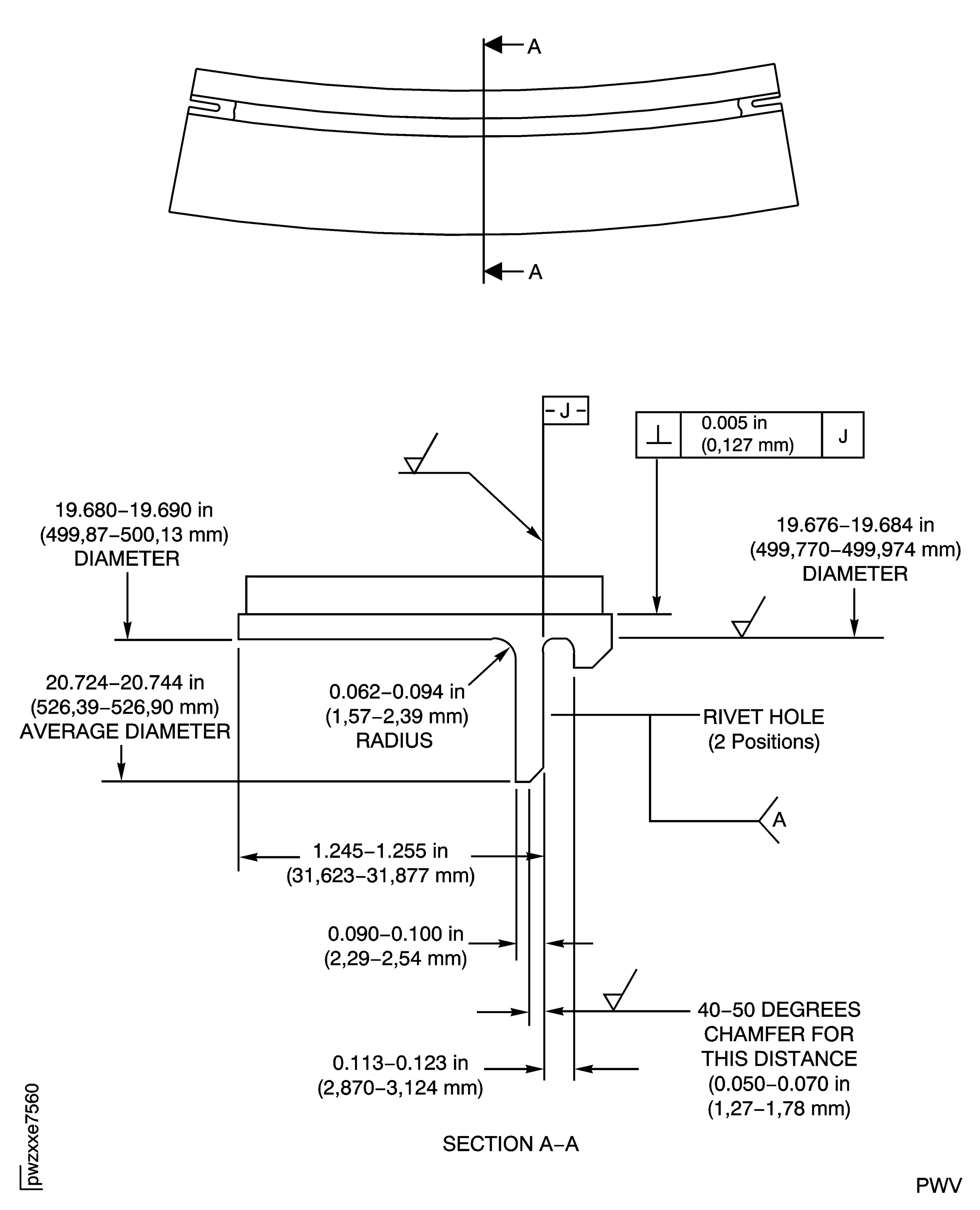
Figure: Repair Details and Dimensions (2A008-01)
Repair Details and Dimensions (2A008-01)

Figure: Repair Details and Dimensions (2A1106-01 and 2A3431-01)
Repair Details and Dimensions (2A1106-01 and 2A3431-01)

