Export Control
EAR Export Classification: Not subject to the EAR per 15 C.F.R. Chapter 1, Part 734.3(b)(3), except for the following Service Bulletins which are currently published as EAR Export Classification 9E991: SBE70-0992, SBE72-0483, SBE72-0580, SBE72-0588, SBE72-0640, SBE73-0209, SBE80-0024 and SBE80-0025.Copyright
© IAE International Aero Engines AG (2001, 2014 - 2021) The information contained in this document is the property of © IAE International Aero Engines AG and may not be copied or used for any purpose other than that for which it is supplied without the express written authority of © IAE International Aero Engines AG. (This does not preclude use by engine and aircraft operators for normal instructional, maintenance or overhaul purposes.).Applicability
All
Common Information
TASK 72-45-24-300-009 HPT Stage 2 Ring Segment And Vane Cluster - Replace The Seals And Loose Rivets, Repair-009 (VRS3319)
Effectivity
FIG/ITEM | PART NO. |
|---|---|
02-050 | 2A4462 |
02-070 | 2A0172CL21 |
02-071 | 2A0172CL22 |
02-072 | 2A0172CL23 |
02-073 | 2A0172CL24 |
02-074 | 2A0172CL25 |
02-075 | 2A0172CL26 |
02-076 | 2A0172CL27 |
02-077 | 2A0172CL28 |
02-078 | 2A0172CL29 |
02-079 | 2A0172CL30 |
02-080 | 2A0172CL31 |
02-081 | 2A0172CL32 |
02-082 | 2A0172CL33 |
02-083 | 2A0172CL34 |
02-084 | 2A0172CL35 |
02-087 | 2A0172CL38 |
02-088 | 2A0172CL39 |
02-089 | 2A0172CL40 |
02-090 | 2A0172CL41 |
02-093 | 2A0172CL36 |
02-094 | 2A0172CL36-5 |
02-095 | 2A0172CL37 |
02-096 | 2A0172CL37-5 |
02-260 | 2A4562 |
02-270 | 2A1072CL21 |
02-271 | 2A1072CL22 |
02-272 | 2A1072CL23 |
02-273 | 2A1072CL24 |
02-274 | 2A1072CL25 |
02-275 | 2A1072CL26 |
02-276 | 2A1072CL27 |
02-277 | 2A1072CL28 |
02-278 | 2A1072CL29 |
02-279 | 2A1072CL30 |
02-280 | 2A1072CL31 |
02-281 | 2A1072CL32 |
02-282 | 2A1072CL33 |
02-283 | 2A1072CL34 |
02-284 | 2A1072CL35 |
02-287 | 2A1072CL38 |
02-288 | 2A1072CL39 |
02-289 | 2A1072CL40 |
02-290 | 2A1072CL41 |
02-293 | 2A1072CL36 |
02-294 | 2A1072CL36-5 |
02-295 | 2A1072CL37 |
02-296 | 2A1072CL37-5 |
02-070 | 2A2072CL21 |
02-071 | 2A2072CL22 |
02-072 | 2A2072CL23 |
02-073 | 2A2072CL24 |
02-074 | 2A2072CL25 |
02-075 | 2A2072CL26 |
02-076 | 2A2072CL27 |
02-077 | 2A2072CL28 |
02-078 | 2A2072CL29 |
02-079 | 2A2072CL30 |
02-080 | 2A2072CL31 |
02-081 | 2A2072CL32 |
02-082 | 2A2072CL33 |
02-083 | 2A2072CL34 |
02-084 | 2A2072CL35 |
02-087 | 2A2072CL38 |
02-088 | 2A2072CL39 |
02-089 | 2A2072CL40 |
02-090 | 2A2072CL41 |
02-093 | 2A2072CL36 |
02-094 | 2A2072CL36-5 |
02-095 | 2A2072CL37 |
02-096 | 2A2072CL37-5 |
02-270 | 2A2172CL21 |
02-271 | 2A2172CL22 |
02-272 | 2A2172CL23 |
02-273 | 2A2172CL24 |
02-274 | 2A2172CL25 |
02-275 | 2A2172CL26 |
02-276 | 2A2172CL27 |
02-277 | 2A2172CL28 |
02-278 | 2A2172CL29 |
02-279 | 2A2172CL30 |
02-280 | 2A2172CL31 |
02-281 | 2A2172CL32 |
02-282 | 2A2172CL33 |
02-283 | 2A2172CL34 |
02-284 | 2A2172CL35 |
02-287 | 2A2172CL38 |
02-288 | 2A2172CL39 |
02-289 | 2A2172CL40 |
02-290 | 2A2172CL41 |
02-293 | 2A2172CL36 |
02-294 | 2A2172CL36-5 |
02-295 | 2A2172CL37 |
02-296 | 2A2172CL37-5 |
02-070 | 2A2772CL21 |
02-071 | 2A2772CL22 |
02-072 | 2A2772CL23 |
02-073 | 2A2772CL24 |
02-074 | 2A2772CL25 |
02-075 | 2A2772CL26 |
02-076 | 2A2772CL27 |
02-077 | 2A2772CL28 |
02-078 | 2A2772CL29 |
02-079 | 2A2772CL30 |
02-080 | 2A2772CL31 |
02-081 | 2A2772CL32 |
02-082 | 2A2772CL33 |
02-083 | 2A2772CL34 |
02-084 | 2A2772CL35 |
02-085 | 2A2772CL36 |
02-086 | 2A2772CL37 |
02-087 | 2A2772CL38 |
02-088 | 2A2772CL39 |
02-089 | 2A2772CL40 |
02-090 | 2A2772CL41 |
02-270 | 2A2872CL21 |
02-271 | 2A2872CL22 |
02-272 | 2A2872CL23 |
02-273 | 2A2872CL24 |
02-274 | 2A2872CL25 |
02-275 | 2A2872CL26 |
02-276 | 2A2872CL27 |
02-277 | 2A2872CL28 |
02-278 | 2A2872CL29 |
02-279 | 2A2872CL30 |
02-280 | 2A2872CL31 |
02-281 | 2A2872CL32 |
02-282 | 2A2872CL33 |
02-283 | 2A2872CL34 |
02-284 | 2A2872CL35 |
02-287 | 2A2872CL38 |
02-288 | 2A2872CL39 |
02-289 | 2A2872CL40 |
02-290 | 2A2872CL41 |
02-050 | 2A2272 |
02-050 | 2A2272-001 |
02-050 | 2A2272-002 |
02-050 | 2A2272-003 |
02-050 | 2A2272-004 |
02-050 | 2A2272-006 |
02-260 | 2A2372 |
02-260 | 2A2372-001 |
02-260 | 2A2372-002 |
02-260 | 2A2372-003 |
02-260 | 2A2372-004 |
02-260 | 2A2372-006 |
02-050 | 2A3372 |
02-050 | 2A3372-001 |
02-050 | 2A3812 |
02-050 | 2A4262 |
02-260 | 2A3472 |
02-260 | 2A3472-001 |
02-260 | 2A3822 |
02-260 | 2A4072 |
02-260 | 2A4162 |
02-260 | 2A3172 |
02-070 | 2A3272CL21 |
02-071 | 2A3272CL22 |
02-072 | 2A3272CL23 |
02-073 | 2A3272CL24 |
02-074 | 2A3272CL25 |
02-075 | 2A3272CL26 |
02-076 | 2A3272CL27 |
02-077 | 2A3272CL28 |
02-078 | 2A3272CL29 |
02-079 | 2A3272CL30 |
02-080 | 2A3272CL31 |
02-081 | 2A3272CL32 |
02-082 | 2A3272CL33 |
02-083 | 2A3272CL34 |
02-084 | 2A3272CL35 |
02-085 | 2A3272CL36 |
02-086 | 2A3272CL37 |
02-087 | 2A3272CL38 |
02-088 | 2A3272CL39 |
02-089 | 2A3272CL40 |
02-090 | 2A3272CL41 |
02-050 | 2A5102 |
02-260 | 2A5202 |
02-050 | 2A5502 |
02-050 | 2A5602 |
02-050 | 2A6102 |
General
The practices and processes referred to in the procedure by TASK number are in the SPM.
Price and availability - none
NOTE
NOTE
NOTE
Preliminary Requirements
Pre-Conditions
NONESupport Equipment
| Name | Manufacturer | Part Number / Identification | Quantity | Remark |
|---|---|---|---|---|
| Shimstock | LOCAL | Shimstock | ||
| Nylon strap | LOCAL | Strap, nylon | ||
| Drilling equipment | LOCAL | Drilling equipment | ||
| Riveting equipment | LOCAL | Riveting equipment | ||
| Workshop inspection equipment | LOCAL | Workshop inspection equipment | ||
| IAE 3P16216 Drill fixture | 0AM53 | IAE 3P16216 | 1 | |
| IAE 3P16396 Drill fixture | 0AM53 | IAE 3P16396 | 1 |
Consumables, Materials and Expendables
| Name | Manufacturer | Part Number / Identification | Quantity | Remark |
|---|---|---|---|---|
| CoMat 02-009 BEESWAX SUBSTITUTE | 0A341 | CoMat 02-009 | ||
| CoMat 06-110 PENCIL | LOCAL | CoMat 06-110 | ||
| CoMat 06-111 PENCIL | LOCAL | CoMat 06-111 |
Spares
| Name | Manufacturer | Part Number / Identification | Quantity | Remark |
|---|---|---|---|---|
| Rivet, solid universal | ST1219-160 | 2 | ||
| Stage 2 HPT seal | 2A0054 | AR | ||
| Stage 2 HPT seal | 2A0544 | AR | ||
| Stage 2 HPT seal | 2A0055 | AR | ||
| Stage 2 HPT seal | 2A2334 | AR | ||
| Stage 2 HPT seal assembly | 2A0056-01 | AR | ||
| Stage 2 HPT seal assembly | 2A2335-01 | AR |
Safety Requirements
NONEProcedure
Make a mark by the procedures given in the SPM TASK 70-09-00-400-501.
If necessary, mark the detail parts to make sure the same parts are assembled as a set.
Refer to Figure.
Install the vane cluster in the IAE 3P16216 Drill fixture 1 off.
Refer to Figure.
Remove the rivets and disassemble the vane cluster.
SUBTASK 72-45-24-350-061-001 (V2500-A1) Disassemble the Stage 2 HPT Segment and Vane Cluster
Refer to Figure and Figure. Make a mark by the procedures given in the SPM TASK 70-09-00-400-501. Use CoMat 06-110 PENCIL or CoMat 06-111 PENCIL.
If necessary, mark the detail parts to make sure the same parts are assembled as a set.
Refer to Figure.

CAUTION
DO NOT USE MASKING TAPE TO COVER THE CANNON HOLES. TAPE RESIDUE CAN CAUSE DAMAGE TO THE PART.Install a locally fabricated plug in the vane inner diameter cannon holes.
Refer to Figure.
Install the vane cluster in the IAE 3P16396 Drill fixture 1 off.
Refer to Figure.
Remove the rivets and disassemble the vane cluster.
SUBTASK 72-45-24-350-061-002 (V2500-A5) Disassemble the Stage 2 HPT Segment and Vane Cluster
Refer to TASK 72-45-24-200-000 (INSPECTION-000).
Examine the vane assemblies and ring segment assembly rivet holes.
SUBTASK 72-45-24-220-071 Examine the Vane Assemblies and Ring Segment Assembly Rivet Holes
Use the old seals if they are not bent, burned, cracked or worn.
Use CoMat 02-009 BEESWAX SUBSTITUTE to hold the seals in the vane seal grooves.
Install the seal assembly and seals in the seal grooves between the two vane assemblies.
Refer to Figure.

CAUTION
DO NOT USE MASKING TAPE OR WIRE TO HOLD VANE CLUSTER ASSEMBLY TOGETHER FOR ASSEMBLY. WIRE OR TAPE RESIDUE CAN CAUSE DAMAGE TO THE AIRFOIL.Install the ring segment assembly to the vane assemblies inner diameter. Hold the vane cluster together with a nylon strap.
Refer to Figure.
Examine Gaps N, P and Surface H.
Use the cold set rivet method.
Refer to SPM TASK 70-39-03-390-501.
Rivet the ring segment assembly to the vane assemblies.
SUBTASK 72-45-24-350-062-001 (V2500-A1) Assemble and Rivet the Vane Cluster
Refer to Figure.
Assemble the ring segment assembly to the right vane assembly inner diameter.
Refer to Figure.
Install the rivet.
Refer to Figure. Use the cold set rivet method. Refer to the SPM TASK 70-39-03-390-501.
Rivet the ring segment assembly to the right vane.
Refer to Figure.
Assemble the left vane to the right vane and seal assembly.
Refer to Figure and Figure. Use CoMat 02-009 BEESWAX SUBSTITUTE to hold the seals in the vane seal grooves. Use the old seals if they are not bent, burned, cracked or worn.
Install the seals in the seal grooves between the two vane assemblies.
Refer to Figure.

CAUTION
DO NOT USE MASKING TAPE OR WIRE TO HOLD VANE CLUSTER ASSEMBLY TOGETHER FOR ASSEMBLY. WIRE OR TAPE RESIDUE CAN CAUSE DAMAGE TO THE AIRFOIL.Hold the vane cluster together with a nylon strap.
Refer to Figure.
Install the second rivet.
Refer to Figure.
Examine Gaps N and P and Surface H.
Use the cold set rivet method.
Refer to SPM TASK 70-39-03-390-501.
Refer to Figure.
Rivet the ring assembly to the left vane assembly.
SUBTASK 72-45-24-350-062-002 (V2500-A5) Assemble and Rivet the Vane Cluster
NOTE
It is not easy to get access to the rivets because of the ID forward flange of the vane. Thus, rivet the right vane first, then assemble and rivet the left vane. Refer to Figure.Use the procedure given in SPM TASK 70-39-03-390-501.
Inspect the installed rivets.
SUBTASK 72-45-24-220-072-001 (V2500-A1) Inspect the Rivets
Refer to Figure. Use the procedure given in SPM TASK 70-39-03-390-501.
Inspect the installed rivets.
SUBTASK 72-45-24-220-072-002 (V2500-A5) Inspect the Rivets
Refer to Figure.
Remove the two plugs from the vane cannon holes.
SUBTASK 72-45-24-350-063-002 (V2500-A5) Remove the Plugs
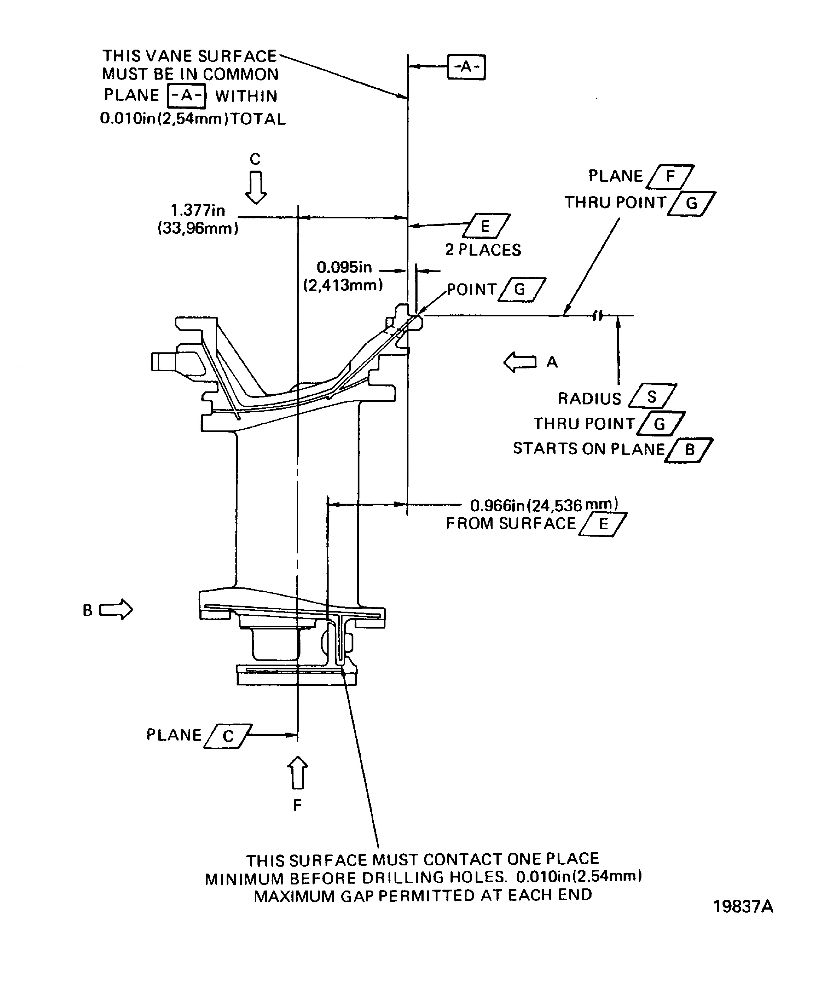
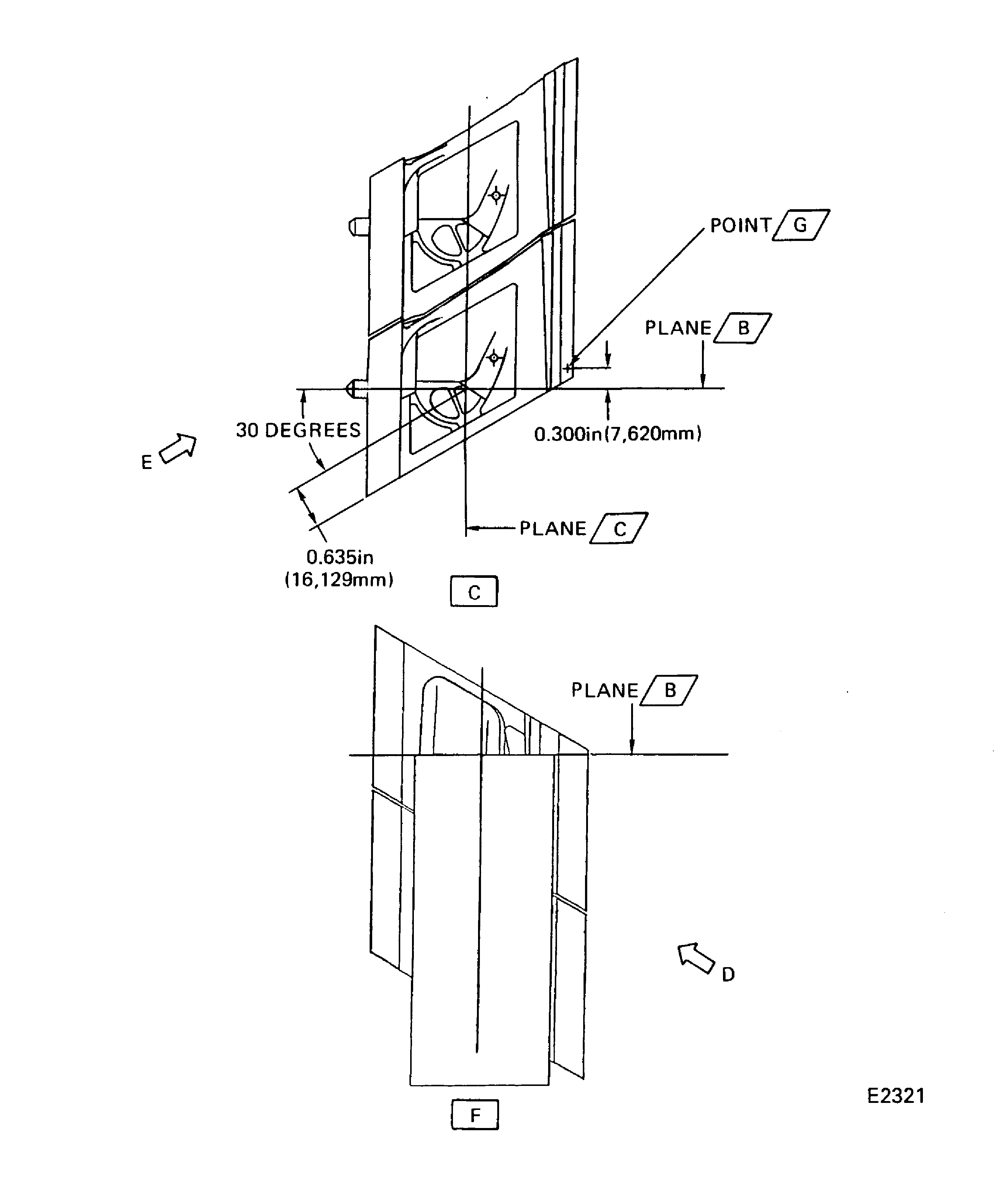
Figure: Repair Details and Dimensions
Sheet 1

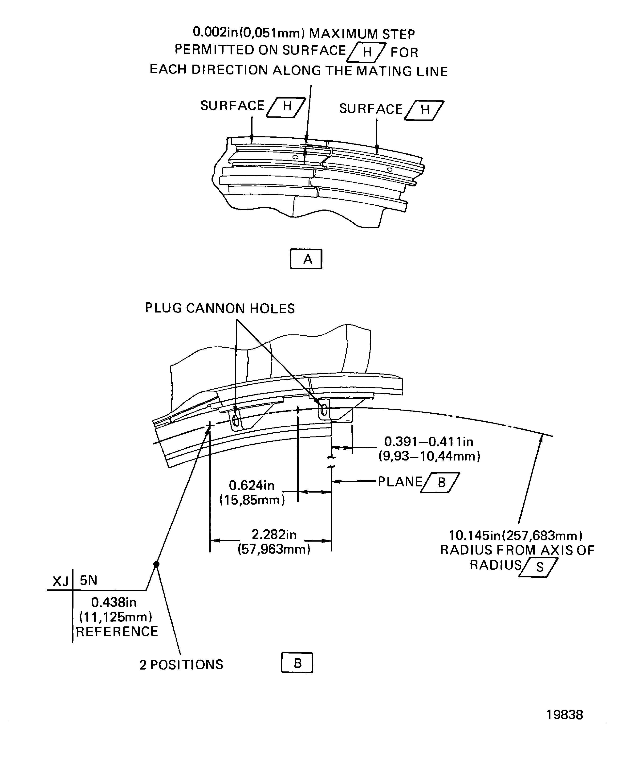
Figure: Repair Details and Dimensions
Sheet 2

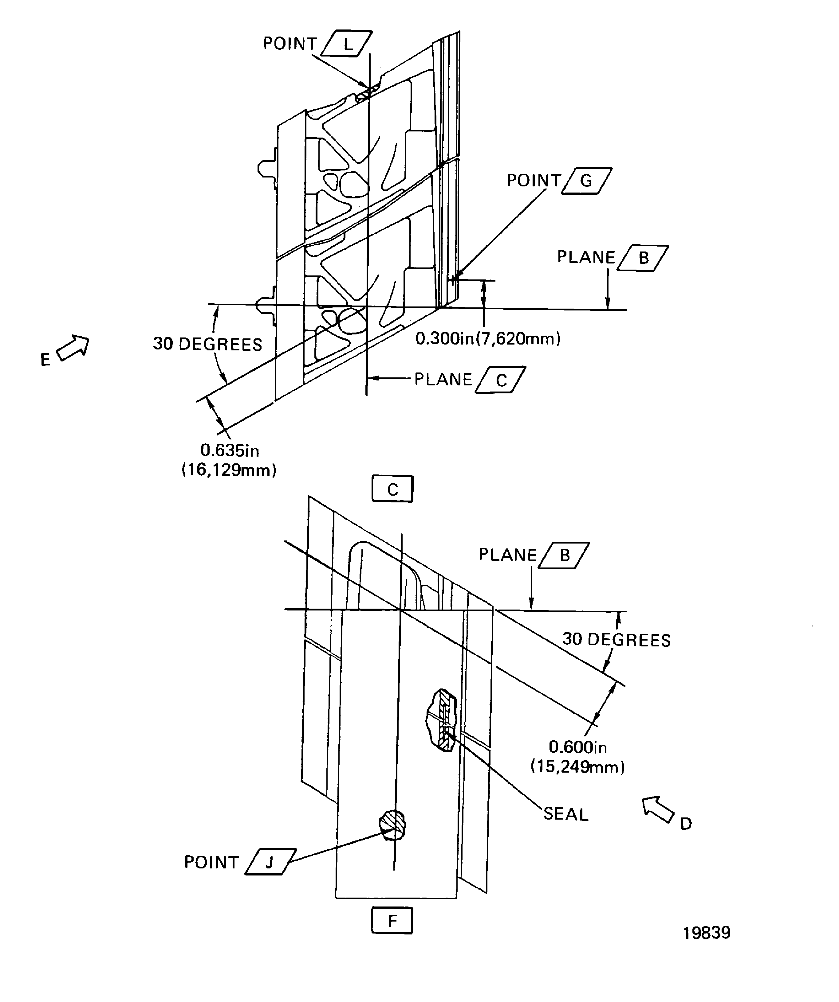
Figure: Repair Details and Dimensions
Sheet 1

Figure: Repair Details and Dimensions (PN 2A0172 and 2A1072)
Sheet 2

Figure: Repair Details and Dimensions (PN 2A2072, 2A2172, 2A3172, 2A3272, 2A2772 and 2A2872)
Sheet 3

Figure: Repair Details and Dimensions
Sheet 4

Figure: Repair Details and Dimensions
Sheet 5

Figure: Repair Details and Dimensions
Sheet 1

Figure: Repair Details and Dimensions
Sheet 2

Figure: Repair Details and Dimensions
Sheet 3

Figure: Repair Details and Dimensions
Sheet 4

Figure: Repair Details and Dimensions IAE 3P16216
Sheet 1

Figure: Repair Details and Dimensions IAE 3P16396
Sheet 2

