Export Control
EAR Export Classification: Not subject to the EAR per 15 C.F.R. Chapter 1, Part 734.3(b)(3), except for the following Service Bulletins which are currently published as EAR Export Classification 9E991: SBE70-0992, SBE72-0483, SBE72-0580, SBE72-0588, SBE72-0640, SBE73-0209, SBE80-0024 and SBE80-0025.Copyright
© IAE International Aero Engines AG (2001, 2014 - 2021) The information contained in this document is the property of © IAE International Aero Engines AG and may not be copied or used for any purpose other than that for which it is supplied without the express written authority of © IAE International Aero Engines AG. (This does not preclude use by engine and aircraft operators for normal instructional, maintenance or overhaul purposes.).Applicability
All
Common Information
TASK 72-45-24-300-029 HPT Stage 2 Ring Segment And Vane Cluster - Weld Repair Feather Seal Slot Damage, Repair-029 (VRS3681)
General
Price and availability - Refer to IAE.
The practices and processes referred to in the procedure by the TASK number are in the SPM.
Preliminary Requirements
Pre-Conditions
NONESupport Equipment
| Name | Manufacturer | Part Number / Identification | Quantity | Remark |
|---|---|---|---|---|
| Fusion welding equipment | LOCAL | Fusion welding equipment | ||
| Grinding equipment | LOCAL | Grinding equipment | ||
| Penetrant inspection equipment | LOCAL | Penetrant inspection equipment | ||
| Plasma spray equipment | LOCAL | Plasma spray equipment |
Consumables, Materials and Expendables
| Name | Manufacturer | Part Number / Identification | Quantity | Remark |
|---|---|---|---|---|
| CoMat 03-197 WELDING FILLER WIRE | LOCAL | CoMat 03-197 |
Spares
NONESafety Requirements
NONEProcedure
Refer to Repair, VRS3319 TASK 72-45-24-300-009 (REPAIR-009).
Disassemble the segment and vane cluster.
SUBTASK 72-45-24-350-101 Disassemble the Stage 2 HPT Segment and Vane Cluster
Refer to SPM TASK 70-12-09-120-501 or SPM TASK 70-12-02-120-501.
Grit blast worn flange area to be repaired.
SUBTASK 72-45-24-120-003 Grit Blast the Repair Area
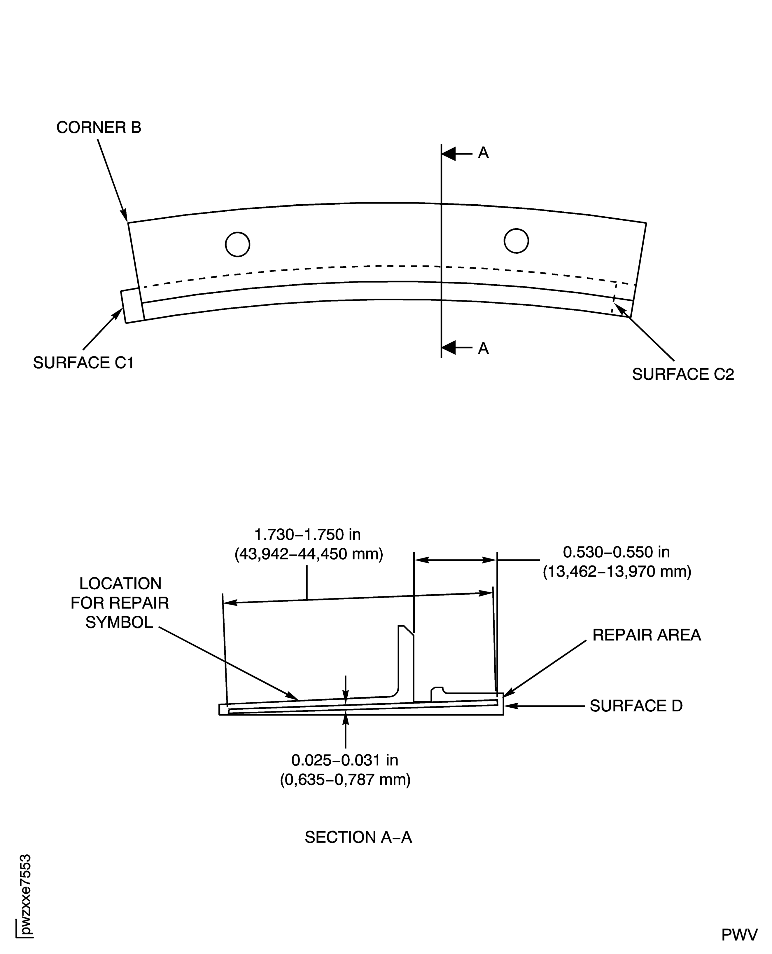
Refer to Figure.
Refer to the SPM TASK 70-31-13-310-501.
Weld build up the area by the Manual Gas Tungsten Arc method. Use CoMat 03-197 WELDING FILLER WIRE. Use a cooled copper chill block during the welding process to minimize flange distortion during welding.
Weld repair the feather seal slot.
Stress relieve the air sealing ring segment at 1800 deg F (982.2 deg C) plus or minus 25 deg F (14 deg C) for one hour in a protective atmosphere or vacuum.
NOTE
You can stress relieve the ring segment after you do the EDM procedure and blending, or the machining. The EDM procedure and the machining steps are interchangeable.
SUBTASK 72-45-24-350-102 Repair the Worn Surface Area on the Ring Segment Feather Seal Slot
Refer to Figure.
SUBTASK 72-45-24-320-056 Machine the Air Sealing Ring Segment
Refer to Figure.
SUBTASK 72-45-24-320-057 Blend or Machine the Excess Weld from the Air Sealing Ring Segment
Refer to SPM TASK 70-23-05-230-501 or SPM TASK 70-23-08-230-501. No cracks are permitted.
Fluorescent penetrant inspect the repaired area.
SUBTASK 72-45-24-230-068 Fluorescent Penetrant Inspect the Repaired Area
Refer to Figure.
SUBTASK 72-45-24-350-103 Mark the Ring Segment with the Repair Symbol
Refer to Repair, VRS3319 TASK 72-45-24-300-009 (REPAIR-009).
Assemble the segment and vane cluster.
SUBTASK 72-45-24-350-104 Assemble the Stage 2 HPT Segment and Vane Cluster
Figure: Repair Details and Dimensions
Repair Details and Dimensions

