Export Control
EAR Export Classification: Not subject to the EAR per 15 C.F.R. Chapter 1, Part 734.3(b)(3), except for the following Service Bulletins which are currently published as EAR Export Classification 9E991: SBE70-0992, SBE72-0483, SBE72-0580, SBE72-0588, SBE72-0640, SBE73-0209, SBE80-0024 and SBE80-0025.Copyright
© IAE International Aero Engines AG (2001, 2014 - 2021) The information contained in this document is the property of © IAE International Aero Engines AG and may not be copied or used for any purpose other than that for which it is supplied without the express written authority of © IAE International Aero Engines AG. (This does not preclude use by engine and aircraft operators for normal instructional, maintenance or overhaul purposes.).Applicability
All
Common Information
TASK 72-45-27-300-006 HPT Stage 2 Support - Plasma Spray Repair The Rear Outer Diameter, Repair-006 (VRS3229)
General
The practices and processes referred to in the procedure by TASK number are in the SPM.
Price and availability - none
NOTE
NOTE
Preliminary Requirements
Pre-Conditions
NONESupport Equipment
| Name | Manufacturer | Part Number / Identification | Quantity | Remark |
|---|---|---|---|---|
| Abrasive Blast Equipment | LOCAL | Abrasive Blast Equipment | ||
| Grinding equipment | LOCAL | Grinding equipment | ||
| Machining equipment | LOCAL | Machining equipment | ||
| Plasma spray equipment | LOCAL | Plasma spray equipment | ||
| Workshop inspection equipment | LOCAL | Workshop inspection equipment |
Consumables, Materials and Expendables
| Name | Manufacturer | Part Number / Identification | Quantity | Remark |
|---|---|---|---|---|
| CoMat 03-080 METAL SPRAYING POWDER,Co BASE ALLOY | IE426 | CoMat 03-080 | ||
| CoMat 03-089 METAL SPRAYING POWDER Ni/Al (95/5) | 33870 | CoMat 03-089 | ||
| CoMat 03-090 METAL SPRAYING POWDER Ni/Al (95/5) | X111X | CoMat 03-090 |
Spares
NONESafety Requirements
CAUTION
Procedure
Remove the minimum quantity of parent material necessary to do the repair.
Do a machine or grind operation to remove the damage or wear and all the coating from the rear outer diameter face.
Refer to the SPM TASK 70-11-03-300-503.
Clean the part.
Refer to the SPM TASK 70-23-03-230-501 or SPM TASK 70-23-08-230-501.
If you removed the damage and coating by grind operation, do a fluorescent penetrant inspection of the part.
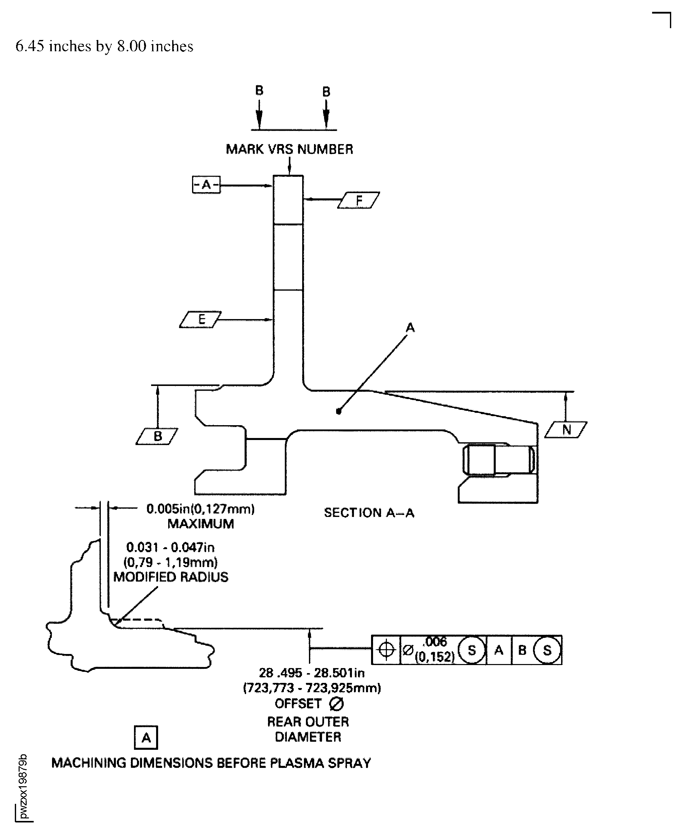
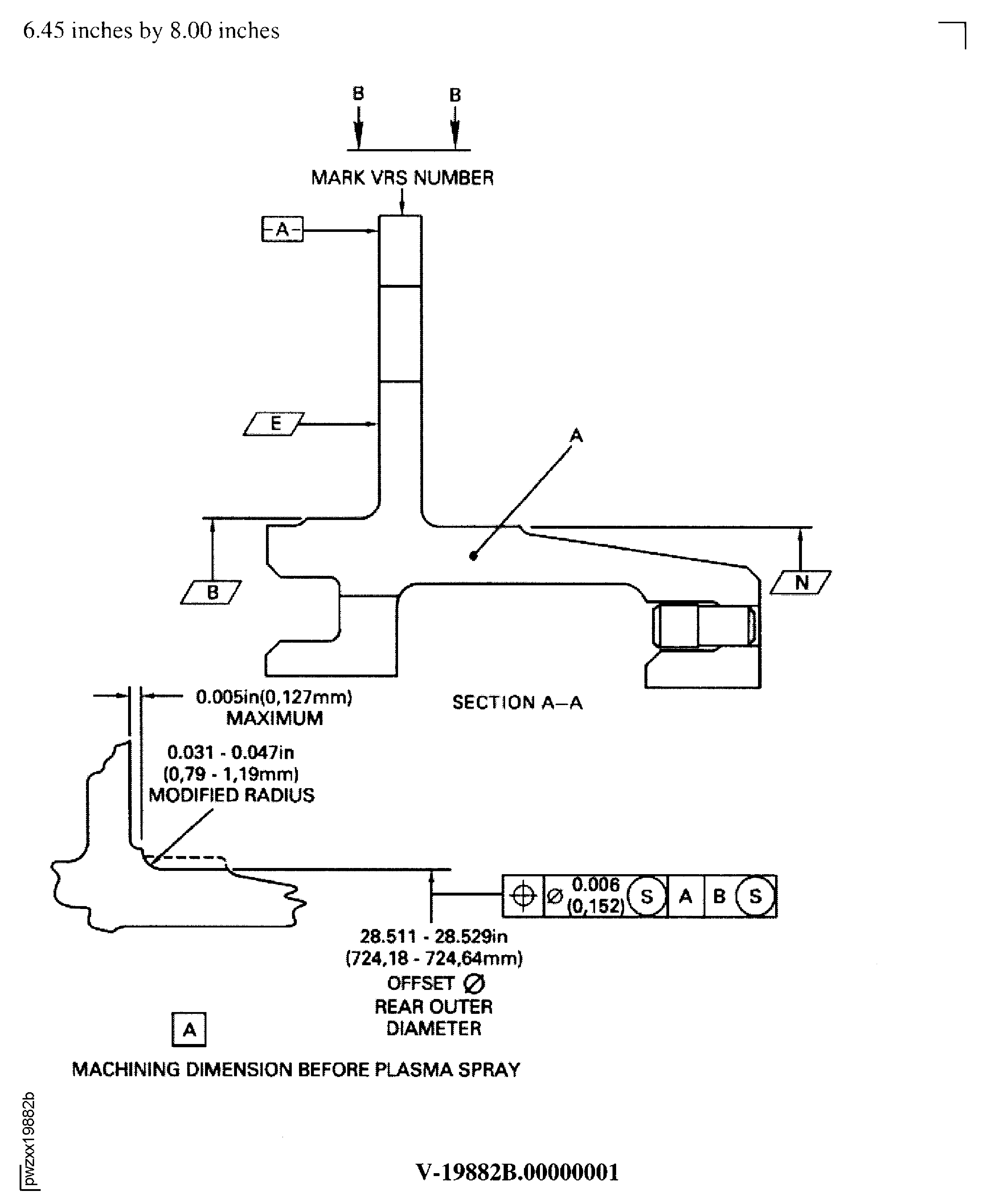
SUBTASK 72-45-27-320-053 Machine the Rear Outer Diameter before Plasma Spray
NOTE
All dimensions apply when Surface E is flat by 0.002 in. (0.051 mm) and Diameter B maintains a clearance envelope of 28.592 in. (726.925 mm) in a free or held condition. In a held condition, hold the air seal only on Surfaces E and F and Diameter B. In a free condition Surface E is flat by 0.010 in. (0.254 mm) and Diameter B is 28.550 to 28.626 in. (725.17 to 727.10 mm) in diameter.Apply the plasma spray to a sufficient thickness which will permit the final machining of the dimensions given in the Figure.
No overspray is permitted on the flange face but is permitted in other areas given in the Figure.
Do the procedure given in the SPM TASK 70-34-00-340-501.
Use CoMat 03-080 METAL SPRAYING POWDER,Co BASE ALLOY, CoMat 03-089 METAL SPRAYING POWDER Ni/Al (95/5) or CoMat 03-090 METAL SPRAYING POWDER Ni/Al (95/5) for Figure.
Use only CoMat 03-080 METAL SPRAYING POWDER,Co BASE ALLOY for Figure.
Plasma spray the rear outer diameter.
SUBTASK 72-45-27-340-052 Plasma Spray the Rear Outer Diameter
SUBTASK 72-45-27-320-054 Finish Machine the Rear Outer Diameter after Plasma Spray
NOTE
All dimensions apply when Surface E is flat by 0.002 in. (0.051 mm) and Diameter B maintains a clearance envelope of 28.592 in. (726.925 mm) in a free or held condition. In a held condition, hold the air seal only on Surfaces E and F and Diameter B. In a free condition Surface E is flat by 0.010 in. (0.254 mm) and Diameter B is 28.550 to 28.626 in. (725.17 to 727.10 mm) in diameter.Make a permanent mark by the procedure given in the SPM TASK 70-09-00-400-501.
Use the vibration peen method.
Make a mark VRS3229 adjacent to the part number.
SUBTASK 72-45-27-350-053 Identify the Repair
Figure: Repair Details And Dimensions (For PN 2A1360 With Plasma Spray On The Rear Diameter That Was Incorporated By SBE72-0002)
Repair Details And Dimensions (For PN 2A1360 With Plasma Spray On The Rear Diameter That Was Incorporated By SBE72-0002)

Figure: Repair Details And Dimensions (For PN 2A1360 With Plasma Spray On The Rear Diameter That Was Incorporated By SBE72-0002)
Repair Details And Dimensions (For PN 2A1360 With Plasma Spray On The Rear Diameter That Was Incorporated By SBE72-0002)

Figure: Repair Details And Dimensions (For PN 2A1360 With Plasma Spray On The Rear Diameter That Was Incorporated By SBE72-0002)
Repair Details And Dimensions (For PN 2A1360 With Plasma Spray On The Rear Diameter That Was Incorporated By SBE72-0002)

Figure: Repair Details And Diameters (For PN 2A1360 And PN 2A1713 With No Plasma Spray On The Rear Diameter)
Repair Details And Diameters (For PN 2A1360 And PN 2A1713 With No Plasma Spray On The Rear Diameter)

Figure: Repair Details And Dimensions (For PN 2A1360 And 2A1713 With No Plasma Spray On The Rear Diameter)
Repair Details And Dimensions (For PN 2A1360 And 2A1713 With No Plasma Spray On The Rear Diameter)

Figure: Repair Details And Dimensions (For PN 2A1360 And 2A1713 With No Plasma Spray On The Rear Diameter)
Repair Details And Dimensions (For PN 2A1360 And 2A1713 With No Plasma Spray On The Rear Diameter)

