Export Control
EAR Export Classification: Not subject to the EAR per 15 C.F.R. Chapter 1, Part 734.3(b)(3), except for the following Service Bulletins which are currently published as EAR Export Classification 9E991: SBE70-0992, SBE72-0483, SBE72-0580, SBE72-0588, SBE72-0640, SBE73-0209, SBE80-0024 and SBE80-0025.Copyright
© IAE International Aero Engines AG (2001, 2014 - 2021) The information contained in this document is the property of © IAE International Aero Engines AG and may not be copied or used for any purpose other than that for which it is supplied without the express written authority of © IAE International Aero Engines AG. (This does not preclude use by engine and aircraft operators for normal instructional, maintenance or overhaul purposes.).Applicability
All
Common Information
TASK 72-50-22-300-029 LPT Stage 3 Vane - Plasma Spray The Outer Buttress Platform Front Lips,Repair-029 (VRS4072)
General
Price and availability - none
The practices and processes referred to in the procedure by the TASK numbers are in the SPM.
NOTE
NOTE
NOTE
Preliminary Requirements
Pre-Conditions
NONESupport Equipment
| Name | Manufacturer | Part Number / Identification | Quantity | Remark |
|---|---|---|---|---|
| Vertical turning lathe | LOCAL | Vertical turning lathe | ||
| Grit blast equipment | LOCAL | Grit blast equipment | ||
| Turntable | LOCAL | Turntable | ||
| Horizontal and vertical transverse unit | LOCAL | Horizontal and vertical transverse unit | ||
| Plasma spray equipment | LOCAL | Plasma spray equipment | ||
| Radius gage set | LOCAL | Radius gage set | ||
| Dial caliper | LOCAL | Dial caliper | ||
| Micrometer | 0AM53 | Micrometer | ||
| Roughness microtester | LOCAL | Roughness microtester | ||
| Vibrating marking pencil | LOCAL | Vibrating marking pencil | ||
| IAE 3M14365 Turning fixture | 0AM53 | IAE 3M14365 | 1 |
Consumables, Materials and Expendables
| Name | Manufacturer | Part Number / Identification | Quantity | Remark |
|---|---|---|---|---|
| CoMat 02-047 TAPE, HEAT REFLECTIVE | 52152 | CoMat 02-047 | ||
| CoMat 02-050 HIGH TEMPERATURE GLASS CLOTH TAPE | 76381 | CoMat 02-050 | ||
| CoMat 03-080 METAL SPRAYING POWDER,Co BASE ALLOY | IE426 | CoMat 03-080 | ||
| CoMat 05-046 ALUMINUM OXIDE GRIT | 62596 | CoMat 05-046 | ||
| CoMat 05-047 DELETED | 0AM53 | CoMat 05-047 |
Spares
NONESafety Requirements
NONEProcedure
If the outer buttress platform front lips were plasma spray repaired before, remove the old coating fully.
Use this instruction to repair the inner or outer buttress front lips.
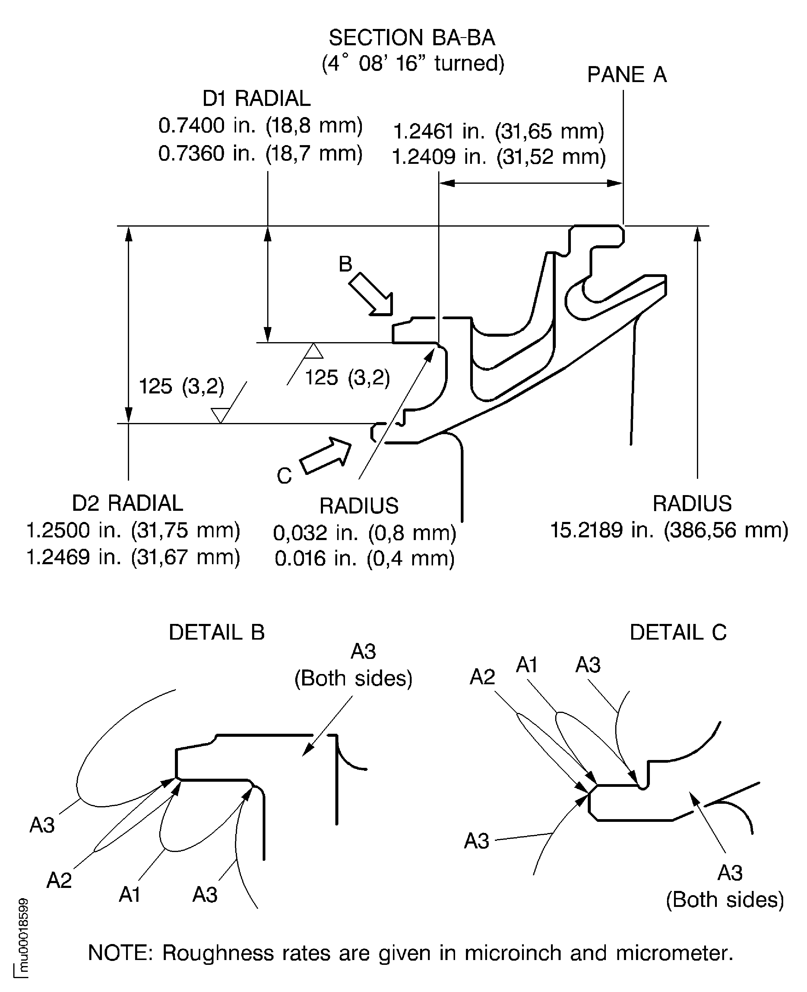
Refer to Figure.
Use IAE 3M14365 Turning fixture 1 off and vertical turning lathe.
Remove the old coating and damage fully.
Keep the material removal to the minimum to allow for subsequent repairs.
Machine the radial dimension D1/D2.
SUBTASK 72-50-22-320-059 Machine the Outer Buttress Platform Front Lips
NOTE
Refer to the SPM TASK 70-11-03-300-503.
Clean the vane.
SUBTASK 72-50-22-110-136 Clean the Vane
Mask area A3.
Use grit blast equipment.
The surface texture must be 120 to 200 microinch (3.0 to 5.0 micrometer ra).
Blasting in area A2 is permitted.
Refer to Figure and to the SPM TASK 70-34-03-340-501.
Grit blast the area A1.
SUBTASK 72-50-22-340-063 Prepare the Surfaces for the Plasma Spray Procedure
Use IAE 3M14365 Turning fixture 1 off.
Use control unit, horizontal and vertical transverse unit. Use turntable, turntable control assembly and transverse unit control assembly.
Use plasma spray equipment.
Overspray in area A2 is permitted, refer to Figure.
Make sure that there is sufficient material sprayed on to do last machining.
Refer to the SPM TASK 70-34-03-340-501.
Plasma spray the area A1.
SUBTASK 72-50-22-340-064 Plasma Spray the Prepared Surfaces
Refer to the SPM TASK 70-11-03-300-503.
Clean the vane.
SUBTASK 72-50-22-110-137 Clean the Vane
Use IAE 3M14365 Turning fixture 1 off and vertical turning lathe.
Refer to Figure and the SPM TASK 70-34-03-340-501.
The finish of the coated areas must be as smooth and continuous as the initial area.
Steps are not permitted.
Finish grind the coated areas and chamfer.
SUBTASK 72-50-22-320-060 Finish Grind the Coated Surfaces
Refer to the SPM TASK 70-11-03-300-503.
Clean the vane.
SUBTASK 72-50-22-110-138 Clean the Vane
Refer to the SPM TASK 70-34-03-340-501.
Visually examine the coating.
SUBTASK 72-50-22-220-261 Do the Post Repair Inspection
Refer to the SPM TASK 70-09-00-400-501. Use a vibrating marking pencil.
Vibro-peen VRS4072 and applicable beehive symbol adjacent to the part number.
SUBTASK 72-50-22-380-070 Make a Mark to Identify the Repair
Figure: Dimensions and areas of the outer buttress platform front lips before plasma spraying
Sheet 1

Figure: Dimensions and areas of the outer buttress platform front lips before plasma spraying
Sheet 2

Figure: Dimensions of the outer buttress platform front lips after plasma spraying
Sheet 1

Figure: Dimensions of the outer buttress platform front lips after plasma spraying
Sheet 2

