Export Control
EAR Export Classification: Not subject to the EAR per 15 C.F.R. Chapter 1, Part 734.3(b)(3), except for the following Service Bulletins which are currently published as EAR Export Classification 9E991: SBE70-0992, SBE72-0483, SBE72-0580, SBE72-0588, SBE72-0640, SBE73-0209, SBE80-0024 and SBE80-0025.Copyright
© IAE International Aero Engines AG (2001, 2014 - 2021) The information contained in this document is the property of © IAE International Aero Engines AG and may not be copied or used for any purpose other than that for which it is supplied without the express written authority of © IAE International Aero Engines AG. (This does not preclude use by engine and aircraft operators for normal instructional, maintenance or overhaul purposes.).Applicability
All
Common Information
TASK 72-50-22-300-030 LPT Stage 3 Vane - Plasma Spray The Outer Buttress Platform Rear Diameter, Repair-030 (VRS4073)
General
Price and availability - none
The practices and processes referred to in the procedure by the TASK number are in the SPM.
Before start of repair, remove locating key as per VRS4075 TASK 72-50-22-300-032 (REPAIR-032). After completion of repair, locating key to be replaced per VRS4075.
NOTE
NOTE
Preliminary Requirements
Pre-Conditions
NONESupport Equipment
| Name | Manufacturer | Part Number / Identification | Quantity | Remark |
|---|---|---|---|---|
| Vertical turning lathe | LOCAL | Vertical turning lathe | ||
| Grit blast equipment | LOCAL | Grit blast equipment | ||
| Turntable | LOCAL | Turntable | ||
| Horizontal and vertical transverse unit | LOCAL | Horizontal and vertical transverse unit | ||
| Plasma spray equipment | LOCAL | Plasma spray equipment | ||
| Radius gage set | LOCAL | Radius gage set | ||
| Dial caliper | LOCAL | Dial caliper | ||
| Micrometer | 0AM53 | Micrometer | ||
| Roughness microtester | LOCAL | Roughness microtester | ||
| Vibrating marking pencil | LOCAL | Vibrating marking pencil | ||
| IAE 3M14365 Turning fixture | 0AM53 | IAE 3M14365 | 1 |
Consumables, Materials and Expendables
| Name | Manufacturer | Part Number / Identification | Quantity | Remark |
|---|---|---|---|---|
| CoMat 02-047 TAPE, HEAT REFLECTIVE | 52152 | CoMat 02-047 | ||
| CoMat 02-050 HIGH TEMPERATURE GLASS CLOTH TAPE | 76381 | CoMat 02-050 | ||
| CoMat 03-080 METAL SPRAYING POWDER,Co BASE ALLOY | IE426 | CoMat 03-080 | ||
| CoMat 05-046 ALUMINUM OXIDE GRIT | 62596 | CoMat 05-046 |
Spares
NONESafety Requirements
NONEProcedure
Refer to Figure. Use IAE 3M14365 Turning fixture 1 off and a vertical turning lathe.
Hold dimension D1 to a maximum value. All old coating must be fully removed.
Machine the dimension D1.
SUBTASK 72-50-22-320-020 Machine the Rear Diameter
NOTE
Remove the old coating fully, if the rear diameter was plasma sprayed before.Refer to Figure for dimensions.
Dimensionally examine.
SUBTASK 72-50-22-220-342 Examine the Machined Area
Refer to the SPM TASK 70-11-03-300-503.
Clean the vane.
SUBTASK 72-50-22-110-192 Clean the Stage 3 Turbine Vane
Mask the areas A3.
Use grit blast equipment.
Use CoMat 05-046 ALUMINUM OXIDE GRIT. The surface texture must be 120 to 200 microinch RMS (3.0 to 5.0 micrometer Ra). Blasting in area A2 is permitted.
Refer to Figure. Refer to the SPM TASK 70-34-03-340-501.
Grit blast the area A1.
SUBTASK 72-50-22-340-028 Prepare the Surfaces for the Plasma Spray Procedure
Use IAE 3M14365 Turning fixture 1 off.
Use control unit, horizontal and vertical transverse unit. Use turntable, turntable control assembly and transverse unit control assembly.
Use plasma spray equipment.
Overspray in area A2 is permitted if it was blasted before, refer to Figure.
Make sure that there is sufficient material sprayed on to do last machining.
Refer to the SPM TASK 70-34-03-340-501.
Plasma spray the area A1.
SUBTASK 72-50-22-340-029 Plasma Spray the Prepared Surfaces
Use IAE 3M14365 Turning fixture 1 off and a vertical turning lathe. Refer to Figure and the SPM TASK 70-34-03-340-501.
The finish of the coated areas must be as smooth and continuous as the initial area.
Steps are not permitted.
Machine the coated area and chamfers.
SUBTASK 72-50-22-320-021 Machine the Coated Area
Refer to the SPM TASK 70-11-03-300-503.
Clean the vane.
SUBTASK 72-50-22-110-193 Clean the Stage 3 Turbine Vane
Refer to Figure.
Examine the machined areas dimensionally.
Refer to the SPM TASK 70-34-03-340-501.
Examine the coating.
SUBTASK 72-50-22-220-343 Do the Post Repair Inspection
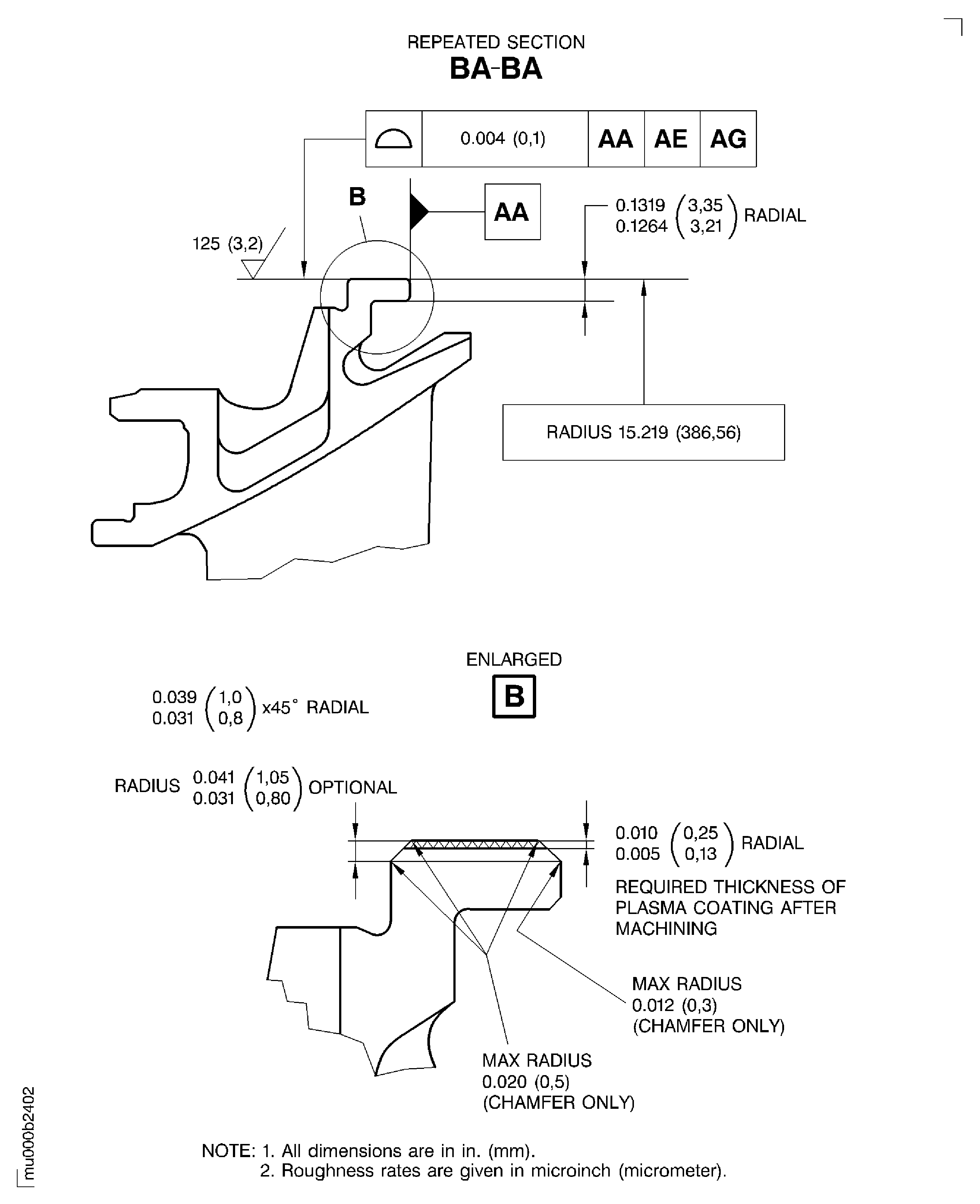
Figure: Dimensions of the stage 3 turbine vane
Sheet 1

Figure: Dimensions and areas of the stage 3 turbine vane outer buttress platform rear diameter before plasma spray
Sheet 2

Figure: Dimensions of the stage 3 turbine vane outer buttress platform rear diameter after plasma spray
Dimensions of the stage 3 turbine vane outer buttress platform rear diameter after plasma spray

