Export Control
EAR Export Classification: Not subject to the EAR per 15 C.F.R. Chapter 1, Part 734.3(b)(3), except for the following Service Bulletins which are currently published as EAR Export Classification 9E991: SBE70-0992, SBE72-0483, SBE72-0580, SBE72-0588, SBE72-0640, SBE73-0209, SBE80-0024 and SBE80-0025.Copyright
© IAE International Aero Engines AG (2001, 2014 - 2021) The information contained in this document is the property of © IAE International Aero Engines AG and may not be copied or used for any purpose other than that for which it is supplied without the express written authority of © IAE International Aero Engines AG. (This does not preclude use by engine and aircraft operators for normal instructional, maintenance or overhaul purposes.).Applicability
All
Common Information
TASK 72-50-22-300-023 LPT Stage 4 Vane - Replace The Locating Key, Repair-023 (VRS4064)
Material of component
DESCRIPTION | RR SYMBOL | MATERIAL |
Stage 4 turbine vane locating | MAR-M-247 | |
key | Hastelloy X |
General
Price and availability - none
The practices and processes referred to in the procedure by the TASK number are in the SPM.
NOTE
NOTE
NOTE
Preliminary Requirements
Pre-Conditions
NONESupport Equipment
| Name | Manufacturer | Part Number / Identification | Quantity | Remark |
|---|---|---|---|---|
| Dial caliper | LOCAL | Dial caliper | ||
| Radius gage set | LOCAL | Radius gage set | ||
| Vernier caliper | LOCAL | Vernier caliper | ||
| IAE 3M14227 Clamping fixture | 0AM53 | IAE 3M14227 | 1 | |
| IAE 3M14538 Fixture, Grinding | 0AM53 | IAE 3M14538 | 1 |
Consumables, Materials and Expendables
| Name | Manufacturer | Part Number / Identification | Quantity | Remark |
|---|---|---|---|---|
| CoMat 03-151 HIGH TEMP. BRAZING FILLERPOWDER | LOCAL | CoMat 03-151 | ||
| CoMat 03-227 WHITE STOP OFF | D3309 | CoMat 03-227 |
Spares
| Name | Manufacturer | Part Number / Identification | Quantity | Remark |
|---|---|---|---|---|
| Locating Key | 3A0002 | 1 |
Safety Requirements
NONEProcedure
Use IAE 3M14538 Fixture, Grinding 1 off.
Electrical discharge machine according to the SPM TASK 70-32-03-320-501 is permitted.
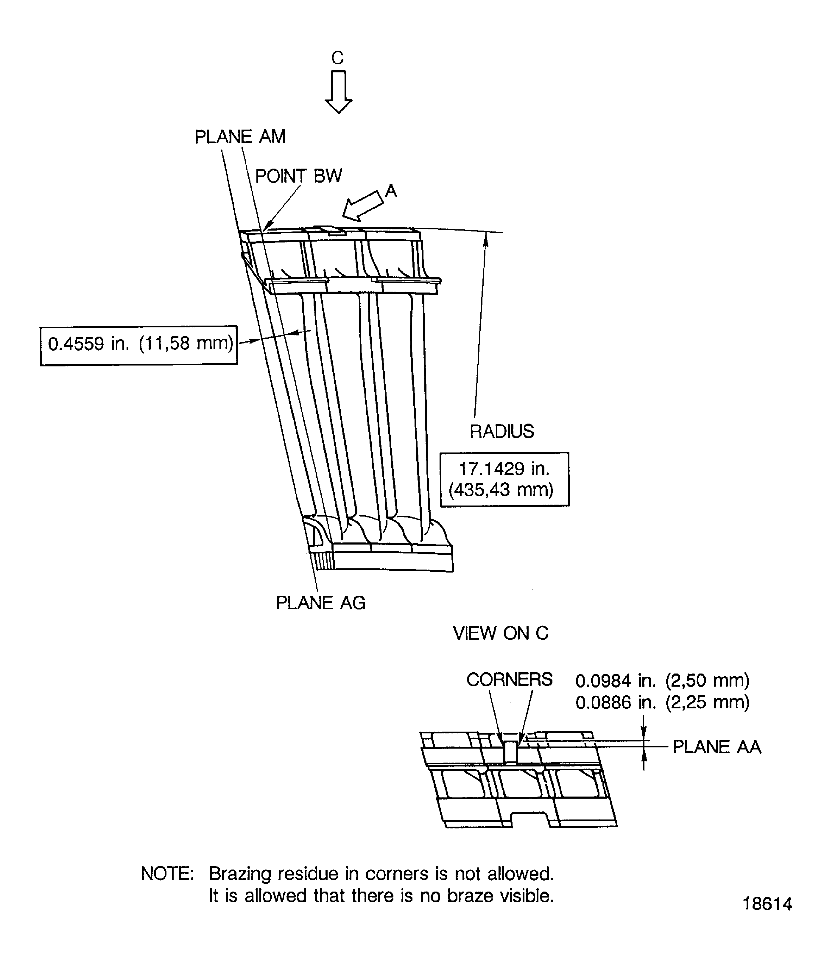
Refer to Figure.
Do not remove parent material.
To get the slot dimensions traces of braze may stay or may be removed.
Machine off the worn locating key.
SUBTASK 72-50-22-326-054 Remove the Worn Locating Key
Refer to the SPM TASK 70-11-01-300-503.
Vapor degrease.
SUBTASK 72-50-22-110-075 Clean the Turbine Vane
Refer to the SPM TASK 70-11-01-300-503.
Vapor degrease.
SUBTASK 72-50-22-110-076 Clean the Turbine Vane
Nickel plate is permitted to make the following braze cycle easier. Refer to the SPM TASK 70-33-06-300-503.
Make sure that the coating thickness is 0.0001 to 0.0003 in. (0.003 to 0.008 mm).
Nickel plate the connecting surfaces if necessary.
SUBTASK 72-50-22-330-054 Nickel Plate Machined Surfaces
Clamp the locating key to prevent movement.
Use IAE 3M14227 Clamping fixture 1 off.
Spot welding of locating key to facilitate brazing is permitted.
For braze cycles refer to Figure and to the SPM TASK 70-31-09-310-501.
Braze the locating key in position.
SUBTASK 72-50-22-310-060 Braze in the New Locating Key
Refer to the SPM TASK 70-11-01-300-503.
Vapor degrease.
SUBTASK 72-50-22-110-077 Clean the Turbine Vane
Refer to the SPM TASK 70-31-07-310-501 for acceptance standards.
Visually examine the honeycomb for completed braze.
SUBTASK 72-50-22-220-123 Examine the Honeycomb Braze Condition
Figure: Replace the locating key of the turbine vane
Replace the locating key of the turbine vane

Figure: Replace the locating key of the turbine vane
Replace the locating key of the turbine vane

Figure: Braze cycles to braze in the locating key
Braze cycles to braze in the locating key

