Export Control
EAR Export Classification: Not subject to the EAR per 15 C.F.R. Chapter 1, Part 734.3(b)(3), except for the following Service Bulletins which are currently published as EAR Export Classification 9E991: SBE70-0992, SBE72-0483, SBE72-0580, SBE72-0588, SBE72-0640, SBE73-0209, SBE80-0024 and SBE80-0025.Copyright
© IAE International Aero Engines AG (2001, 2014 - 2021) The information contained in this document is the property of © IAE International Aero Engines AG and may not be copied or used for any purpose other than that for which it is supplied without the express written authority of © IAE International Aero Engines AG. (This does not preclude use by engine and aircraft operators for normal instructional, maintenance or overhaul purposes.).Applicability
All
Common Information
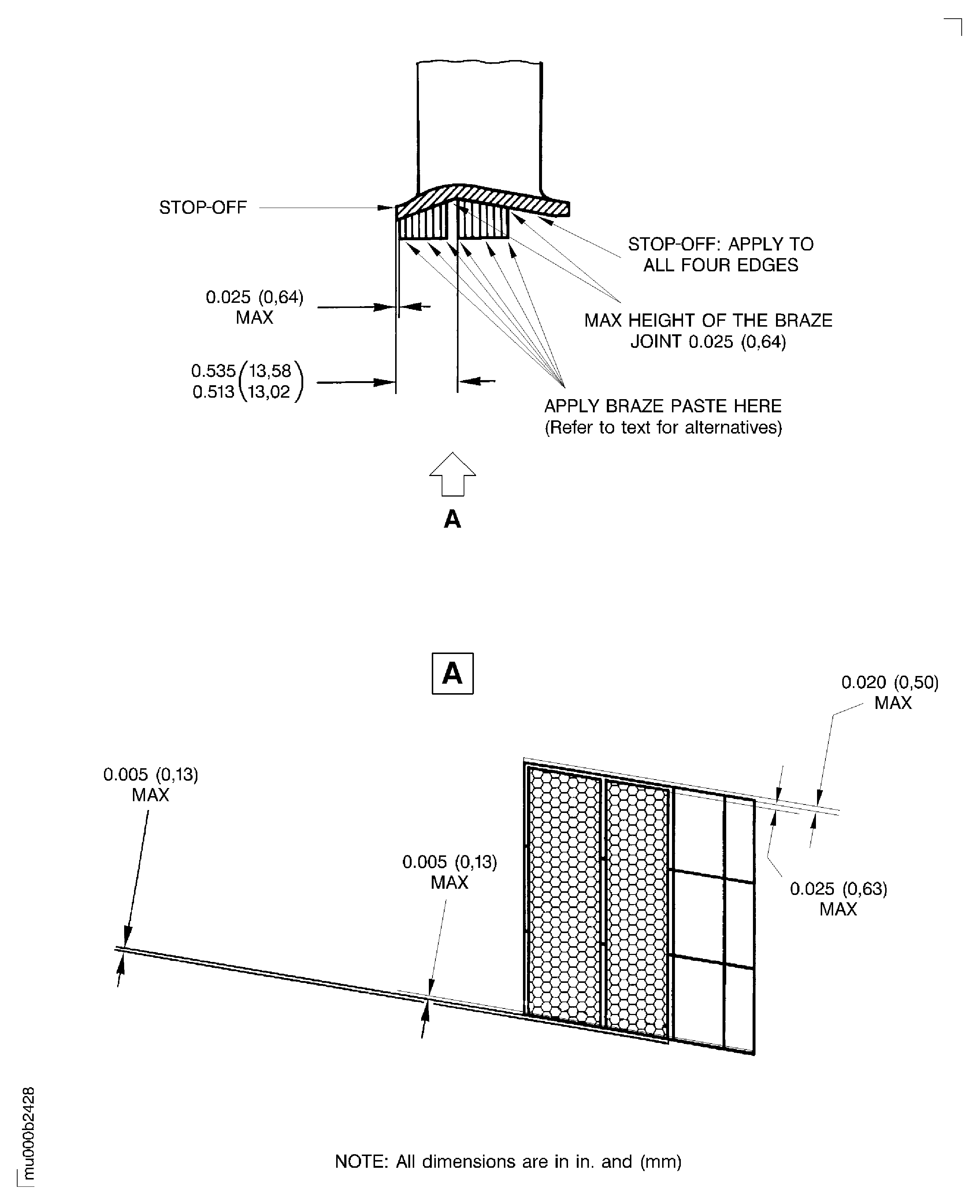
TASK 72-50-22-300-062 LPT Stage 6 Vane - Replace The Honeycomb Seal Segments On The Inner Buttress, Repair-062 (VRS4332)
Material of component
PART IDENT | IAE SYMBOL | MATERIAL |
|---|---|---|
Stage 6 turbine vane | MTS1084A/INCONEL 713 | |
Honeycomb seal segment | Hastelloy X |
General
Price and availability - none
The practices and processes referred to in the procedure by the TASK numbers are in the SPM.
NOTE
NOTE
NOTE
Preliminary Requirements
Pre-Conditions
NONESupport Equipment
| Name | Manufacturer | Part Number / Identification | Quantity | Remark |
|---|---|---|---|---|
| Grinding machine | LOCAL | Grinding machine | ||
| Spot welding machine | LOCAL | Spot welding machine | ||
| Vertical turning lathe | LOCAL | Vertical turning lathe | ||
| Workshop inspection equipment | LOCAL | Workshop inspection equipment | ||
| Vernier caliper | LOCAL | Vernier caliper | ||
| Illuminated comparator magnifier | LOCAL | Illuminated comparator magnifier | ||
| Fluid tank | LOCAL | Fluid tank | ||
| Belt grinder | LOCAL | Belt grinder | ||
| Point welding device | LOCAL | Point welding device | ||
| IAE 3M14202 Grinding/turning fixture | 0AM53 | IAE 3M14202 | 1 | |
| IAE 3M14220 Cross slide table | 0AM53 | IAE 3M14220 | 1 | |
| IAE 3M14221 Electrode guide | 0AM53 | IAE 3M14221 | 1 | |
| IAE 3M14222 Electrode holder | 0AM53 | IAE 3M14222 | 1 | |
| IAE 3M14223 Universal joint electrode | 0AM53 | IAE 3M14223 | 1 | |
| IAE 3M14442 Spot Welding Fixture | 0AM53 | IAE 3M14442 | 1 |
Consumables, Materials and Expendables
| Name | Manufacturer | Part Number / Identification | Quantity | Remark |
|---|---|---|---|---|
| CoMat 01-183 WETTING AGENT FOR ACIDCLEANER | 1XY28 | CoMat 01-183 | ||
| CoMat 02-142 WETTING AGENT | 08340 | CoMat 02-142 | ||
| CoMat 02-143 DELETED | 0AM53 | CoMat 02-143 | ||
| CoMat 02-144 BONDING AGENT | C7208 | CoMat 02-144 | ||
| CoMat 03-148 BRAZING FILLER POWDER | LOCAL | CoMat 03-148 | ||
| CoMat 03-227 WHITE STOP OFF | D3309 | CoMat 03-227 | ||
| CoMat 03-249 BRAZING FILLER MATERIAL,Ni-BASE | LOCAL | CoMat 03-249 | ||
| CoMat 10-061 STODDARD SOLVENT | LOCAL | CoMat 10-061 |
Spares
| Name | Manufacturer | Part Number / Identification | Quantity | Remark |
|---|---|---|---|---|
| Honeycomb seal segment | 3A1573 | 1 | ||
| Honeycomb seal segment | 3A1574 | 1 |
Safety Requirements
NONEProcedure
Refer to: Figure
Use vertical turning lathe and the IAE 3M14202 Grinding/turning fixture 1 off.
Remove the damaged honeycomb seal segments fully.
Keep the material removal to the minimum to allow subsequent repairs.
To get this it is permitted to let stay a braze thickness of 0.005 in. (0.13 mm).
Refer to Figure.
Machine off the worn honeycomb seal segments LPT Stage 3, 4, 5, 6, 7 Vanes (72-50-22, 01-196 and LPT Stage 3, 4, 5, 6, 7 Vanes 01-200).
SUBTASK 72-50-22-325-001 Machine the Damaged Honeycomb Seal Segments
Refer to the SPM TASK 70-11-03-300-503.
Clean the vane.
SUBTASK 72-50-22-110-001 Clean the Stage 6 Turbine Vane
Refer to the SPM TASK 70-12-08-300-503.
Wet abrasive blast the machined area.
SUBTASK 72-50-22-120-001 Wet Abrasive Blast the Stage 6 Turbine Vane
Use the IAE 3M14220 Cross slide table 1 off and spot welding machine.
Install the cross slide table on to the spot welding machine.
Use the IAE 3M14222 Electrode holder 1 off.
Install the electrode holder on to the spot welding machine.
Use the IAE 3M14223 Universal joint electrode 1 off.
Make sure that the electrode insert with the mark INNER (part of the universal joint electrode) is installed.
Install the universal joint electrode on to the electrode holder.
Use the IAE 3M14221 Electrode guide 1 off.
Install the electrode guide on to the cross slide table.
Use the IAE 3M14442 Spot Welding Fixture 1 off.
Install the spot welding fixture on to the electrode guide.
Refer to the SPM TASK 70-31-07-310-501 and Process 2.
Brazing time 30 minutes maximum.
Heating and cooling rates are optional.
Braze.
SUBTASK 72-50-22-310-002 Braze in the New Honeycomb Seal Segments
NOTE
If CoMat 03-249 BRAZING FILLER MATERIAL,Ni-BASE is used perform steps G. to I. If CoMat 03-148 BRAZING FILLER POWDER is used perform steps J. to M.Refer to the SPM TASK 70-11-03-300-503.
Clean the vane.
SUBTASK 72-50-22-110-003 Clean the Stage 6 Turbine Vane
Use 200 : 1 mixture of water and CoMat 02-142 WETTING AGENT or 1 : 1 mixture of CoMat 10-061 STODDARD SOLVENT and CoMat 02-143 DELETED or 2500 : 1 mixture of water and CoMat 01-183 WETTING AGENT FOR ACIDCLEANER.
Prepare fluid tank.
Refer to the SPM TASK 70-31-07-310-501 except the following limits:
No unbrazed honeycomb cells around the edges of the honeycomb seal segments are permitted.
Minimum space between unbonded areas exceeding 0.063 sqin. (40.65 sqmm) should be 1.00 in. (25.4 mm).
Use vernier caliper and illuminated comparator magnifier.
No braze filled cells are permitted.
Honeycomb wall thickness must not be increased by more than 0.001 in. (0.03 mm) in the area above the braze fillet.
Acceptance limits.
SUBTASK 72-50-22-210-001 Examine the Brazed Honeycomb Seal Segments
Grind to the dimensions.
Refer to Figure.
Use the IAE 3M14202 Grinding/turning fixture 1 off and grinding machine.
Finish machine the honeycomb seal segments.
Refer to the SPM TASK 70-12-08-300-503 or use wire brush.
De-burr the honeycomb seal segments.
SUBTASK 72-50-22-325-002 Do the Post Repair
Refer to the SPM TASK 70-11-03-300-503.
Clean the honeycomb seal segments.
SUBTASK 72-50-22-110-004 Clean the Honeycomb Seal Segments
Refer to the SPM TASK 70-09-00-400-501.
Electrolytically etch or vibro-peen VRS4332 adjacent to the part number.
SUBTASK 72-50-22-350-001 Make a Mark to Identify the Repair
Figure: Replace the honeycomb seal segments on the inner buttress of the stage 6 turbine vane
Sheet 1

Figure: Replace the honeycomb seal segments on the inner buttress of the stage 6 turbine vane
Sheet 2

