DMC:V2500-A0-72-50-2303-05A-627A-CIssue No:003.00Issue Date:2018-02-01
Export Control
EAR Export Classification: Not subject to the EAR per 15 C.F.R. Chapter 1, Part 734.3(b)(3), except for the following Service Bulletins which are currently published as EAR Export Classification 9E991: SBE70-0992, SBE72-0483, SBE72-0580, SBE72-0588, SBE72-0640, SBE73-0209, SBE80-0024 and SBE80-0025.Copyright
© IAE International Aero Engines AG (2001, 2014 - 2021) The information contained in this document is the property of © IAE International Aero Engines AG and may not be copied or used for any purpose other than that for which it is supplied without the express written authority of © IAE International Aero Engines AG. (This does not preclude use by engine and aircraft operators for normal instructional, maintenance or overhaul purposes.).Applicability
All
Common Information
TASK 72-50-23-300-032 LPT Stage 3 Shroud Seal Segment - Weld Repair The Rear Hook Faces, Repair-032 (VRS4337)
General
Price and availability - none
The practices and processes referred to in the procedure by the TASK number are in the SPM.
NOTE
For more equipment and materials necessary to do this repair
refer to the SPM TASKS given below:
Equivalent materials and equipment may be used
NOTE
To identify the consumable materials, refer to the OPCI.
NOTE
Special tools are identified in the procedure by the tool
primary number.
Preliminary Requirements
Pre-Conditions
NONESupport Equipment
| Name | Manufacturer | Part Number / Identification | Quantity | Remark |
|---|---|---|---|---|
| Vernier Caliper | LOCAL | Vernier Caliper | ||
| Protractor | LOCAL | Protractor | ||
| Radius Gage Set | LOCAL | Radius Gage Set | ||
| Roughness Microtester | LOCAL | Roughness Microtester | ||
| IAE 3M14517 Welding fixture | 0AM53 | IAE 3M14517 | 1 | |
| IAE 3M14520 Grinding fixture | 0AM53 | IAE 3M14520 | 1 |
Consumables, Materials and Expendables
| Name | Manufacturer | Part Number / Identification | Quantity | Remark |
|---|---|---|---|---|
| CoMat 03-287 WELDING FILLER WIRE | LOCAL | CoMat 03-287 |
Spares
NONESafety Requirements
NONEProcedure
Refer to SPM TASK 70-11-03-300-503.
Aqueous degrease.
SUBTASK 72-50-23-110-130 Clean the Stage 3 Turbine Airseal Segment
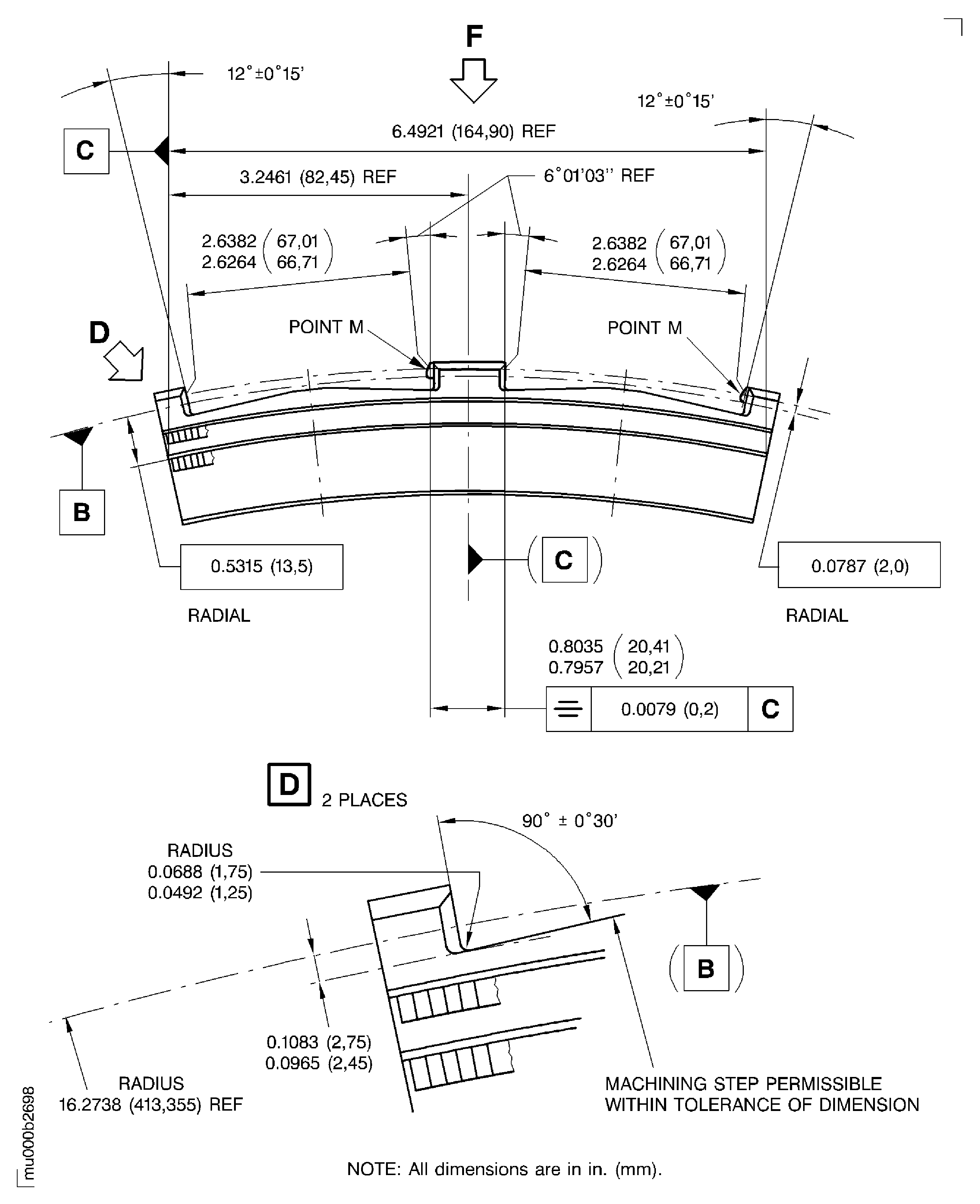
Refer to SPM TASK 70-31-13-310-501 and Figure.
Make sure that there is sufficient material to do last machining.
To prevent honeycomb braze damage, several weld passes should be made. Prevent too much temperature build-up.
Use IAE 3M14517 Welding fixture 1 off.
Gas Tungsten Arc Weld the worn surfaces.
SUBTASK 72-50-23-310-087 Weld Repair the Worn Surfaces
Refer to SPM TASK 70-11-03-300-503.
Aqueous degrease.
SUBTASK 72-50-23-110-131 Clean the Stage 3 Turbine Airseal Segment
Figure: Weld repair dimensions of the stage 3 airseal segment rear hook faces
Weld repair dimensions of the stage 3 airseal segment rear hook faces

Figure: Weld repair dimensions of the stage 3 airseal segment rear hook faces
Weld repair dimensions of the stage 3 airseal segment rear hook faces

