Export Control
EAR Export Classification: Not subject to the EAR per 15 C.F.R. Chapter 1, Part 734.3(b)(3), except for the following Service Bulletins which are currently published as EAR Export Classification 9E991: SBE70-0992, SBE72-0483, SBE72-0580, SBE72-0588, SBE72-0640, SBE73-0209, SBE80-0024 and SBE80-0025.Copyright
© IAE International Aero Engines AG (2001, 2014 - 2021) The information contained in this document is the property of © IAE International Aero Engines AG and may not be copied or used for any purpose other than that for which it is supplied without the express written authority of © IAE International Aero Engines AG. (This does not preclude use by engine and aircraft operators for normal instructional, maintenance or overhaul purposes.).Applicability
All
Common Information
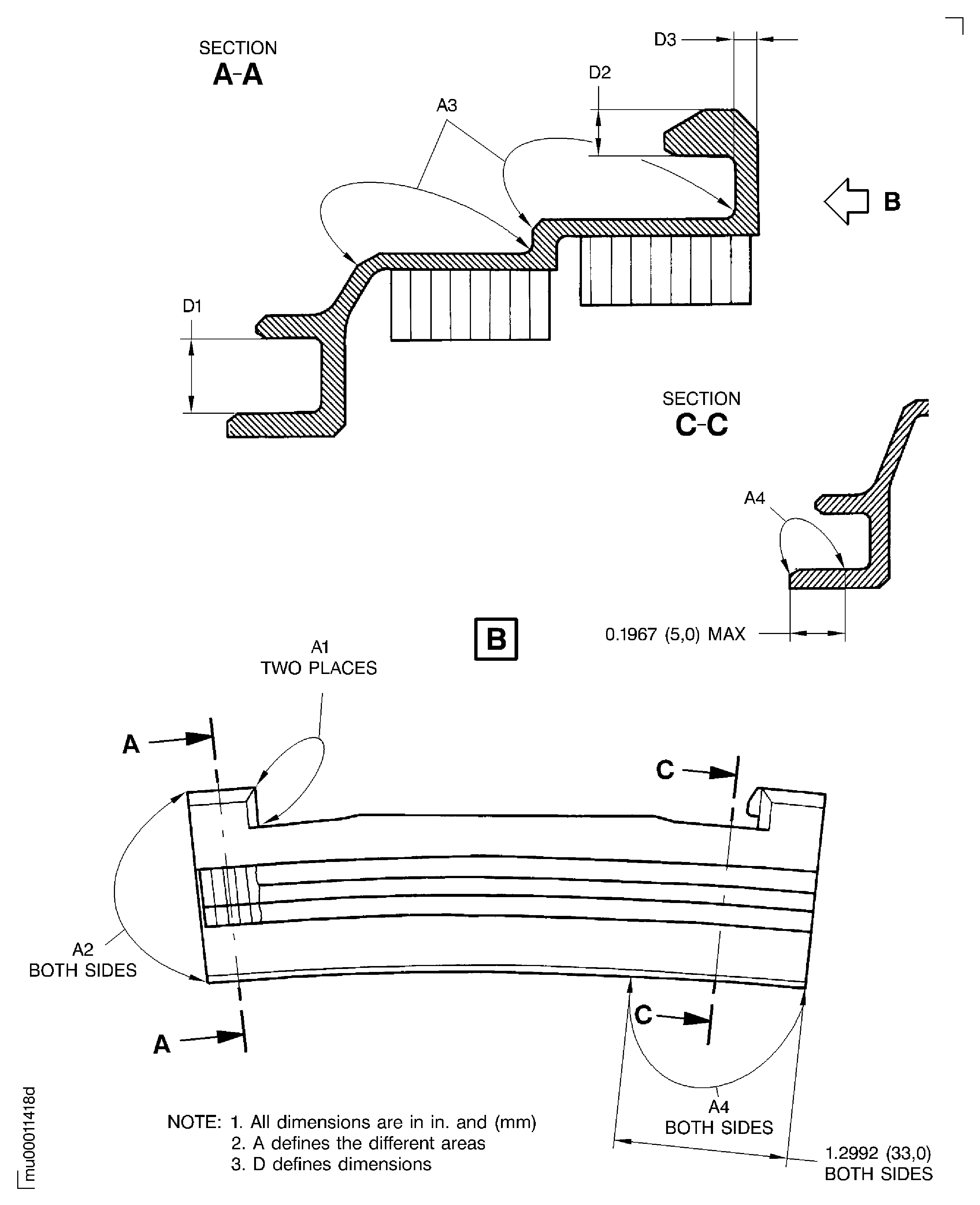
TASK 72-50-23-200-003-A00 LPT Stage 4 Outer Shroud Seal Segment - Examine, Inspection-003
General
This TASK gives the procedure for the inspection of the stage 4 shroud seal segment.
Fig/item numbers in parentheses in the procedure agree with those used in the EIPC.
The policy that is necessary for inspection is given in the SPM TASK 70-20-00-200-501.
All parts must be cleaned before any part is examined. Refer to TASK 72-50-23-100-000 (CLEANING-000).
All parts must be visually examined for damage, corrosion and wear. Any defects that are not identified in the procedure must be referred to IAE.
The procedure for those parts which must have a crack test is given in Step. Do the test before the part is visually examined.
Do not discard any part until you are sure there are no repairs available. Refer to the instructions in repair before a discarded part is used again or oversize parts are installed.
Parts which should be discarded can be held although no repair is available. The repair of a discarded part could be shown to be necessary at a later date.
All parts must be examined to make sure that all the repairs have been completed satisfactorily.
The practices and processes referred to in the procedure by the TASK numbers are in the SPM.
References
Refer to the SPM for data on these items:
Definitions of Damage, SPM TASK 70-02-02-350-501,
Record and Control of the Lives of Parts, SPM TASK 70-05-00-220-501,
Inspection of Parts, SPM TASK 70-20-00-200-501.
Some data on these items is contained in this TASK. For more data on these items refer to the SPM:
Method of Testing for Crack Indications,
Chemical Processes,
Surface Protection.
Preliminary Requirements
Pre-Conditions
NONESupport Equipment
NONEConsumables, Materials and Expendables
NONESpares
NONESafety Requirements
NONEProcedure
Clean the parts. Refer to TASK 72-50-23-100-000 (CLEANING-000).
Repair VRS4419, TASK 72-50-23-300-045 (REPAIR-045)
Cracked in area A3 more than in (1) and not more than 0.600 in. (15.24 mm)
Do the test for cracks on the parts that are given below. Use the applicable penetrant procedure.
PART IDENT
TASK/SUBTASK
Stage 4 shroud seal segment
SUBTASK 72-50-23-230-053 Examine the Stage 4 Shroud Seal Segment for Cracks
Repair VRS4091, TASK 72-50-23-300-014 (REPAIR-014)
Other than in (1)
Nicked, dented.
SUBTASK 72-50-23-220-063 Examine the Stage 4 Shroud Seal Segment for Surface Damage
Repair VRS4093, TASK 72-50-23-300-016 (REPAIR-016)
More than in (1)
Unbonded areas.
Repair VRS4093, TASK 72-50-23-300-016 (REPAIR-016)
More than in (1)
Damaged or bent cells.
Repair VRS4093, TASK 72-50-23-300-016 (REPAIR-016)
Other than in (1)
Rub damage.
SUBTASK 72-50-23-220-064 Examine the Honeycombs of the Stage 4 Shroud Seal Segment for Damage
Refer to Figure.
Repair VRS4094, TASK 72-50-23-300-017 (REPAIR-017)
More than in (a)
Fretted.
Examine the stage 4 shroud seal segment in area A1 for fretting.
Repair VRS4095, TASK 72-50-23-300-018 (REPAIR-018)
More than in (a)
Fretted.
Examine the stage 4 shroud seal segment in area A4 for fretting.
Repair VRS4095, TASK 72-50-23-300-018 (REPAIR-018)
More than in (a)
Worn, measure dimension D1.
Examine the stage 4 shroud seal segment at dimension D1 for wear.
Repair, VRS4554 TASK 72-50-23-300-057 (REPAIR-057)
Less than in (a) and not less than 0.0472 in. (1.200 mm)
Worn, measure dimension D3.
Examine the stage 4 shroud seal segment at dimension D3 for wear.
SUBTASK 72-50-23-220-065 Examine the Stage 4 Shroud Seal Segment for Wear
Figure: Examine the Stage 4 Shroud Seal Segment
Examine the Stage 4 Shroud Seal Segment

