Export Control
EAR Export Classification: Not subject to the EAR per 15 C.F.R. Chapter 1, Part 734.3(b)(3), except for the following Service Bulletins which are currently published as EAR Export Classification 9E991: SBE70-0992, SBE72-0483, SBE72-0580, SBE72-0588, SBE72-0640, SBE73-0209, SBE80-0024 and SBE80-0025.Copyright
© IAE International Aero Engines AG (2001, 2014 - 2021) The information contained in this document is the property of © IAE International Aero Engines AG and may not be copied or used for any purpose other than that for which it is supplied without the express written authority of © IAE International Aero Engines AG. (This does not preclude use by engine and aircraft operators for normal instructional, maintenance or overhaul purposes.).Applicability
All
Common Information
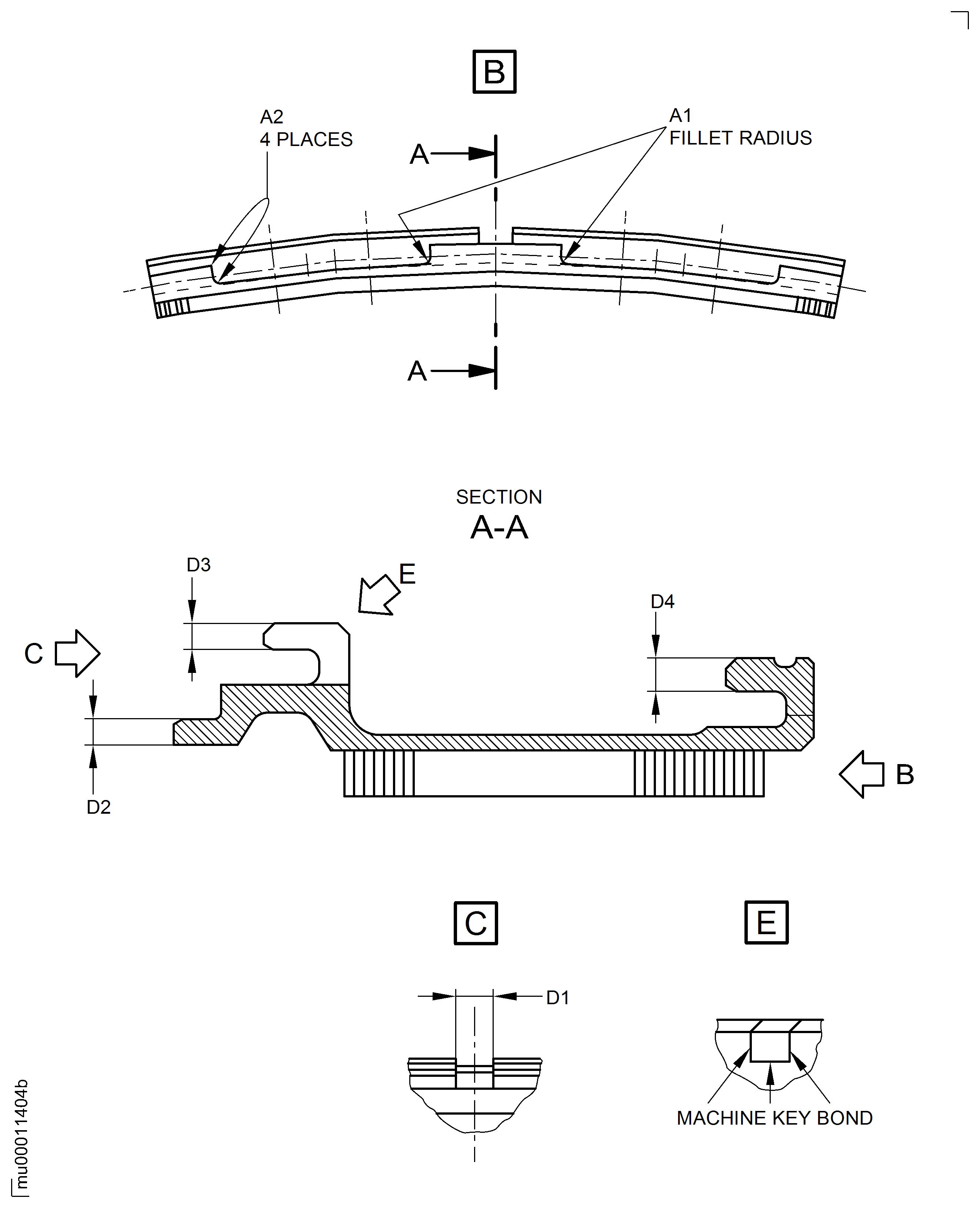
TASK 72-50-23-200-001-B00 LPT Stage 7 Outer Shroud Seal Segment - Examine The Stage 7 Shroud Seal Segment
General
This TASK gives the procedure for the inspection of the stage 7 shroud seal segment.
Fig/item numbers in parentheses in the procedure agree with those used in the EIPC.
A ** following any repair referenced in this inspection indicates that the repair is not yet published in the current revision of this manual and the part must be rejected. Contact IAE for additional information concerning FAA approved repair data.
The policy that is necessary for inspection is given in the SPP TASK 70-20-00-200-501.
All parts must be cleaned before any part is examined. Refer to the CLEANING-000 TASK 72-50-23-100-000.
All parts must be visually examined for damage, corrosion and wear. Any defects that are not identified in the procedure must be referred to IAE.
The procedure for those parts which must have a crack test is given in Step. Do the crack test before the part is visually examined.
Do not discard any part until you are sure there are no repairs available. Refer to the instructions in repair before a discarded part is used again or oversize parts are installed.
Parts which should be discarded can be held although no repair is available. The repair of a discarded part could be shown to be necessary at a later date.
All parts must be examined to make sure that all the repairs have been completed satisfactorily.
The practices and processes referred to in the procedure by the TASK numbers are in the SPP.
References
Refer to the SPP for data on these items.
Definitions of Damage, SPP TASK 70-02-02-350-501.
Record and Control of the Lives of Parts, SPP TASK 70-05-00-220-501.
Inspection of Parts, SPP TASK 70-20-00-200-501.
Some data on these items is contained in this TASK. For more data on these items refer to the SPP.
Method of testing for crack indications
Chemical processes
Surface protection
Preliminary Requirements
Pre-Conditions
NONESupport Equipment
NONEConsumables, Materials and Expendables
NONESpares
NONESafety Requirements
NONEProcedure
Refer to Figure.
Clean the parts. Refer to CLEANING-000 TASK 72-50-23-100-000.
Accept
Cracked in areas A1 not more than 0.040 in. (1.00 mm) maximum depth
Refer to Repair, VRS4631 72-50-23-300-072.
Cracked sealing strip
Refer to Repair, VRS4641 (TASK 72-50-23-300-XXX)**
Other than in Step.
Reject
Cracked in other area
Do the test for cracks on the parts that are given below. Use the applicable penetrant procedure.
PART IDENT
TASK/SUBTASK
Stage 7 shroud seal segment
SUBTASK 72-50-23-230-027Examine the Stage 7 Shroud Seal Segment for Cracks
Refer to REPAIR-003 (VRS4076) TASK 72-50-23-300-003.
Other than in Step.
Nicked, dented
SUBTASK 72-50-23-220-001 Examine the Stage 7 Shroud Seal Segment for Surface Damage
Refer to REPAIR-071, VRS4573 TASK 72-50-23-300-071.
Other than in Step.
Unbonded
Refer to REPAIR-071, VRS4573 TASK 72-50-23-300-071.
Other than in Step.
Damaged or bent cells
Refer to REPAIR-071, VRS4573 TASK 72-50-23-300-071.
Other than in Step.
Rub damaged
SUBTASK 72-50-23-220-002 Examine the Honeycombs of the Stage 7 Shroud Seal Segment for Damage
Accept
Lightly bent, assembly not affected
Refer to Repair, VRS4631 72-50-23-300-072.
Heavily bent, assembly affected
Examine the sealing strip for bends
SUBTASK 72-50-23-220-003 Examine the Sealing Strip of the Stage 7 Shroud Seal Segment for Damage
Refer to Figure.
Refer to Repair, VRS4641 (TASK 72-50-23-300-XXX)**
Less than in Step.
Worn, measure Dimension D1
Examine the surface at Dimension D1
Reject
Less than in Step.
Worn, measure Location D3
Examine the surface at Location D3
Reject
Less than in Step.
Worn, measure Location D4
Examine the surface at Location D4
Reject
More than in Step.
Fretted
Examine the surface in Area A2
SUBTASK 72-50-23-220-004 Examine the Stage 7 Shroud Seal Segment for Wear
Figure: Examine The Stage 7 Shroud Seal Segment
Examine The Stage 7 Shroud Seal Segment

