Export Control
EAR Export Classification: Not subject to the EAR per 15 C.F.R. Chapter 1, Part 734.3(b)(3), except for the following Service Bulletins which are currently published as EAR Export Classification 9E991: SBE70-0992, SBE72-0483, SBE72-0580, SBE72-0588, SBE72-0640, SBE73-0209, SBE80-0024 and SBE80-0025.Copyright
© IAE International Aero Engines AG (2001, 2014 - 2021) The information contained in this document is the property of © IAE International Aero Engines AG and may not be copied or used for any purpose other than that for which it is supplied without the express written authority of © IAE International Aero Engines AG. (This does not preclude use by engine and aircraft operators for normal instructional, maintenance or overhaul purposes.).Applicability
All
Common Information
TASK 72-50-24-300-002 LPT Inner Diffuser Duct Segment - Replace The Air Seal, Repair-002 (VRS4065)
General
Price and availability - none
The practices and processes referred to in the procedure by the TASK number are in the SPM.
NOTE
NOTE
Preliminary Requirements
Pre-Conditions
NONESupport Equipment
NONEConsumables, Materials and Expendables
| Name | Manufacturer | Part Number / Identification | Quantity | Remark |
|---|---|---|---|---|
| CoMat 03-148 BRAZING FILLER POWDER | LOCAL | CoMat 03-148 | ||
| CoMat 03-151 HIGH TEMP. BRAZING FILLERPOWDER | LOCAL | CoMat 03-151 | ||
| CoMat 03-227 WHITE STOP OFF | D3309 | CoMat 03-227 |
Spares
| Name | Manufacturer | Part Number / Identification | Quantity | Remark |
|---|---|---|---|---|
| Air seal | 3A2429 | 1 |
Safety Requirements
NONEProcedure
Electrical discharge machine according to the SPM TASK 70-32-03-320-501 is permitted.
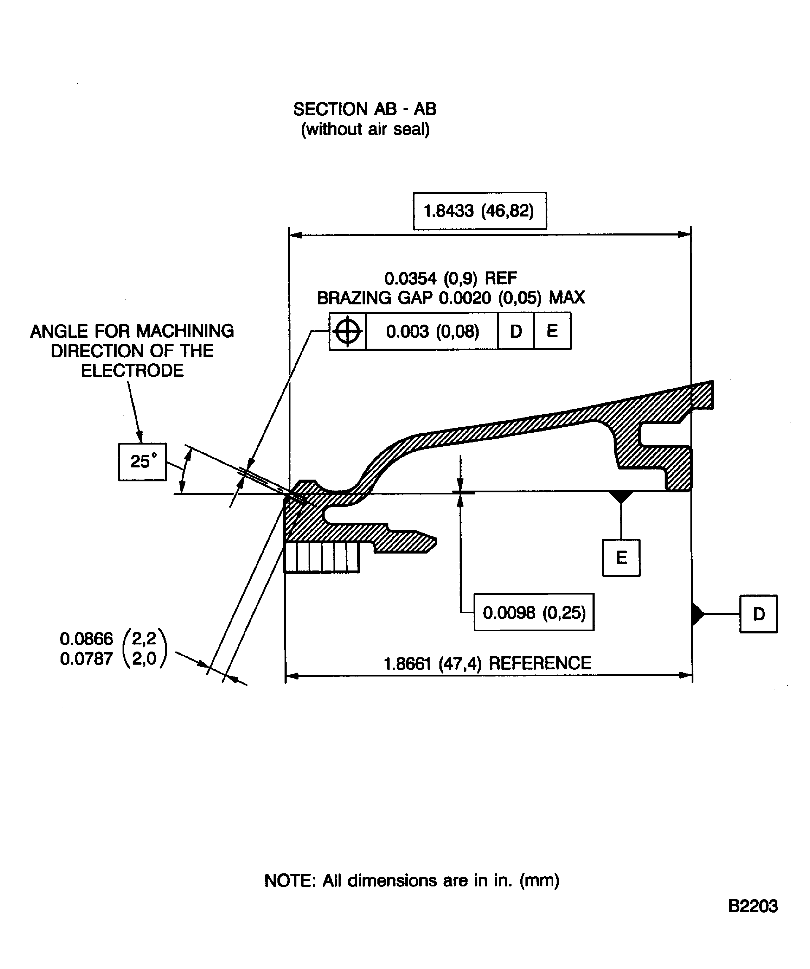
Refer to Figure.
Do not remove parent material.
Traces of braze can stay to get required dimension.
Machine off the worn air seal.
SUBTASK 72-50-24-325-057 Remove the Worn Air Seal
Refer to the SPM TASK 70-11-34-300-503.
Aqueous degrease.
SUBTASK 72-50-24-110-076 Clean the Inner Duct Segment
Refer to Figure.
Use CoMat 03-151 HIGH TEMP. BRAZING FILLERPOWDER, CoMat 03-148 BRAZING FILLER POWDER and CoMat 03-227 WHITE STOP OFF.
Braze run-off in location X is permitted.
For braze cycles refer to TASK 70-31-07-310-501.
Vacuum-braze the air seal in position.
SUBTASK 72-50-24-310-056 Braze in the New Air Seal
Refer to the SPM TASK 70-11-34-300-503.
Aqueous degrease.
SUBTASK 72-50-24-110-077 Clean the Inner Duct Segment
Refer to Figure for finishing dimension.
Machine inner duct.
SUBTASK 72-50-24-350-063 Machine the Inner Duct after Brazing
Refer to the finished dimensions in Figure.
Dimensionally examine.
SUBTASK 72-50-24-220-109 Examine the Brazed Air Seal
Refer to the SPM TASK 70-31-07-310-501 for acceptance standards.
Visually examine the honeycomb for completed braze.
SUBTASK 72-50-24-220-110 Examine the Honeycomb Braze Condition
Figure: Dimensions for machining the air seal of the inner duct
Dimensions for machining the air seal of the inner duct

Figure: Brazing and examination limits for the new air seal of the inner duct
Sheet 1

Figure: Brazing and examination limits for the new air seal of the inner duct
Sheet 2

Figure: Brazing and examination limits for the new air seal of the inner duct
Brazing and examination limits for the new air seal of the inner duct

Figure: Repair Part new air seal of the inner duct
Repair Part new air seal of the inner duct

