Export Control
EAR Export Classification: Not subject to the EAR per 15 C.F.R. Chapter 1, Part 734.3(b)(3), except for the following Service Bulletins which are currently published as EAR Export Classification 9E991: SBE70-0992, SBE72-0483, SBE72-0580, SBE72-0588, SBE72-0640, SBE73-0209, SBE80-0024 and SBE80-0025.Copyright
© IAE International Aero Engines AG (2001, 2014 - 2021) The information contained in this document is the property of © IAE International Aero Engines AG and may not be copied or used for any purpose other than that for which it is supplied without the express written authority of © IAE International Aero Engines AG. (This does not preclude use by engine and aircraft operators for normal instructional, maintenance or overhaul purposes.).Applicability
All
Common Information
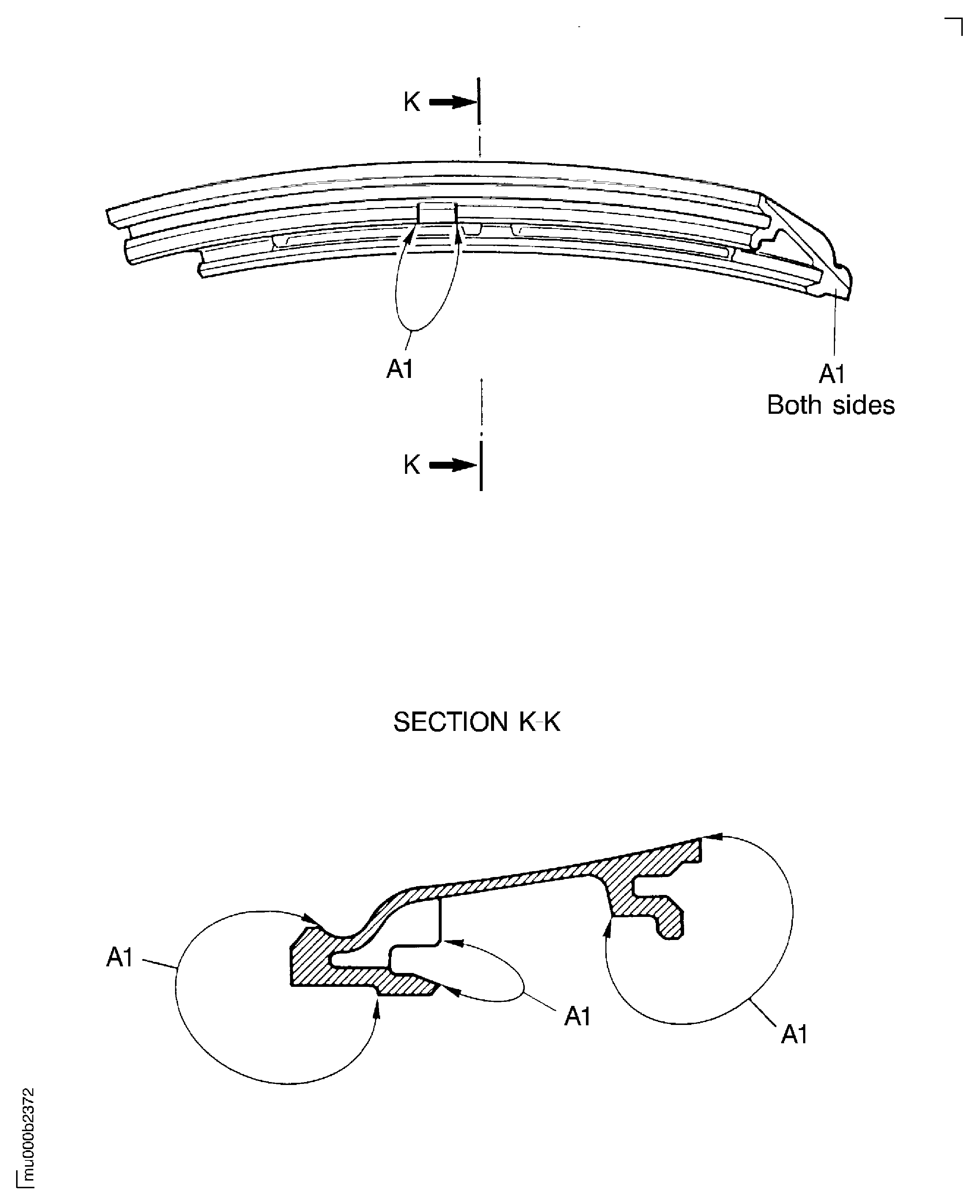
TASK 72-50-24-300-041 LPT Inner Diffuser Duct Segment - Overcoat The Aluminde Coating, Repair-041 (VRS4407)
Repair Facilities
The proprietary nature of this repair requires that any facility not authorized to accomplish this repair either, utilize the Authorized Repair Vendors listed below or contact the IAE Repair Services Group to determine if a qualification program can be initiated at their facility.
IAE INTERNATIONAL AERO ENGINES AG
400 Main Street
East Hartford CT 06108
USA
ATTN: Manager Repair Services
Authorized repair vendors for VRS4407 TASK 72-50-24-300-041 (REPAIR-041) are listed in the SPM TASK 70-38-10-380-501.
The designation by IAE of an authorized repair vendor indicates that the Repair vendor has demonstrated the necessary capability to enable it to carry out the listed Repair work. However, IAE makes no warranties or representations concerning the qualifications or quality standards of the Repair vendors to carry out the Repair work, and accepts no responsibility whatsoever for any work that may be carried out by a Repair vendor, other than when IAE is listed as the Repair vendor. Authorized repair vendors do not act as agents or representatives of IAE.
Before Repair remove the honeycomb, refer to VRS4409 TASK 72-50-24-300-043 (REPAIR-043).
After coating Repair install the honeycomb, refer to VRS4409 TASK 72-50-24-300-043 (72-50-24 REPAIR 043).
This repair may not be done twice consecutively.
NOTE
Preliminary Requirements
Pre-Conditions
NONESupport Equipment
NONEConsumables, Materials and Expendables
NONESpares
NONESafety Requirements
NONEProcedure
Refer to the SPM TASK 70-38-10-380-501.
Visually examine for vibro-engraved appropriate vendor source symblol.
SUBTASK 72-50-24-220-181 Do the Post repair Inspection
Figure: Overcoat the inner duct segment
Overcoat the inner duct segment

