Export Control
EAR Export Classification: Not subject to the EAR per 15 C.F.R. Chapter 1, Part 734.3(b)(3), except for the following Service Bulletins which are currently published as EAR Export Classification 9E991: SBE70-0992, SBE72-0483, SBE72-0580, SBE72-0588, SBE72-0640, SBE73-0209, SBE80-0024 and SBE80-0025.Copyright
© IAE International Aero Engines AG (2001, 2014 - 2021) The information contained in this document is the property of © IAE International Aero Engines AG and may not be copied or used for any purpose other than that for which it is supplied without the express written authority of © IAE International Aero Engines AG. (This does not preclude use by engine and aircraft operators for normal instructional, maintenance or overhaul purposes.).Applicability
All
Common Information
TASK 72-50-24-300-058 LPT Inner Diffuser Duct Support Ring - Weld Repair Front Faces, Repair-058 (VRS4550)
General
Price and availability - none
The practices and the processes referred to in the procedure by the TASK number are in the SPM.
NOTE
Preliminary Requirements
Pre-Conditions
NONESupport Equipment
| Name | Manufacturer | Part Number / Identification | Quantity | Remark |
|---|---|---|---|---|
| Turning lathe | LOCAL | Turning lathe | ||
| Grinding machine | LOCAL | Grinding machine |
Consumables, Materials and Expendables
| Name | Manufacturer | Part Number / Identification | Quantity | Remark |
|---|---|---|---|---|
| CoMat 03-184 WELDING FILLER WIRE, NICKEL | LOCAL | CoMat 03-184 |
Spares
NONESafety Requirements
NONEProcedure
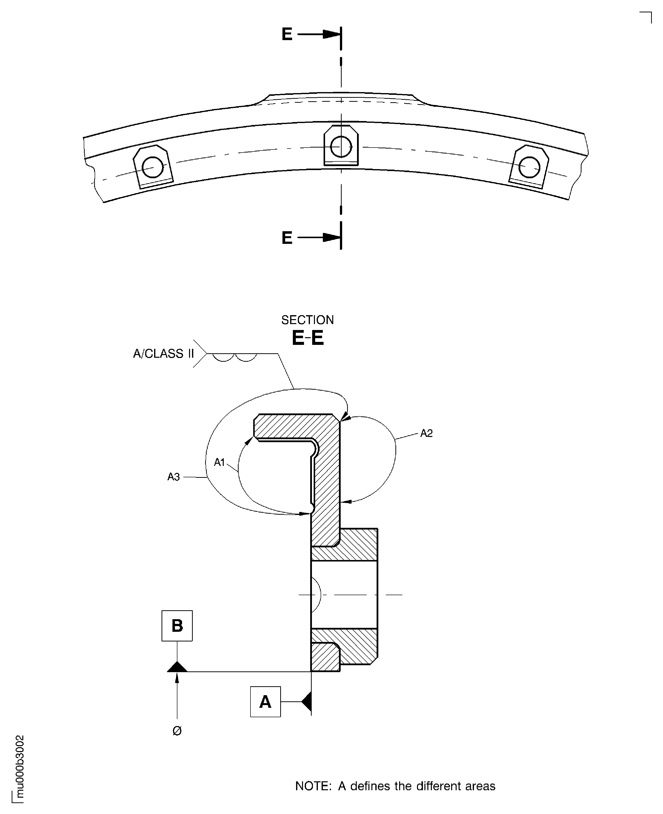
Refer to Figure.
Remove the old coating fully. Refer to VRS4466 TASK 72-50-24-300-053 (REPAIR-053).
SUBTASK 72-50-24-320-076 Remove the Coating
NOTE
If the rear face in area A2 was plasma sprayed before, remove the old coating fully. Refer to VRS4129 TASK 72-50-24-300-023 (REPAIR-023).Refer to the SPM TASK 70-11-34-300-503.
SUBTASK 72-50-24-110-164 Clean the Support Ring Assembly
Refer to Figure.
Refer to the SPM TASK 70-31-13-310-501. Use CoMat 03-184 WELDING FILLER WIRE, NICKEL. Make sure that there is sufficient material to do last machining. To prevent distortion, several weld passes should be made. Prevent too much temperature build-up.
SUBTASK 72-50-24-310-074 Weld Repair the Support Ring Assembly
Refer to Figure.
SUBTASK 72-50-24-320-077 Machine the Welded Area
Refer to the SPM TASK 70-37-00-370-501. Put the part in an oven for eight hours at 1450 to 1500 deg F (788 to 816 deg C). Use argon or vacuum. Cooling rate equivalent to air cooling.
SUBTASK 72-50-24-370-069 Heat Treatment after Weld Repair
Refer to the SPM TASK 70-23-05-230-501. Use medium sensivity level. No cracks are permitted.
SUBTASK 72-50-24-230-122 Examine the Welded Areas for Cracks
Refer to Figure.
SUBTASK 72-50-24-220-229 Examine the Machined Areas
Refer to VRS4466 TASK 72-50-24-300-053 (REPAIR-053).
SUBTASK 72-50-24-350-100 Do the Post Repair
NOTE
Restore the build up coating. Refer to VRS4129 TASK 72-50-24-300-023 (REPAIR-023) if it was removed before.
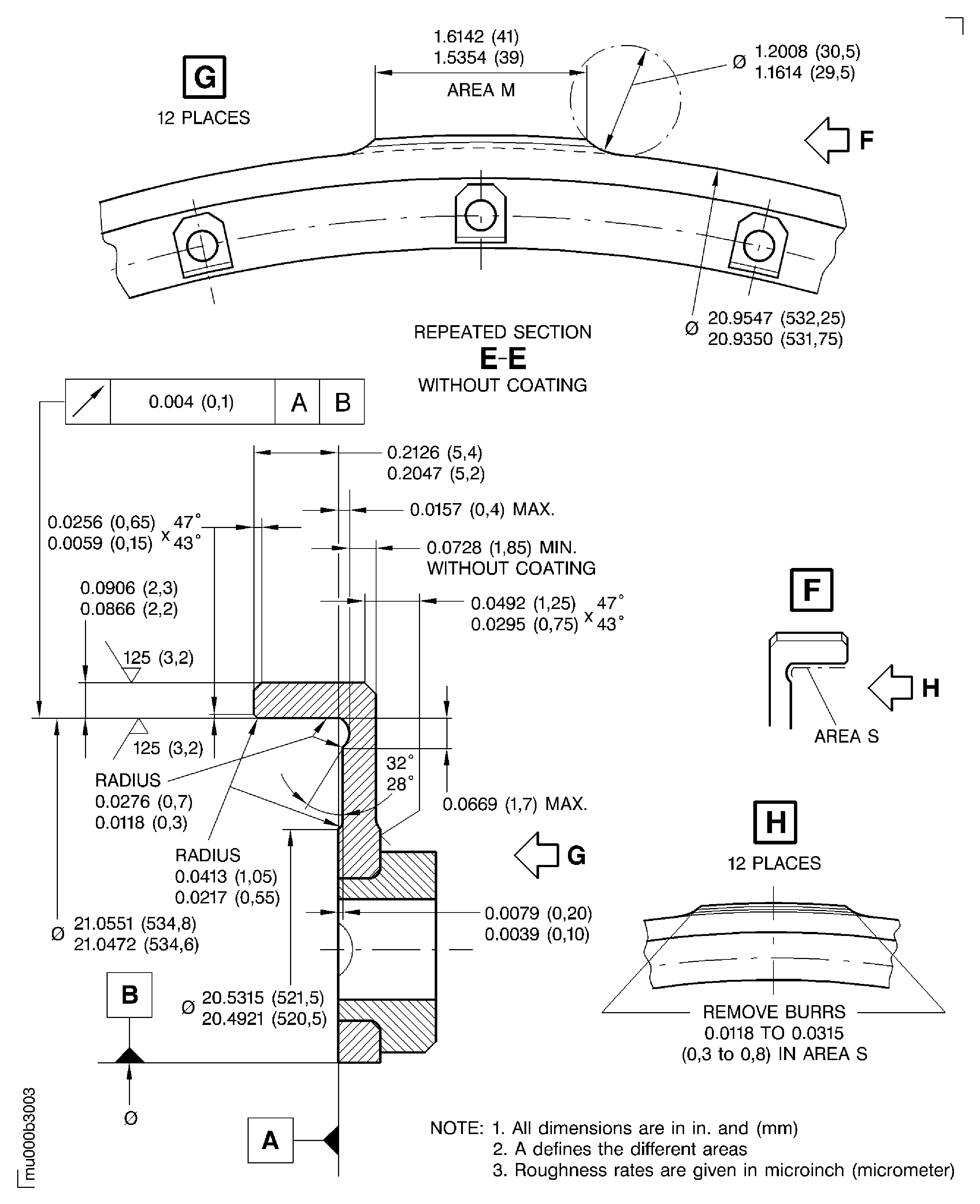
Figure: Repair Details and Dimensions
Repair Details and Dimensions

Figure: Repair Details and Dimensions
Repair Details and Dimensions

