Export Control
EAR Export Classification: Not subject to the EAR per 15 C.F.R. Chapter 1, Part 734.3(b)(3), except for the following Service Bulletins which are currently published as EAR Export Classification 9E991: SBE70-0992, SBE72-0483, SBE72-0580, SBE72-0588, SBE72-0640, SBE73-0209, SBE80-0024 and SBE80-0025.Copyright
© IAE International Aero Engines AG (2001, 2014 - 2021) The information contained in this document is the property of © IAE International Aero Engines AG and may not be copied or used for any purpose other than that for which it is supplied without the express written authority of © IAE International Aero Engines AG. (This does not preclude use by engine and aircraft operators for normal instructional, maintenance or overhaul purposes.).Applicability
All
Common Information
TASK 72-50-24-300-028 LPT Stage 3 Inner Air Seal Ring - Replace The Honeycomb Seal Segments, Repair-028 (VRS4134)
Material of Component
PART IDENT | SYMBOL | MATERIAL |
|---|---|---|
Stage 3 air seal ring | - | C263 |
Honeycomb seal segment | - | Hastelloy X |
General
Price and availability - none
The practices and processes referred to in the procedure by the TASK numbers are in the SPM.
NOTE
NOTE
NOTE
Preliminary Requirements
Pre-Conditions
NONESupport Equipment
| Name | Manufacturer | Part Number / Identification | Quantity | Remark |
|---|---|---|---|---|
| Belt grinder | LOCAL | Belt grinder | ||
| Fluid tank | LOCAL | Fluid tank | ||
| Furnace | LOCAL | Furnace | 2400 deg F (1315 deg C) | |
| Grinding machine | LOCAL | Grinding machine | ||
| IAE 3M14208 Grinding/turning fixture | 0AM53 | IAE 3M14208 | 1 | |
| IAE 3M14209 Spot welding fixture | 0AM53 | IAE 3M14209 | 1 | |
| IAE 3M14220 Cross slide table | 0AM53 | IAE 3M14220 | 1 | |
| IAE 3M14221 Electrode guide | 0AM53 | IAE 3M14221 | 1 | |
| IAE 3M14222 Electrode holder | 0AM53 | IAE 3M14222 | 1 | |
| IAE 3M14223 Universal joint electrode | 0AM53 | IAE 3M14223 | 1 | |
| IAE 3M14363 Spot welding fixture (rear) | 0AM53 | IAE 3M14363 | 1 | |
| Illuminated comparator magnifier | LOCAL | Illuminated comparator magnifier | ||
| Vertical turning lathe | LOCAL | Vertical turning lathe | ||
| Workshop inspection equipment | LOCAL | Workshop inspection equipment |
Consumables, Materials and Expendables
| Name | Manufacturer | Part Number / Identification | Quantity | Remark |
|---|---|---|---|---|
| CoMat 01-001 SOLVENT, DELETED | 0AM53 | CoMat 01-001 | ||
| CoMat 01-183 WETTING AGENT FOR ACIDCLEANER | 1XY28 | CoMat 01-183 | ||
| CoMat 02-142 WETTING AGENT | 08340 | CoMat 02-142 | ||
| CoMat 02-143 DELETED | 0AM53 | CoMat 02-143 | ||
| CoMat 02-144 BONDING AGENT | C7208 | CoMat 02-144 | ||
| CoMat 03-151 HIGH TEMP. BRAZING FILLERPOWDER | LOCAL | CoMat 03-151 | ||
| CoMat 03-227 WHITE STOP OFF | D3309 | CoMat 03-227 | ||
| CoMat 03-234 BRAZING FILLER TAPE | LOCAL | CoMat 03-234 | ||
| CoMat 10-061 STODDARD SOLVENT | LOCAL | CoMat 10-061 |
Spares
| Name | Manufacturer | Part Number / Identification | Quantity | Remark |
|---|---|---|---|---|
| 3A1586 HONEYCOMB SEAL SEGMENT | 3A1586 | 1 | FIG/ITEM - 01-296 | |
| 3A1587 HONEYCOMB SEAL SEGMENT | 3A1587 | 1 | FIG/ITEM - 01-306 |
Safety Requirements
NONEProcedure
Use Vertical turning lathe and IAE 3M14208 Grinding/turning fixture 1 off.
Remove the damaged honeycomb seal segments fully.
Keep material removal to the minimum to allow subsequent repairs.
To get this dimension it is permitted to let stay a braze thickness of 0.005 in. (0.13 mm).
Refer to Figure.
Machine off the worn honeycomb seal segments.
SUBTASK 72-50-24-325-053 Remove the Damaged Honeycomb Seal Segment
Refer to the SPM TASK 70-11-01-300-503.
Vapor degrease
SUBTASK 72-50-24-110-072 Clean the Air Seal Ring
Refer to the SPM TASK 70-23-03-230-501. No cracks are permitted.
Do the test for cracks.
SUBTASK 72-50-24-230-060-002 Examine the Air Seal Ring for Cracks
Use IAE 3M14220 Cross slide table 1 off and spot welding machine.
Install the IAE 3M14220 Cross slide table on to the spot welding machine.
Use IAE 3M14222 Electrode holder 1 off.
Install the IAE 3M14222 Electrode holder on to the spot welding machine.
Use IAE 3M14223 Universal joint electrode 1 off.
Make sure that the electrode insert with the mark "INNER" and "OUTER" (parts of the IAE 3M14223 Universal joint electrode) are installed.
Install the IAE 3M14223 Universal joint electrode on to the IAE 3M14222 Electrode holder.
Install the IAE 3M14221 Electrode guide onto the IAE 3M14220 Cross slide table.
Install the IAE 3M14209 Spot welding fixture onto the IAE 3M14221 Electrode guide.
Use IAE 3M14363 Spot welding fixture (rear) 1 off.
Install the IAE 3M14363 Spot welding fixture (rear) on to the IAE 3M14221 Electrode guide.
Apply CoMat 03-234 BRAZING FILLER TAPE to the air seal ring mating side of the honeycomb seal segment.
Use a roller or equivalent, roll tape in to honeycomb cells and remove backing.
Prepare the new honeycomb seal segments.
Align the honeycomb seal segments, refer to Figure.
Position the honeycomb seal segments on to the air seal ring.
Align the honeycomb seal segments, refer to Figure.
Position the honeycomb seal segments on to the air seal ring.
Make sure that the CoMat 03-151 HIGH TEMP. BRAZING FILLERPOWDER is applied equally around the honeycomb seal segments.
Apply CoMat 03-151 HIGH TEMP. BRAZING FILLERPOWDER to the honeycomb seal segments.
Safety the CoMat 03-151 HIGH TEMP. BRAZING FILLERPOWDER to the cells.
Apply the CoMat 03-227 WHITE STOP OFF around the edges of the air seal ring.
SUBTASK 72-50-24-310-052 Braze in the New Honeycomb Seals
NOTE
If CoMat 03-234 BRAZING FILLER TAPE is used perform Step to Step, if CoMat 03-151 HIGH TEMP. BRAZING FILLERPOWDER is used perform Step to Step.If you replace the rear honeycomb segment do not perform Step.If you replace the front honeycomb segment do not perform Step.Refer to the SPM TASK 70-11-01-300-503.
Vapor degrease
SUBTASK 72-50-24-110-074 Clean the Air Seal Ring
Use 200:1 mixture of water and CoMat 02-142 WETTING AGENT
or
1:1 mixture of CoMat 10-061 STODDARD SOLVENT and CoMat 02-143 DELETED
or
2500:1 mixture of water and CoMat 01-183 WETTING AGENT FOR ACIDCLEANER
or
1:1 mixture of CoMat 01-001 SOLVENT, DELETED and CoMat 10-061 STODDARD SOLVENT.
Prepare Fluid tank.
Remove the assembly from the Fluid tank.
Refer to TASK 70-31-07-310-501 except for the following:
No unbrazed honeycomb cells around the edges of the honeycomb segment are permitted.
Minimum space between unbonded areas exceeding 0.063 sqin (40.65 sqmm) should be 1.00 in. (25.4 mm).
No braze filled honeycomb cells are permitted.
Honeycomb wall thickness must not be increased by more than 0.001 in. (0.03 mm) in area above braze fillet.
Acceptance limits
SUBTASK 72-50-24-210-052 Examine the Brazed Honeycomb Seal
Put air seal ring in to an Furnace at 1450 to 1500 deg F (788 to 816 deg C) for eight hours.
Heating rate is not important.
Cool in atmosphere.
Precipitation heat-treat the air seal ring.
SUBTASK 72-50-24-370-052 Heat-treat the Air Seal Ring
Grind to the dimensions.
Refer to Figure.
Use IAE 3M14208 Grinding/turning fixture 1 off and Grinding machine.
Finish machine the honeycomb seal segments.
Refer to the SPM TASK 70-12-08-300-503 or use wire brush.
Deburr the honeycomb seal segments.
SUBTASK 72-50-24-325-054 Do the Post Repair
Refer to the SPM TASK 70-11-01-300-503.
Vapor degrease
SUBTASK 72-50-24-110-075 Clean the Air Seal Ring
Refer to the SPM TASK 70-09-00-400-501.
Electrolytically etch or vibro-peen VRS4134 adjacent to the part number.
Hardness to be 22 HRC minimum or equivalent.
If hardness is less than minimum specified, do a supplement heat-treat refer to Step.
Examine the air seal ring for hardness.
SUBTASK 72-50-24-220-101 Do the Post Repair Inspection
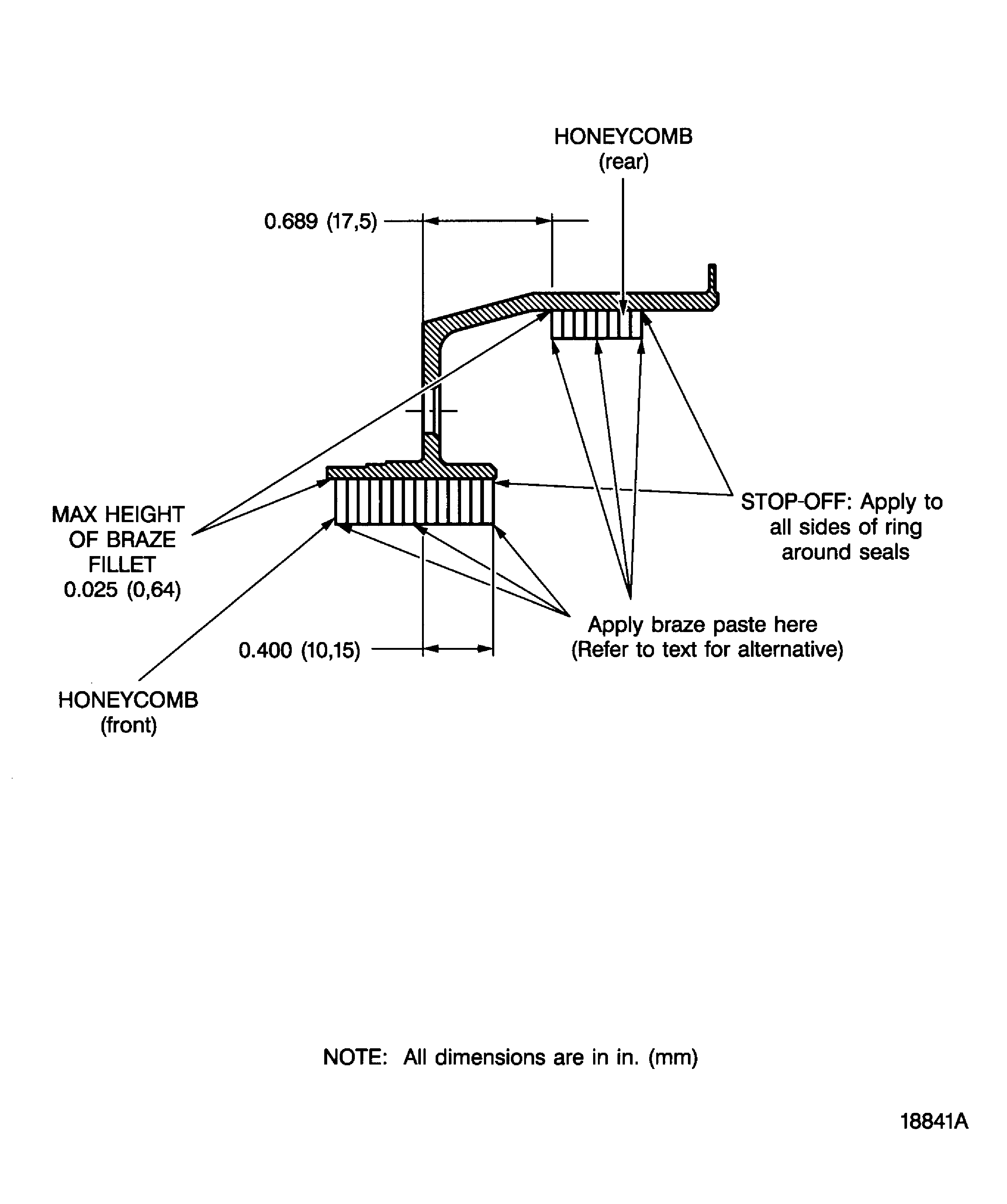
Figure: Replace the honeycomb seals of the air seal ring
Replace the honeycomb seals of the air seal ring

Replace the honeycomb seals of the air seal ring

Replace the honeycomb seals of the air seal ring

Figure: Special procedures for brazing the honeycomb seal segments of the air seal ring
Special procedures for brazing the honeycomb seal segments of the air seal ring

Figure: Heat-treatment cycles of the seal segments of the stage 3 air seal ring
Heat-treatment cycles of the seal segments of the stage 3 air seal ring

